Wednesday, September 21st, 2022 AT 11:00 AM
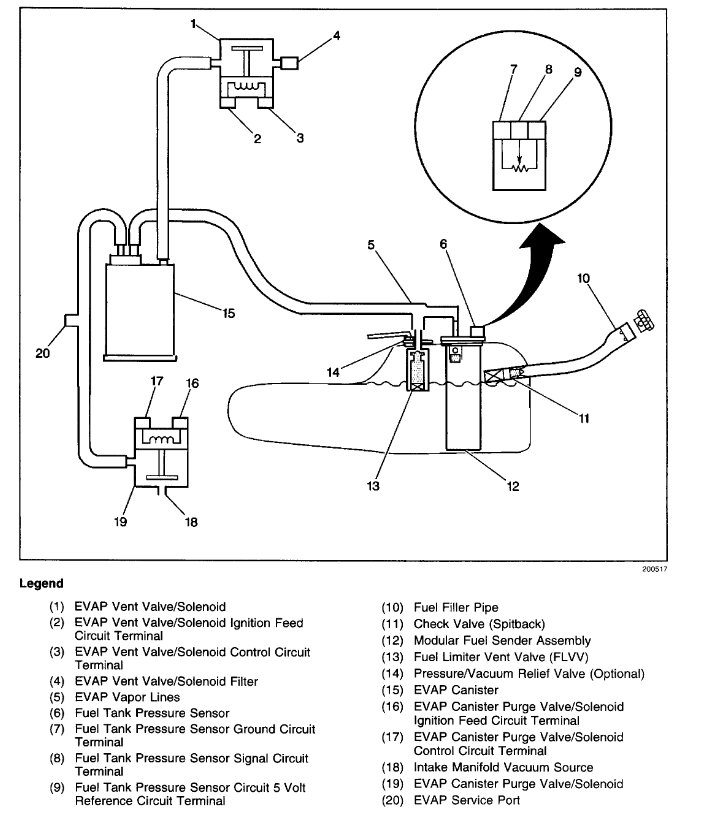
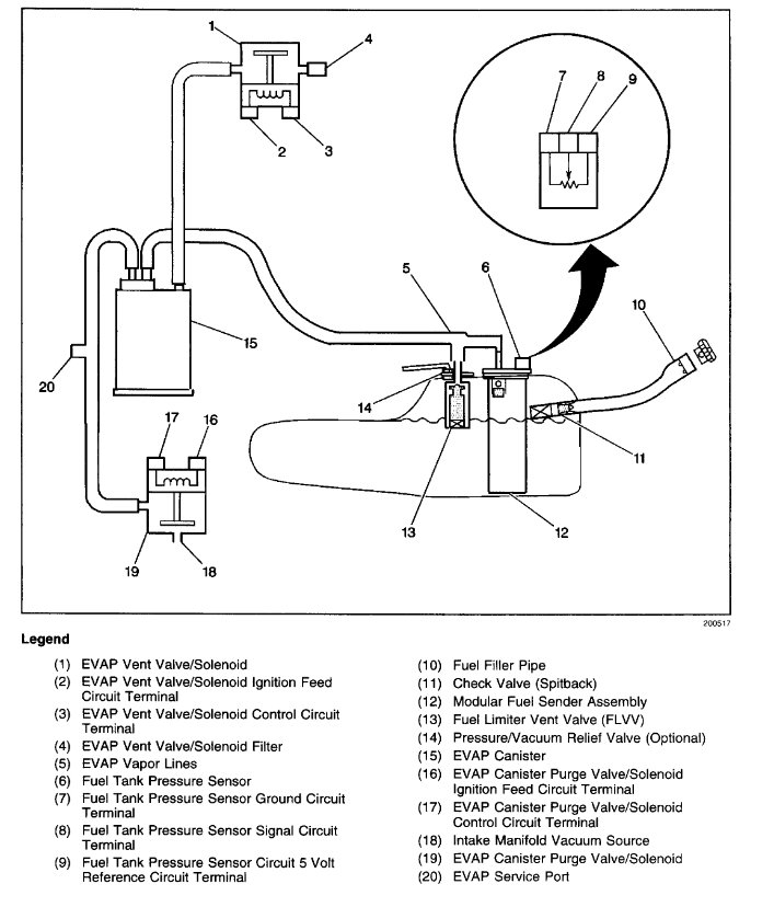
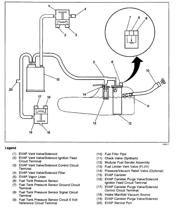
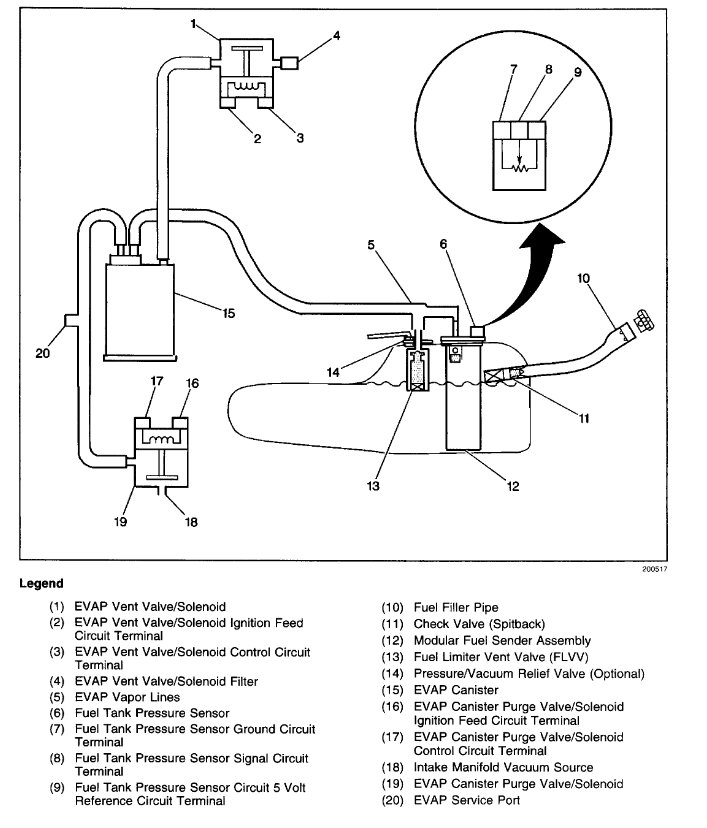
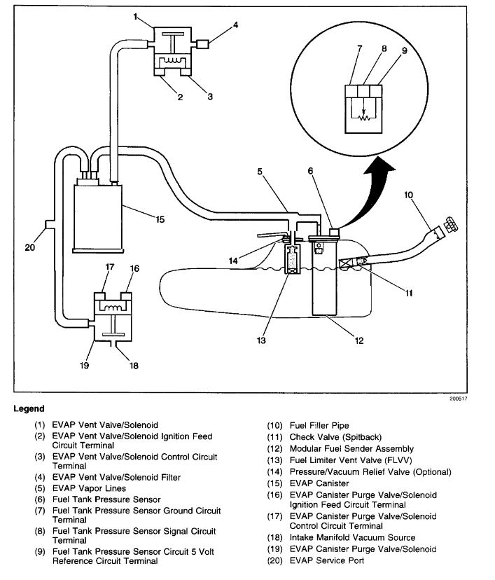
From the front of the vehicle the airport on the intake manifold that runs to the transmission is missing, I need to know where on the transmission it goes. I can't locate the transmission Port.



