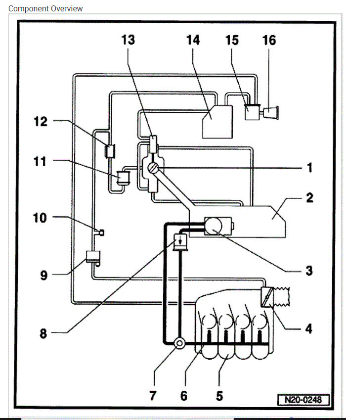
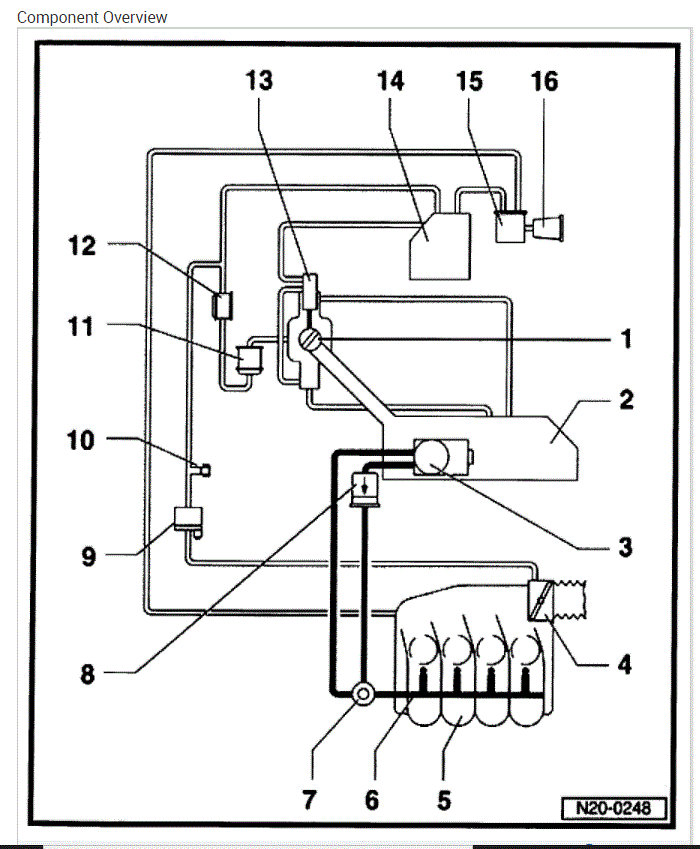
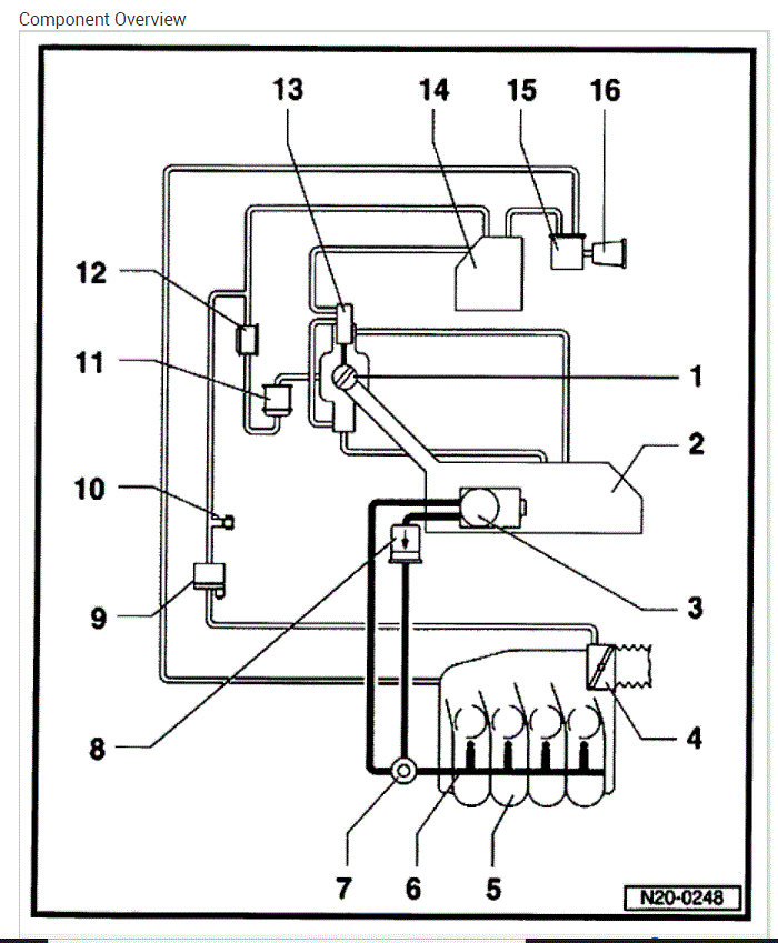
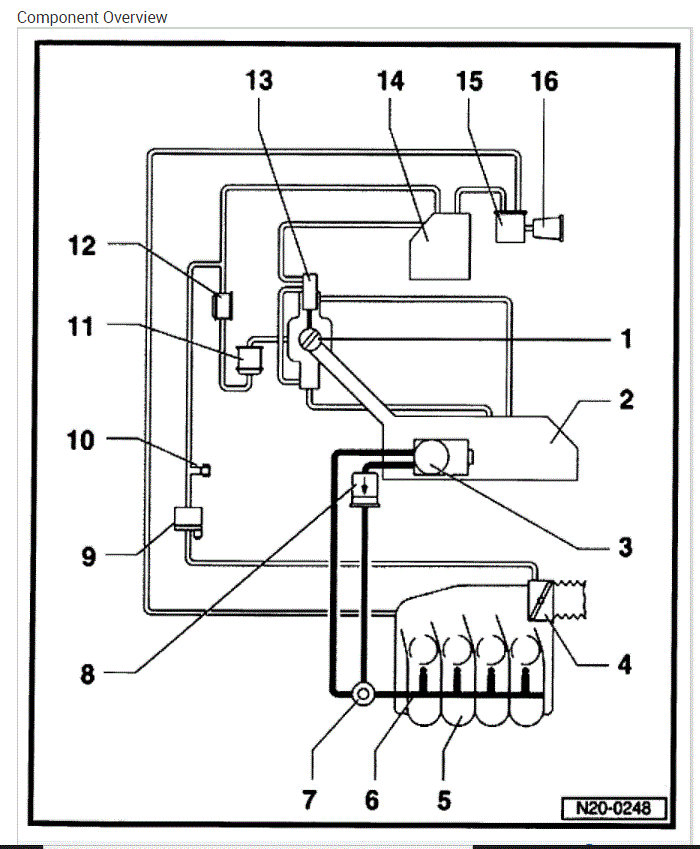
I wonder if someone could provide me with a detailed vacuum hose diagram showing hoses as they connect to components for my car listed above.
I have a couple of hoses that are not connected and I don't know wherever to put them. The label diagram for the vacuum tubing is worn off under the hood.
Car is running badly since I started replacing all the vacuum hoses but I must have messed up and I don't know where these last two hoses go.
I tried labeling them but actually one hose was not even connected to anything before I even started.
Here is photo on top of engine. With 2 hoses that look like they connect in middle to possible PCV valve?
Left side with duct tape goes into a hole in back of engine.
Thanks in advance if you could help me!
Friday, September 3rd, 2021 AT 6:31 PM




