Monday, March 29th, 2021 AT 12:38 AM
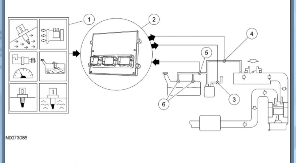
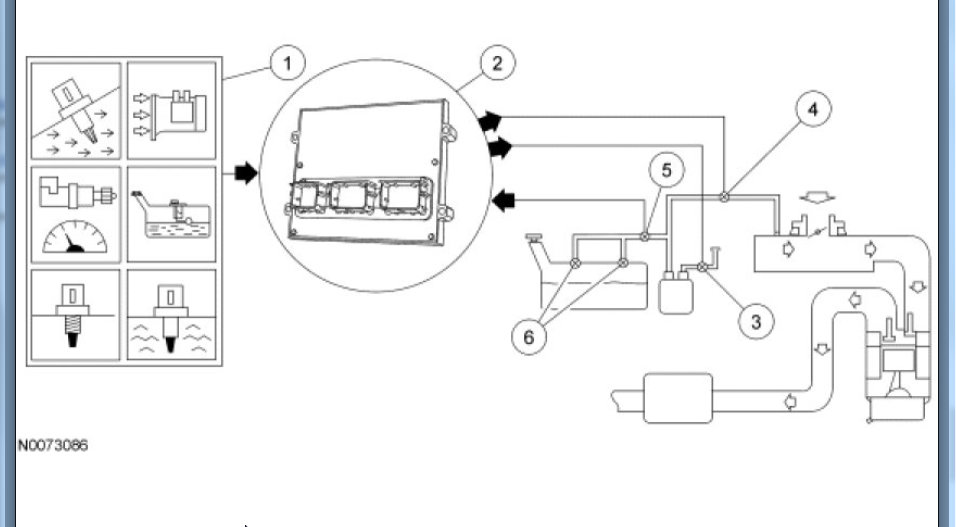
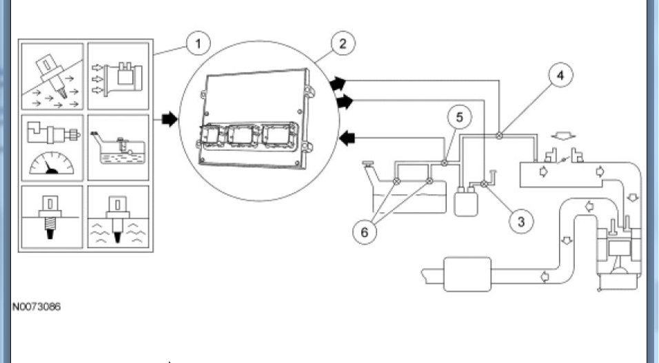
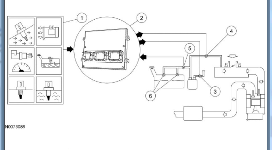
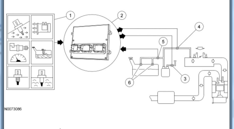
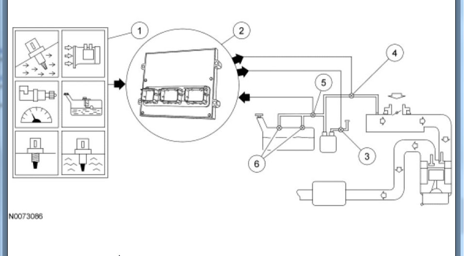
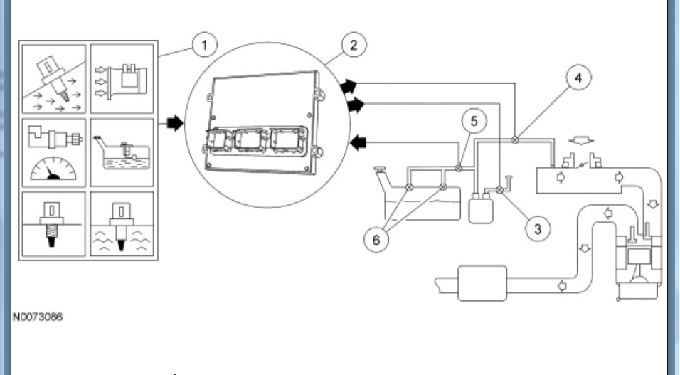
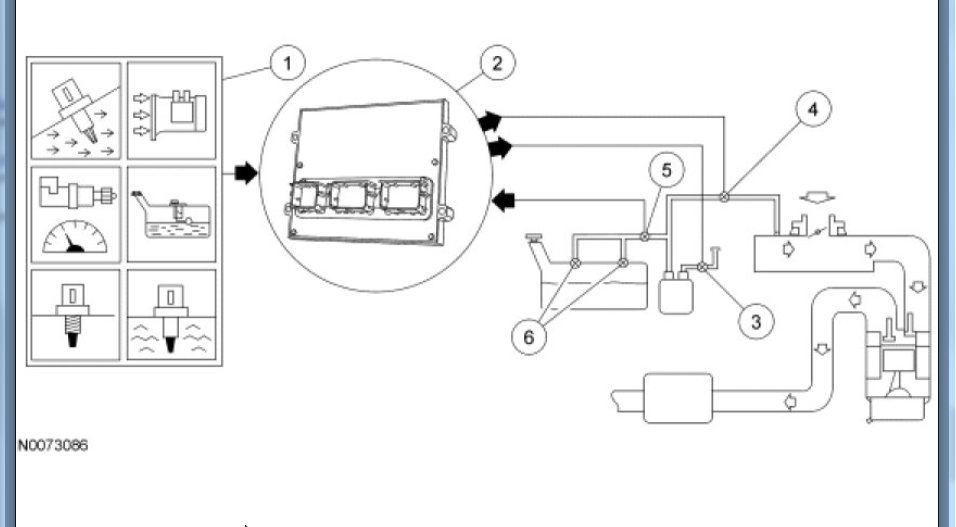
So I blew original motor some, so called friend said they could replace motor. Well, they cut hoses and i'm putting new/used motor in and am not sure on how lines hook-up. Any help is greatly appreciated. I've gotten everything else set in place except these hoses.








