Friday, March 14th, 2025 AT 12:21 AM
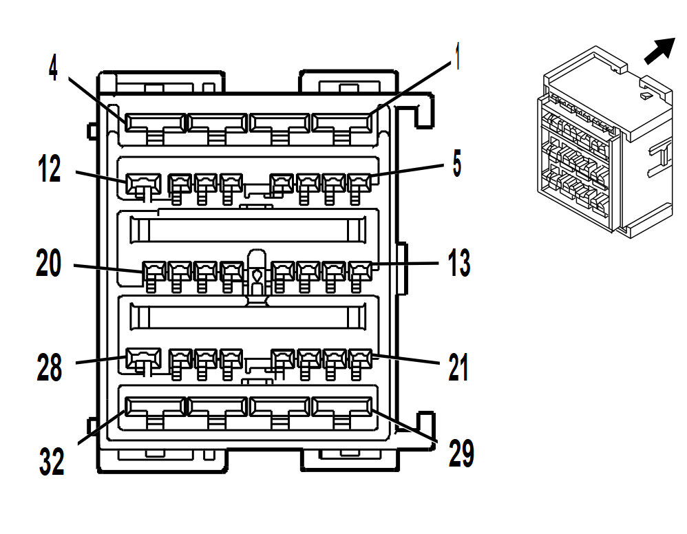
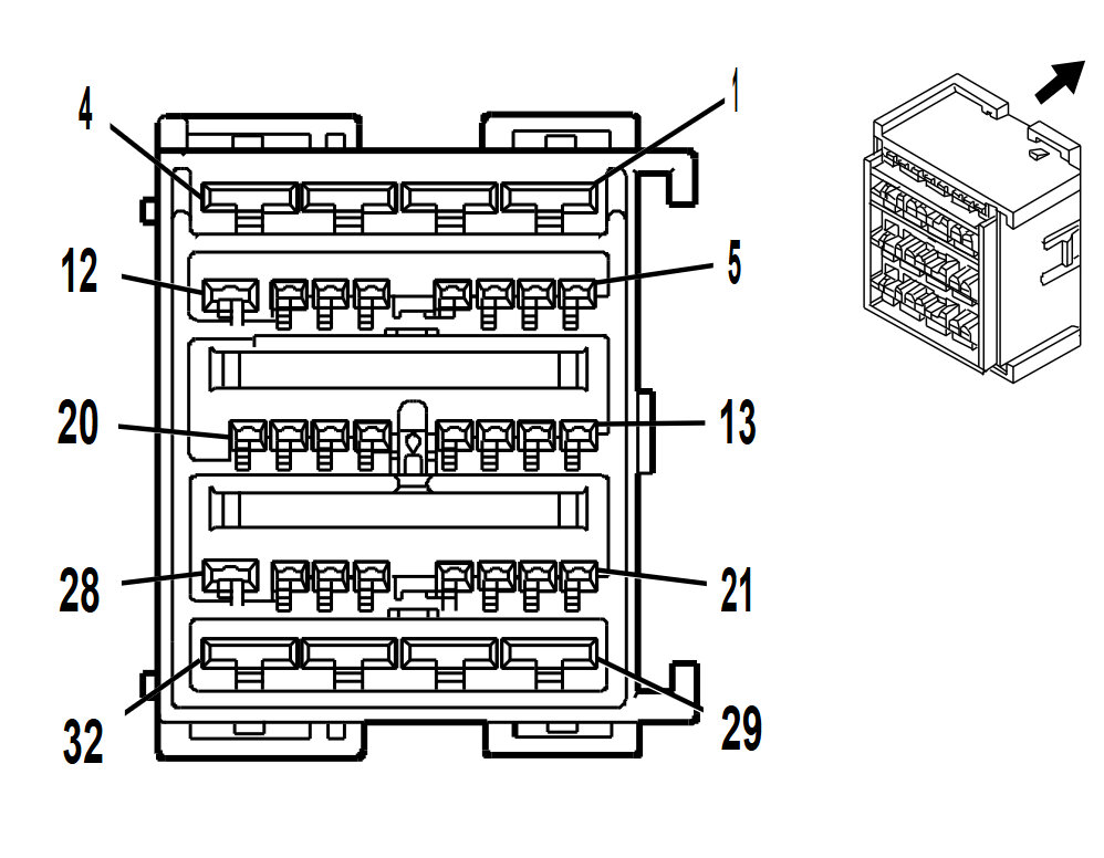
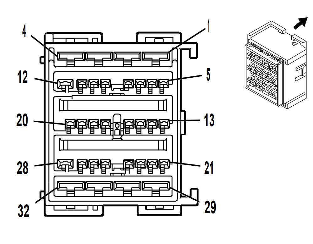
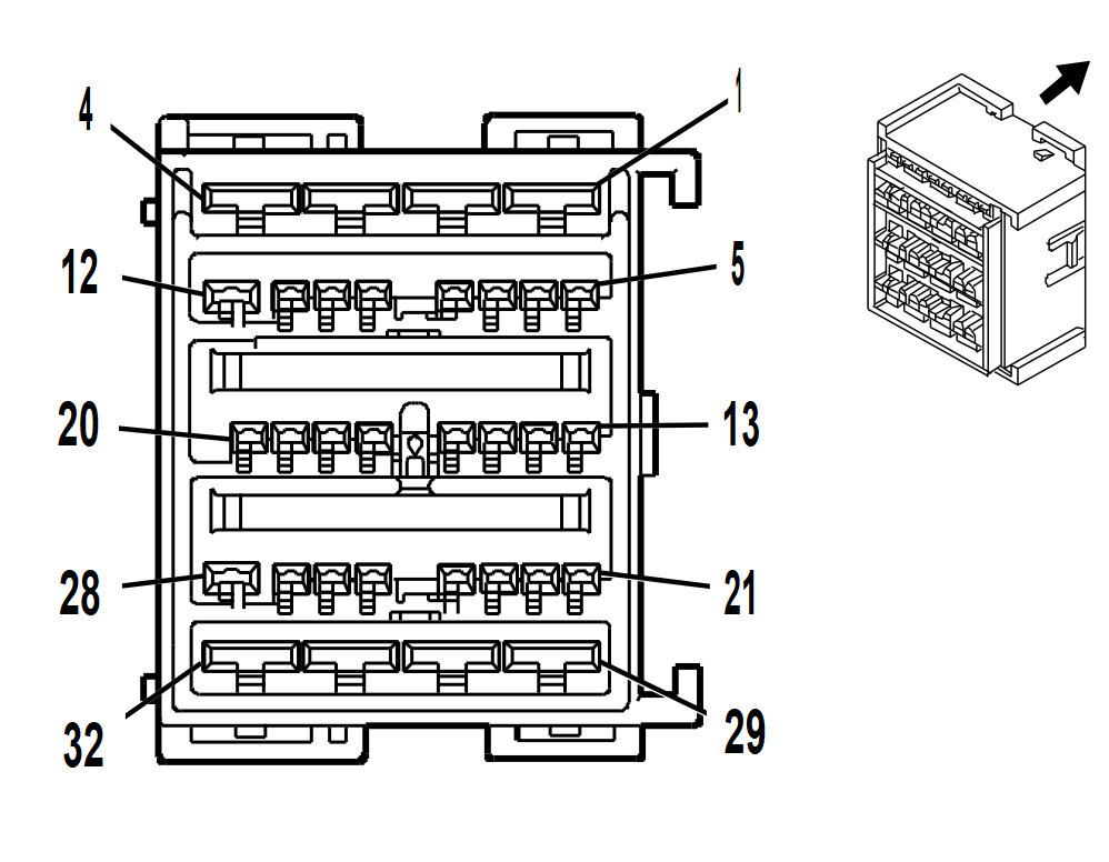
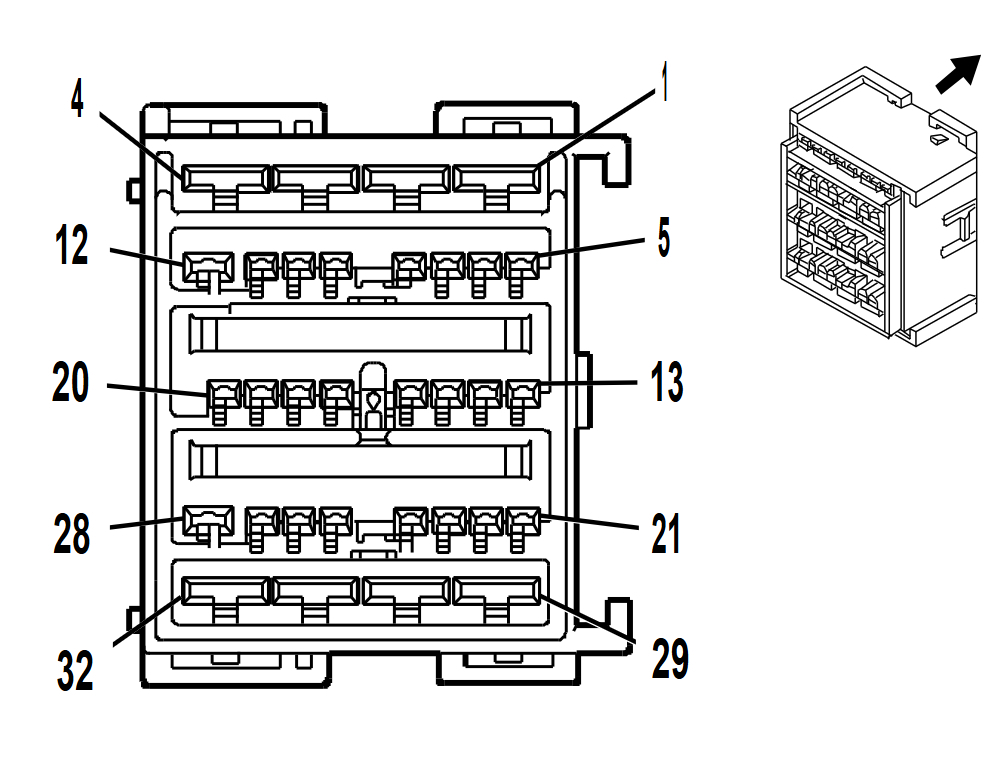
Can you please help me with the diagrams I need for my wiring harness for my vehicle listed above? Here is the VIN if you need more info. 1GKKVRED6BJ257868. The connectors, the pins that hook up underneath the fuse block and also the ends that meet under that. Please and thank you.

























