Truck has a hard downshift most of the time

Tiny
FISH 4102
  • MEMBER
  • 2007 DODGE RAM
  • 4.9L
  • V8
  • 2WD
  • AUTOMATIC
  • 200,000 MILES
Truck has a hard downshift most of the time when coming to a complete stop. Sometimes it won't do it but if done drop to a certain point it downshifts hard no other shifting issues everything else shifts perfect. Put new throttle position sensor on and it quit doing it for about a month it has started doing it again recently any help would be appreciated. Replaced MAP sensor and temperature sensor also.
Thursday, September 23rd, 2021 AT 7:38 PM

1 Reply

Tiny
JACOBANDNICKOLAS
  • MECHANIC
  • 110,194 POSTS
Hi,

This can be caused by a few different things. For example, you could have a partially plugged transmission cooler, there could be an issue with one of the shift solenoids, or even a pressure sensor issue.

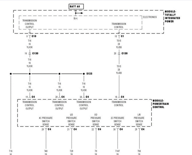
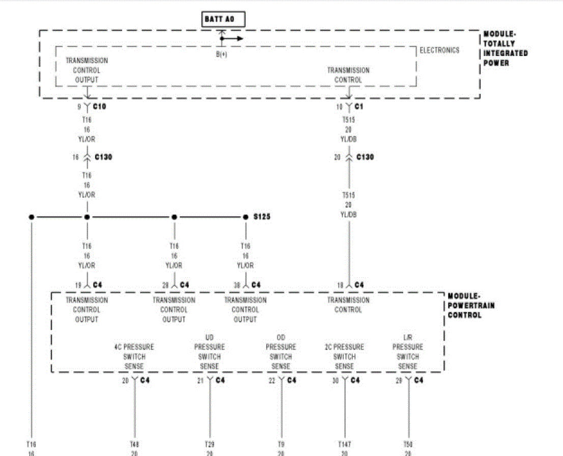
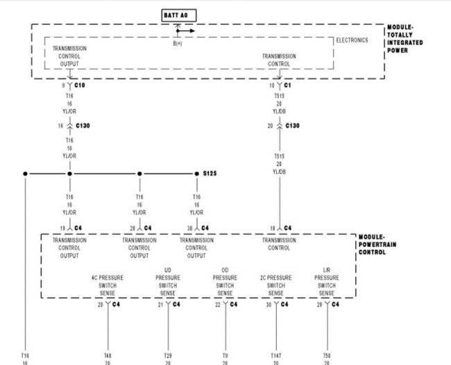
I attached the wiring schematic below for you to see the different electronics involved. Because there are several, I recommend having the can-bus system scanned. CAN stands for controller area network. Basically, all the different modules are tied together via a few wires. This type of scan will identify trouble codes regardless of the module storing them.

Here is a quick video showing it being done.

https://youtu.be/InIlnsjOVFA

Once you take a look at the schematics below, you'll see there are different possible causes. Without scanning, it becomes a guessing game.

Let me know if this helps or if you have other questions.

Take care.

Joe

See pics below. Note: The original schematic was one page. I had to cut it in half to make it readable for you. I did overlap the two so you can follow from one to the next.
Was this
answer
helpful?
Yes
No
Friday, September 24th, 2021 AT 7:15 PM

Please login or register to post a reply.