Traction control light keeps turning on, code U2023-E0

Tiny
DSDFOCUS
  • MEMBER
  • 2009 FORD FOCUS
  • 2.0L
  • TURBO
  • 2WD
  • AUTOMATIC
  • 120,000 MILES
Traction control keeps on popping up after a 30 minute drive. Car is limping on automatic shifting, having issues when speeding up. Had the car scanned U2023-E0 code, had the EGR cleaned. Need help
Thursday, July 23rd, 2020 AT 3:10 AM

6 Replies

Tiny
ASEMASTER6371
  • MECHANIC
  • 52,796 POSTS
God morning,

This is a communication issue between modules.

You will need an advanced scan tool and experience with the system to track the issue. This could be a simple as a connection issue or a module issue but needs to be verified.

I posted the description and possibilities for you to view.

Roy

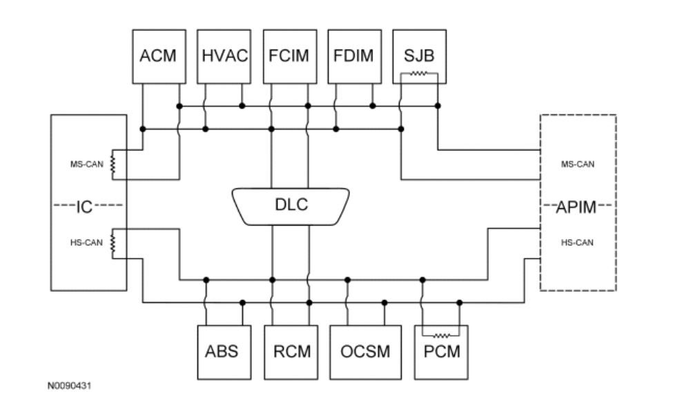
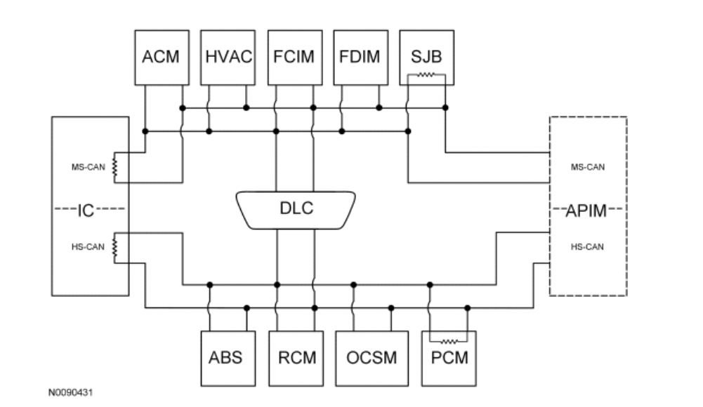
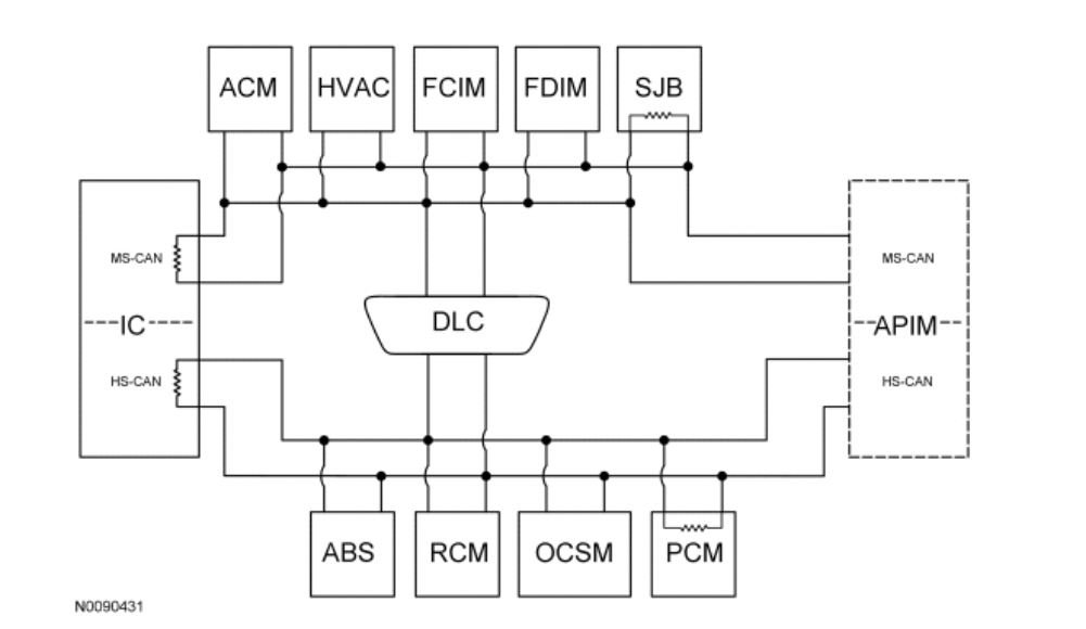
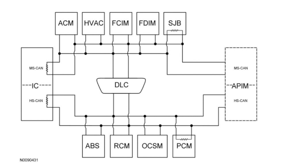
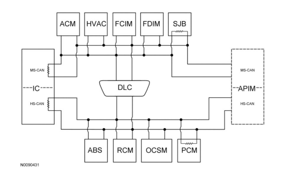
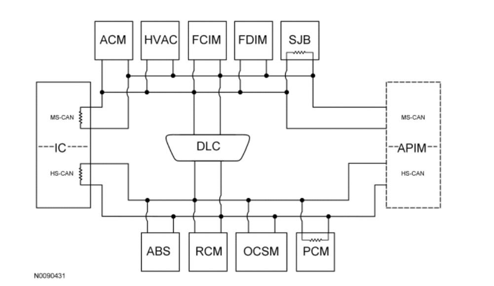
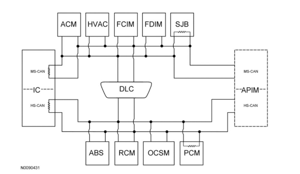
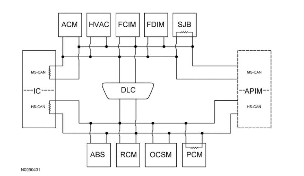
Communications Network
NOTE: The Smart Junction Box (SJB) is also known as the Generic Electronic Module (GEM).

Vehicle communication utilizes both High Speed (HS) and Medium Speed (MS) Controller Area Network (CAN) communications. CAN in-vehicle networking is a method for transferring data among distributed electronic modules via a serial data bus. Without serial networking, intermodule communication requires dedicated, point to point wiring resulting in bulky, expensive, complex, and difficult to install wiring harnesses. Applying a serial data network reduces the number of wires, combining the signals onto a single network. Information is sent to individual control modules that control each function.

The vehicle has 2 module communication networks:

High Speed Controller Area Network (HS-CAN)
Medium Speed Controller Area Network (MS-CAN)
Both networks are connected to the Data Link Connector (DLC). This makes diagnosis and testing of these systems easier by allowing one scan tool to be able to diagnose and control any module on both networks from one connector. The DLC can be found under the instrument panel.

Network Topology

imageOpen In New TabZoom/Print

Module Name Network Type Termination Module
ABS HS-CAN No
Accessory Protocol Interface Module (APIM) (if equipped) HS-CAN / MS-CAN No
Audio Control Module (ACM) MS-CAN No
Front Controls Interface Module (FCIM) MS-CAN No
Front Display Interface Module (FDIM) MS-CAN No
HVAC module MS-CAN No
Instrument Cluster (IC) (gateway module) HS-CAN MS-CAN Yes Yes
Occupant Classification System Module (OCSM) HS-CAN No
PCM HS-CAN Yes
Restraints Control Module (RCM) HS-CAN No
Smart Junction Box (SJB) MS-CAN Yes

Medium Speed Controller Area Network (MS-CAN) Operation

The MS-CAN communicates using bussed messages. The MS-CAN has an unshielded twisted pair cable, data bus (+) and data bus (-) circuits. In addition to scan tool communication, this network allows sharing of information between all modules on the network.

The MS-CAN is a medium speed communication network used for the following modules:

ACM
APIM (if equipped)
FCIM
FDIM
HVAC module
IC
SJB
High Speed Controller Area Network (HS-CAN) Operation

The HS-CAN communicates using bussed messages. The HS-CAN uses an unshielded twisted pair cable, data bus (+) and data bus (-) circuits. In addition to scan tool communication, this network allows sharing of information between all modules on the network.

The HS-CAN is a high speed communication network used for the following modules:

ABS module
APIM (if equipped)
IC
OCSM
PCM
RCM
Network Termination

The CAN uses a network termination circuit to improve communication reliability. The network termination of the CAN bus takes place inside the termination modules by termination resistors. Termination modules are located at either end of the bus network. As network messages are broadcast in the form of voltage signals, the network voltage signals are stabilized by the termination resistors. Each termination module has a 120 ohm resistor across the positive and negative bus connection in the termination module. With 2 termination modules on each network, and the 120 ohm resistors located in a parallel circuit configuration, the total network impedance, or total resistance is 60 ohms.

Network termination improves bus message reliability by:

stabilizing bus voltage.
Eliminating electrical interference.
Gateway Module

The IC is the gateway module, translating HS-CAN to MS-CAN and vice versa. This information allows a message to be distributed throughout both networks. The IC is the only module on this vehicle that has this ability.
Was this
answer
helpful?
Yes
No
Thursday, July 23rd, 2020 AT 5:55 AM
Tiny
JACOBANDNICKOLAS
  • MECHANIC
  • 110,192 POSTS
Hi,

DTC U2023 is set when a module receives invalid network data from another module with a faulted input. One of the modules that is part of this network is the ABS module, which will affect traction control.

What needs done is the CAN bus system needs scanned to check which module is causing the problem. CAN stands for controller/computer area network. In this network, all modules are tied together and work in conjunction with each other. One of the modules is not communicating with the others.

Here is a video that explains how to scan the CAN bus system. In this case, this is what needs done.

https://youtu.be/InIlnsjOVFA

Let me know if this helps.

Take care,
Joe
Was this
answer
helpful?
Yes
No
Thursday, July 23rd, 2020 AT 5:59 AM
Tiny
DSDFOCUS
  • MEMBER
  • 3 POSTS
Hello,

I had this scanned earlier, I was advised by the mechanic to clean the EGR, since there was a check engine at that time. However, he was not able to troubleshoot the traction control. Please see attached photos for the earlier scan, by the way the check engine has been deleted. The traction control will pop up in a 20-30 minute drive, it can only be removed once I switch off the engine. But again, once I start driving, it will show up. I will probably have this scanned again, for a 2nd opinion. Thank you for the responses and any further help would be appreciated.

Thanks,
Dan
Was this
answer
helpful?
Yes
No
Thursday, July 23rd, 2020 AT 6:39 AM
Tiny
ASEMASTER6371
  • MECHANIC
  • 52,796 POSTS
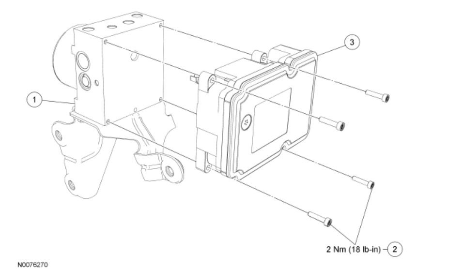
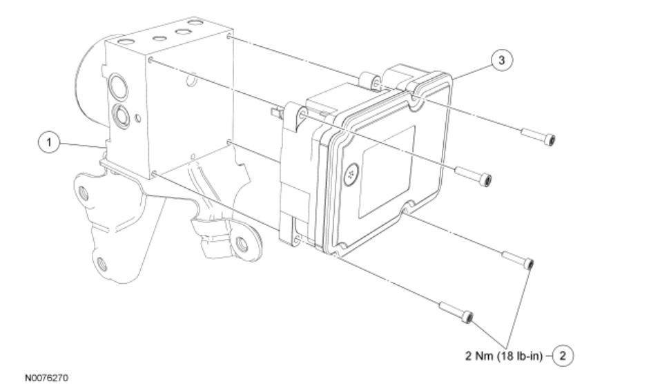
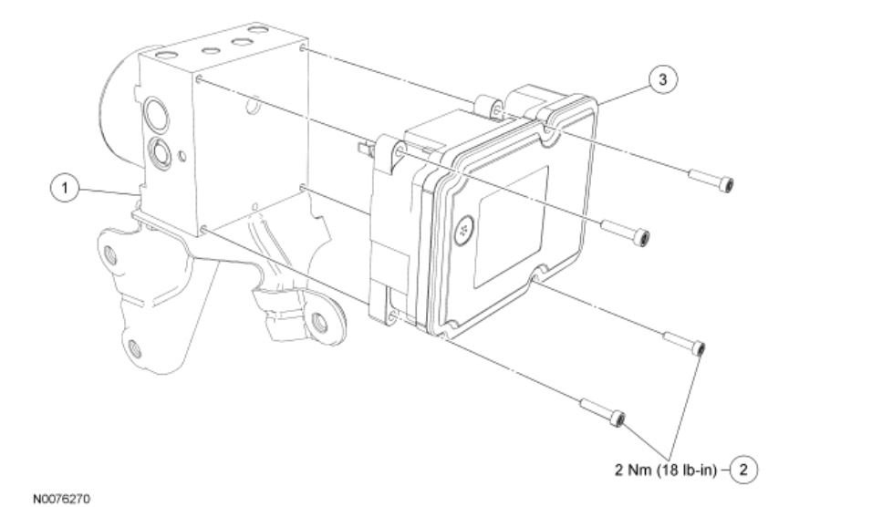
This is part of the ABS system. That is why it goes away and comes back when you drive it. The ABS resets each time you turn it off. Once you have it repaired, the code will clear itself. If it does not clear, the repair was not correct.

In a lot of cases, it is the ABS module itself but it needs to be confirmed. That is why the diagnostics need to be performed to confirm.

https://www.2carpros.com/articles/bad-catalytic-converter-symptoms

I would check the connections at the ABS module to be sure it is not a connection issue.

Roy
Was this
answer
helpful?
Yes
No
+2
Thursday, July 23rd, 2020 AT 7:08 AM
Tiny
DSDFOCUS
  • MEMBER
  • 3 POSTS
Hi Roy,

Thanks for the help, will find a mechanic who will be able to troubleshoot/diagnose the ABS.

Thank you,
Dan
Was this
answer
helpful?
Yes
No
Thursday, July 23rd, 2020 AT 7:18 AM
Tiny
ASEMASTER6371
  • MECHANIC
  • 52,796 POSTS
You are welcome.

Always glad to help.

Roy
Was this
answer
helpful?
Yes
No
Thursday, July 23rd, 2020 AT 7:35 AM

Please login or register to post a reply.