Firing order?

Tiny
WASIM KHAN
  • MEMBER
  • 2003 TOYOTA CAMRY
I want to know the firing order of this model?
Thursday, October 30th, 2008 AT 3:30 AM

19 Replies

Tiny
BLUELIGHTNIN6
  • MECHANIC
  • 16,542 POSTS
Firing order is 1-3-4-2. Number 1 is on the passenger side, 4 is on the driver side. Here are the firing orders for both 4 and 6 cylinder engines. Check out the images (Below). Please let us know if you need anything else to get the problem fixed.
Was this
answer
helpful?
Yes
No
+9
Thursday, October 30th, 2008 AT 3:56 AM
Tiny
CRAIGRICE
  • MEMBER
  • 1 POST
  • 1995 TOYOTA CAMRY
  • 2.2L
  • 4 CYL
  • 2WD
  • AUTOMATIC
Firing order - plug wire order in the distributor cap?
Was this
answer
helpful?
Yes
No
+6
Thursday, September 24th, 2020 AT 11:56 AM (Merged)
Tiny
HMAC300
  • MECHANIC
  • 48,601 POSTS
Hello,

Here is the engine ignition firing order so you can get back on the road. Firing order is 1-3-4-2 Check out the diagrams (Below). Please let us know if you need anything else to get the problem fixed.
Was this
answer
helpful?
Yes
No
+21
Thursday, September 24th, 2020 AT 11:57 AM (Merged)
Tiny
KCGJ0406
  • MEMBER
  • 1 POST
  • 1995 TOYOTA CAMRY
  • 2.2L
  • 4 CYL
  • 2WD
  • AUTOMATIC
  • 301,500 MILES
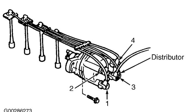
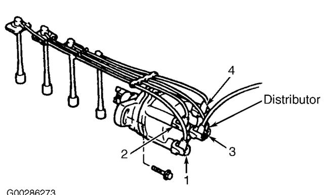
After researching I know that the firing order is 1342, but what do I do with that information? My wife had a friend replace the spark plugs, distributor cap, and rotor. It has been running rough ever since. Attaching a diagram.

Kavin C
Was this
answer
helpful?
Yes
No
Thursday, September 24th, 2020 AT 11:57 AM (Merged)
Tiny
ASEMASTER6371
  • MECHANIC
  • 52,796 POSTS
Good afternoon.

Attached is a diagram for you to view for the cap and where all the wires go.

He may have them crossed or maybe he did not gap the plugs correctly.

Roy
Was this
answer
helpful?
Yes
No
+1
Thursday, September 24th, 2020 AT 11:57 AM (Merged)
Tiny
RICK FUSARO
  • MEMBER
  • 2 POSTS
  • 1996 TOYOTA CAMRY
  • 2.2L
  • 4 CYL
  • 305,290 MILES
Changed plugs wires and distributor is miss firing when you start. I think wires are in the wrong place. From standing in front of car what is firing order?
Was this
answer
helpful?
Yes
No
-1
Thursday, September 24th, 2020 AT 11:57 AM (Merged)
Tiny
WRENCHTECH
  • MECHANIC
  • 20,761 POSTS
Check the direction of the rotation of the distributor. Bring number one up on TDC and you can look at the rotor position to determine which one is number one.

https://www.2carpros.com/images/external/107336979.gif
Was this
answer
helpful?
Yes
No
+5
Thursday, September 24th, 2020 AT 11:57 AM (Merged)
Tiny
TOMSKI68
  • MEMBER
  • 2 POSTS
  • 1996 TOYOTA CAMRY
1996 Toyota Camry 4 cyl

fireing order is 1 on passenger side or drivers side
Was this
answer
helpful?
Yes
No
+1
Thursday, September 24th, 2020 AT 11:57 AM (Merged)
Tiny
OBXAUTOMEDIC
  • MECHANIC
  • 3,711 POSTS
Hello,

here is the firing order.....

start from front of engine....


https://www.2carpros.com/forum/automotive_pictures/188069_96toyfirordr_1.gif



.
Was this
answer
helpful?
Yes
No
+13
Thursday, September 24th, 2020 AT 11:57 AM (Merged)
Tiny
RICK FUSARO
  • MEMBER
  • 2 POSTS
New plugs wires cap n still runs rough did not replace rotor gaped plugs .44 1996 Camry le 2.2 liter engine lite on Rick
Was this
answer
helpful?
Yes
No
+2
Thursday, September 24th, 2020 AT 11:57 AM (Merged)
Tiny
CACA
  • MEMBER
  • 1 POST
  • 1995 TOYOTA CAMRY
  • 4 CYL
  • FWD
  • AUTOMATIC
  • 100,000 MILES
Need firing order
Was this
answer
helpful?
Yes
No
+1
Thursday, September 24th, 2020 AT 11:57 AM (Merged)
Tiny
MHPAUTOS
  • MECHANIC
  • 31,937 POSTS
Hi there,

the firing order is 1.3.4.2.

Mark (MHPAUTOS)
Was this
answer
helpful?
Yes
No
+10
Thursday, September 24th, 2020 AT 11:57 AM (Merged)
Tiny
SHADIZAR
  • MEMBER
  • 1 POST
  • 1991 TOYOTA CAMRY
Engine Performance problem
1991 Toyota Camry 6 cyl Front Wheel Drive Automatic

could someone please tell me the firing order for a 1991 camry v6?
Was this
answer
helpful?
Yes
No
Thursday, September 24th, 2020 AT 11:57 AM (Merged)
Tiny
RASMATAZ
  • MECHANIC
  • 75,992 POSTS


https://www.2carpros.com/forum/automotive_pictures/12900_fo_144.jpg

Was this
answer
helpful?
Yes
No
+3
Thursday, September 24th, 2020 AT 11:57 AM (Merged)
Tiny
MYCARNEEDSHELP89
  • MEMBER
  • 1 POST
  • 1989 TOYOTA CAMRY
  • 175,500 MILES
What is the proper timing setting for a 1989 Toyota Camry with a 3.0L V6 engine and what is the correct firing order? It is a station wagon if that makes a difference. I replaced the exhaust system from the catalytic converter to the muffler and found the timing to be ruff, I replaced the cap rotor plugs and wires with all NGK parts and it is still idling ruff.
Was this
answer
helpful?
Yes
No
Saturday, September 26th, 2020 AT 12:51 PM (Merged)
Tiny
RASMATAZ
  • MECHANIC
  • 75,992 POSTS
See below for the engine firing order the timing is - Ignition timing is 10 deg BTDC Check out the diagrams (Below). Please let us know if you need anything else to get the problem fixed. Cheers
Was this
answer
helpful?
Yes
No
+2
Saturday, September 26th, 2020 AT 12:51 PM (Merged)
Tiny
MHPAUTOS
  • MECHANIC
  • 31,937 POSTS
Before you set the timing make sure that the check wire is in, see pic below.
Was this
answer
helpful?
Yes
No
Saturday, September 26th, 2020 AT 12:51 PM (Merged)
Tiny
CHAPMAN06
  • MEMBER
  • 1 POST
Hi. I have a 1996 2.2L 4 cylinder. I took out the spark plug wires and forgot the replacement order.
Was this
answer
helpful?
Yes
No
+1
Saturday, November 28th, 2020 AT 12:11 PM
Tiny
KASEKENNY
  • MECHANIC
  • 18,907 POSTS
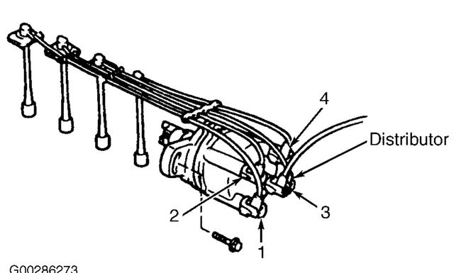
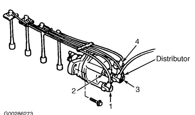
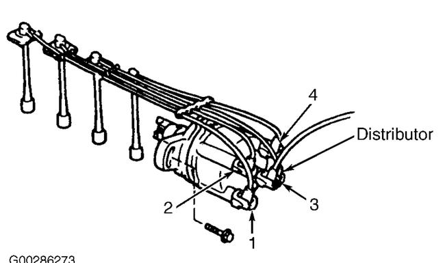
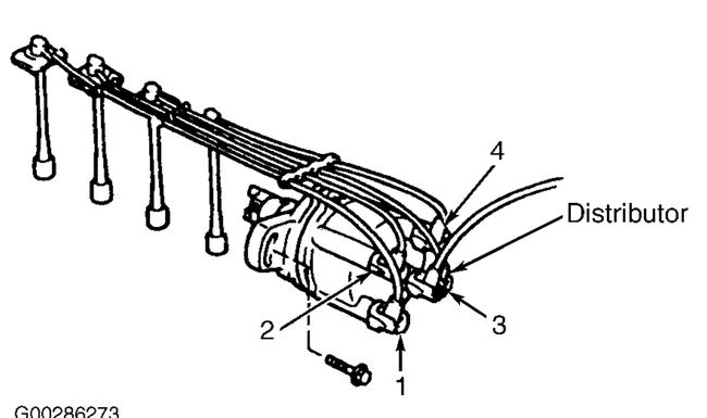
Attached is the firing order for the 2.2L. Let us know if you need more info. Thanks
Was this
answer
helpful?
Yes
No
+1
Saturday, November 28th, 2020 AT 4:40 PM

Please login or register to post a reply.