Wednesday, January 15th, 2025 AT 7:48 PM
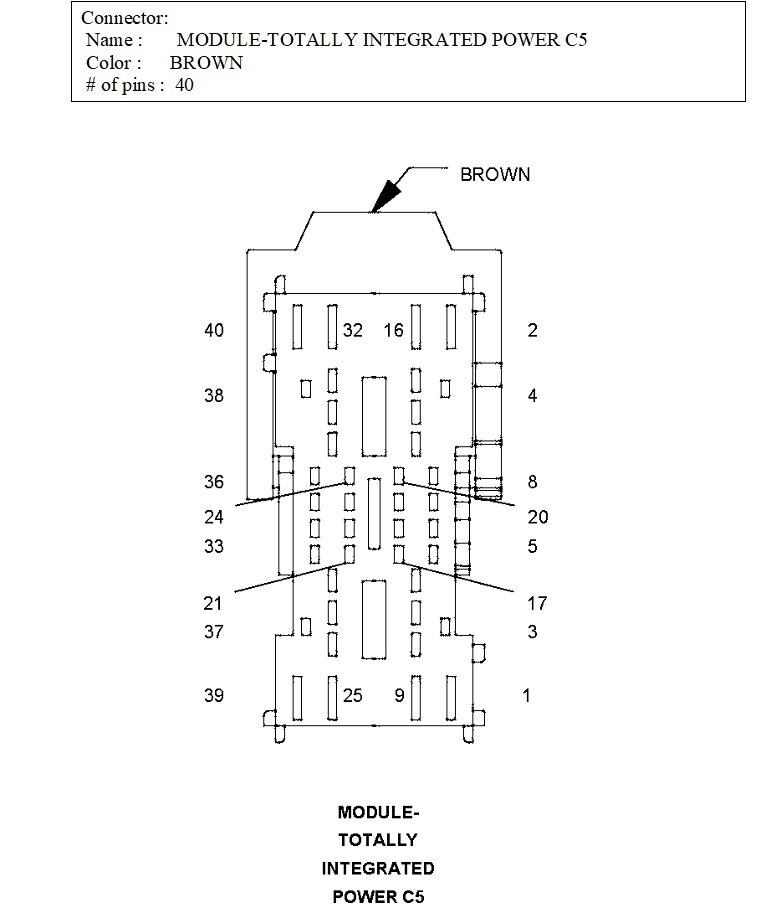
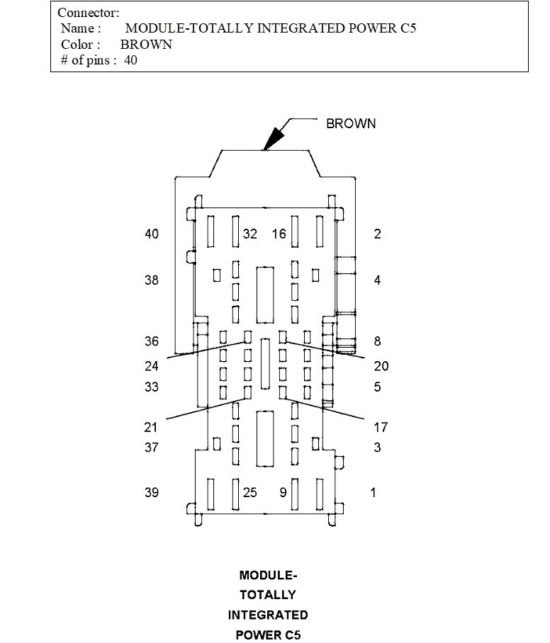
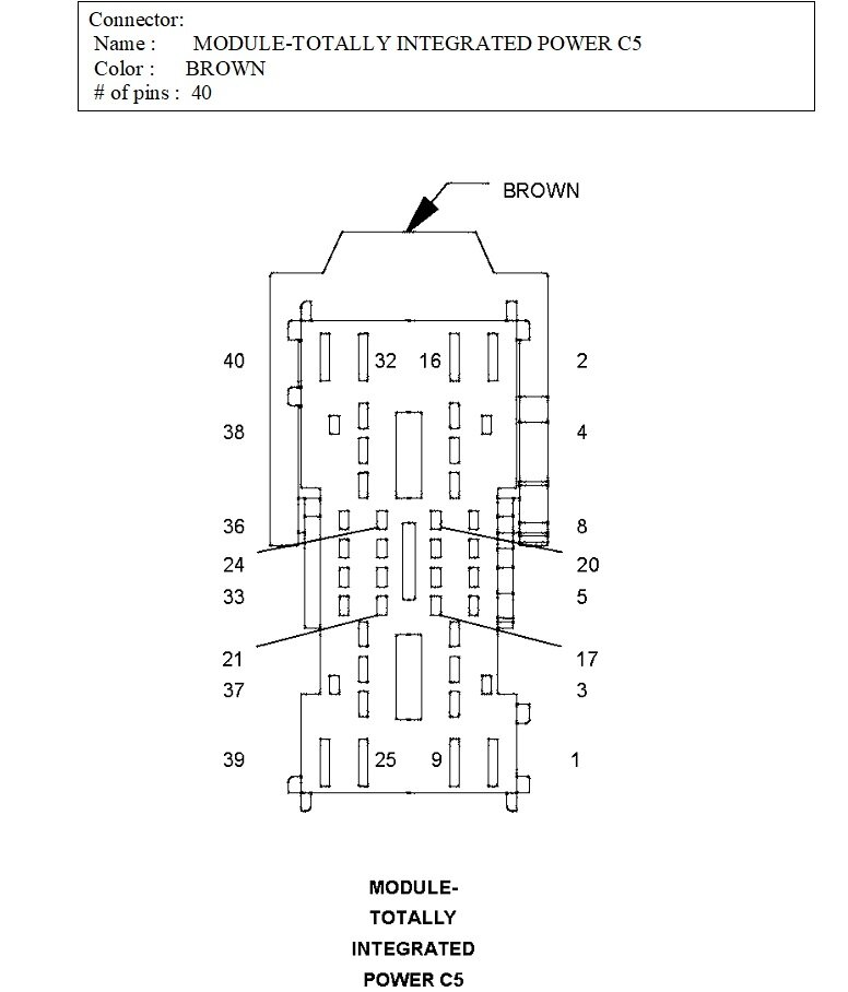
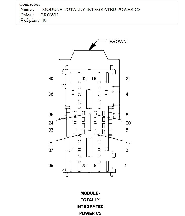
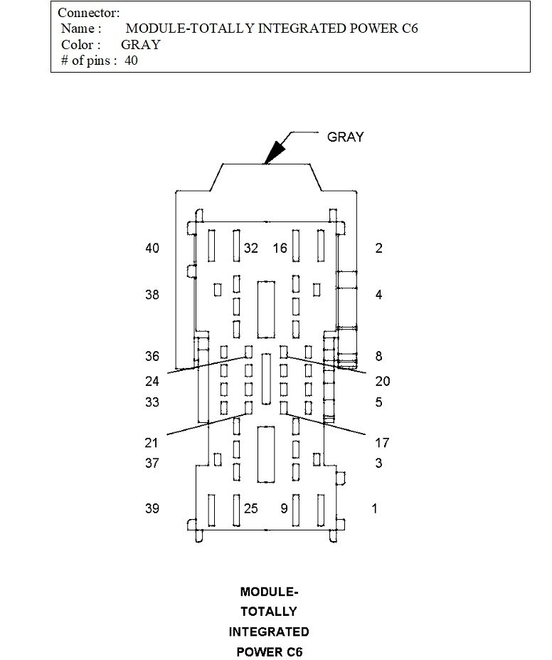
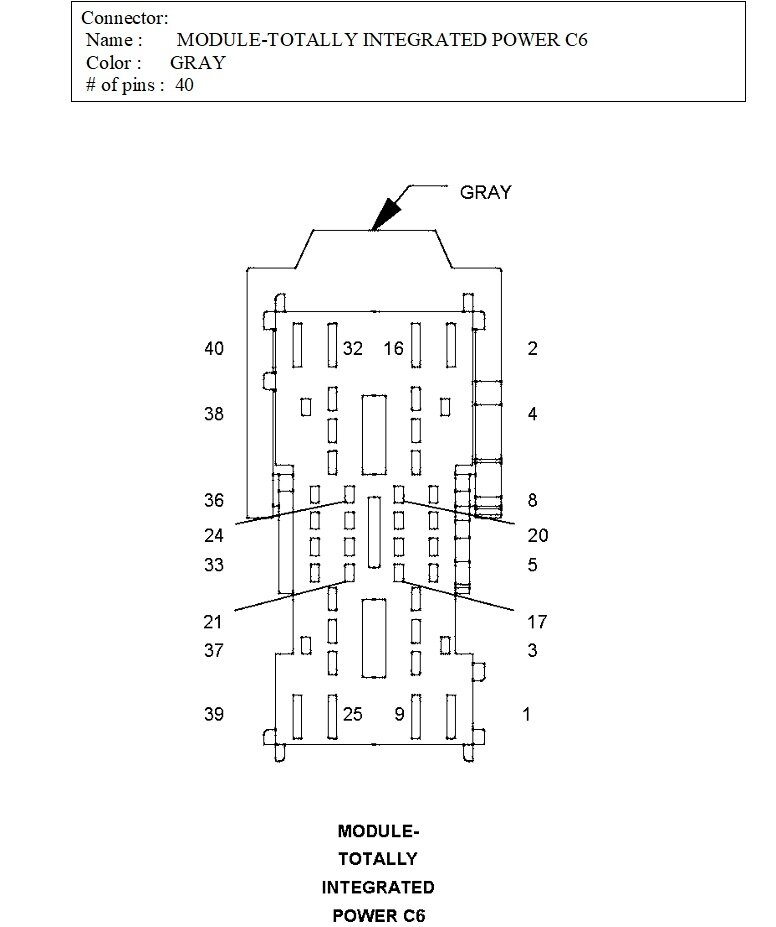
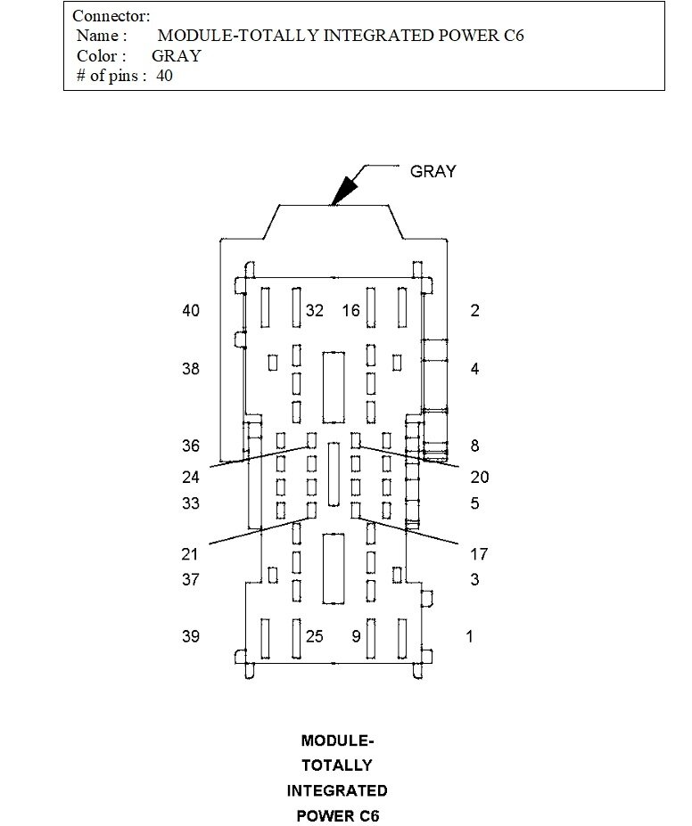
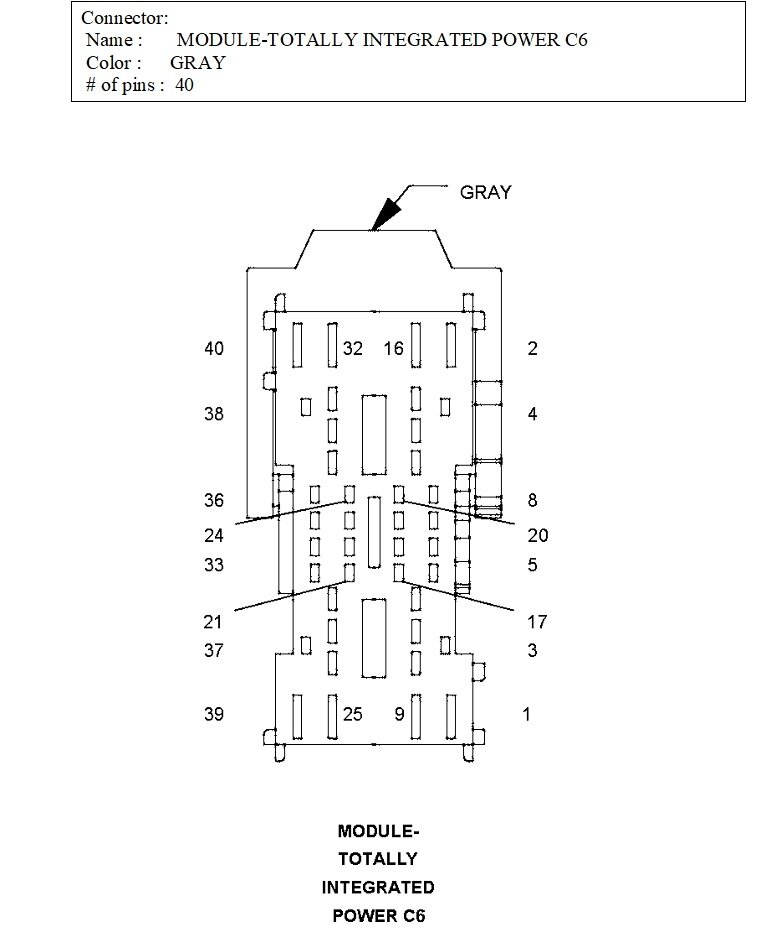
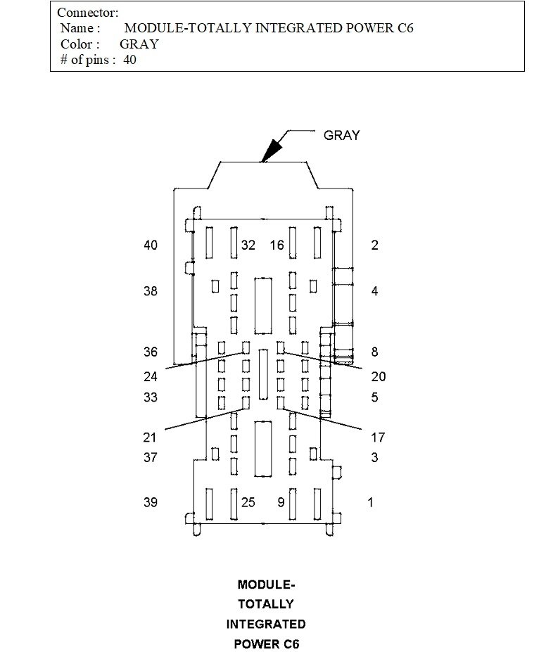
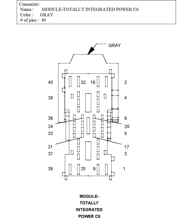
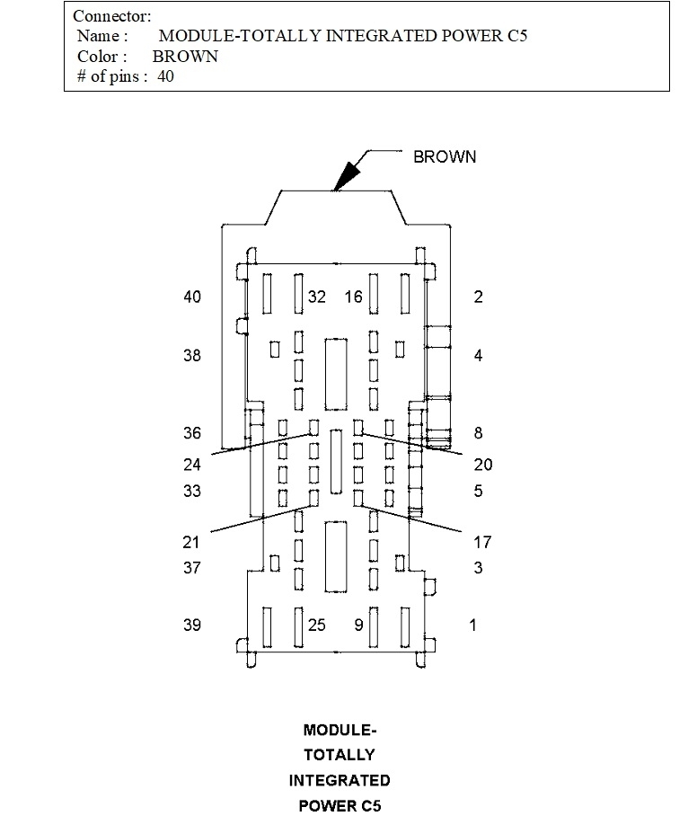
Hi, I need the diagrams of 2 connectors that plug into my TIPM. It’s for the vehicle listed above JK Unlimited X. I need the diagram showing the pin locations on the C-5, C-6 connectors and the wires with color codes that route through each one. Thanks for any help.

















