Timing belt replacement

Tiny
KRISNJESSE
  • MEMBER
  • 1995 HONDA ACCORD
  • 4 CYL
  • 200,000 MILES
How do you fix timing belt replacement?
Monday, May 28th, 2018 AT 11:39 PM

32 Replies

Tiny
ASEMASTER6371
  • MECHANIC
  • 52,796 POSTS
Good morning.

Here is a guide to help you step by step with instructions in the diagrams below to show you how on your car.

https://www.2carpros.com/diagrams/honda/accord/1995

Install the timing belt and timing balancer belt in the reverse order of removal.
Only key points are described here.
- When installing only the timing balancer belt, go to step 13.

Note: Clean the upper and lower covers before installation.

1. Remove the timing balancer belt drive pulley.

imageZoom/Print

2. Set the timing belt drive pulley so that the No. 1 piston is at top dead center (TDC). Align the dimple on the tooth of the timing belt drive pulley with the V pointer on the oil pump.

imageZoom/Print

3. Set the camshaft pulley so that the No. 1 piston is at TDC. Align the TDC mark on the camshaft pulley with the cylinder head upper surface.

imageZoom/Print

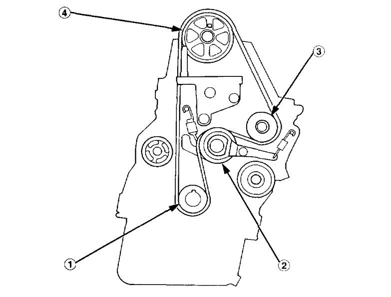
4. Install the timing belt tightly in the sequence shown.
(1)Timing belt drive pulley (crankshaft) -> (2) Adjusting pulley -> (3) Water pump pulley -> (4) Camshaft pulley.

Note: Make sure the timing belt drive pulley and camshaft pulley are at TDC.

5. Loosen and retighten the adjusting nut to tension the timing belt.
6. Install the timing balancer belt drive pulley and lower cover.
7. Install the crankshaft pulley, then tighten the pulley bolt.
8. Rotate the crankshaft pulley about 5 or 6 turns counterclockwise so that the timing belt positions on the pulleys.
9. Adjust the timing belt tension.

imageZoom/Print

imageZoom/Print

10. Make sure the crankshaft pulley and camshaft pulley are at TDC.
11. If the camshaft or crankshaft pulley is not positioned at TDC, remove the timing belt and adjust the positioning, then reinstall the timing belt.
12. Remove the crankshaft pulley and lower cover.
13. Set the timing belt drive pulley so that the No.1 piston at TDC.
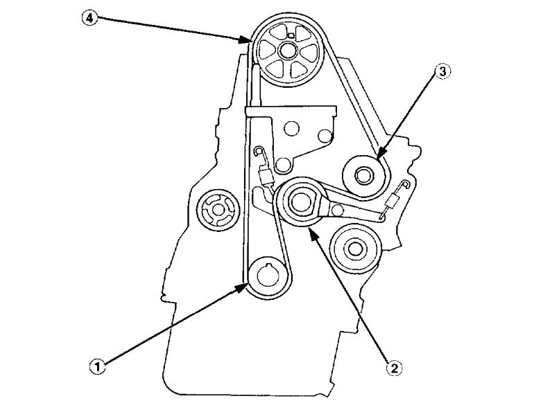
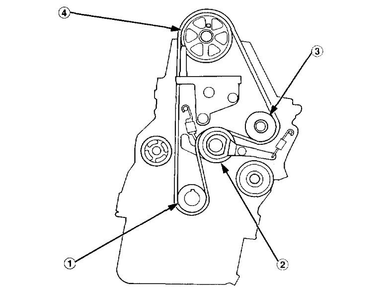
14. Lock the timing belt adjuster arm in place by installing one of the 6 x 1.0 mm bolts.
15. Loosen the adjusting nut 2/3 - 1 turn, and verify that the timing balancer belt adjuster moves freely.
16. Push the tensioner to remove tension from the timing balancer belt, then retighten the adjusting nut.

imageZoom/Print

imageZoom/Print

17. Align the rear balancer shaft pulley by using a 6 x 100 mm bolt or equivalent as a tool. Scribe a line 74 mm (2.9 in) from the end of the bolt. Insert the bolt into the maintenance hole to the scribed line.

imageZoom/Print

imageZoom/Print

18. Align the groove on the front balancer shaft pulley with the pointer on the oil pump housing as shown.
19. Install the timing balancer belt. Loosen the adjusting nut 2/3 - 1 turn to tension the timing balancer belt.
20. Remove the 6 x 100 mm bolt from the rear balancer shaft, then install the 12 mm sealing bolt.
21. Install the crankshaft pulley, then tighten the pulley bolt.
22. Turn the crankshaft pulley about one turn counterclockwise, then tighten the adjusting nut.
23. Remove the 6 x 1.0 mm bolt from the timing belt adjuster arm.
24. Remove the crankshaft pulley, then install the lower cover.
25. Install the rubber seal around the adjusting nut.

Note: Do not loosen the adjusting nut.

26. Install the crankshaft pulley, then tighten the pulley bolt.
27. After installation, adjust the tension of each belt.
Was this
answer
helpful?
Yes
No
+1
Tuesday, May 29th, 2018 AT 6:02 AM
Tiny
JESSTALON
  • MEMBER
  • 1 POST
  • 1995 HONDA ACCORD
  • 4 CYL
  • FWD
  • AUTOMATIC
  • 175,000 MILES
I have two timing belts I need to know how to put them back on and put them back in time?
Was this
answer
helpful?
Yes
No
Monday, January 11th, 2021 AT 5:24 PM (Merged)
Tiny
KHLOW2008
  • MECHANIC
  • 41,814 POSTS
Hi jesstalon,


https://www.2carpros.com/forum/automotive_pictures/192750_TimingBelt95Accord01_1.jpg



https://www.2carpros.com/forum/automotive_pictures/192750_BalancerBelt95Accord01_1.jpg



https://www.2carpros.com/forum/automotive_pictures/192750_BalancerBelt95Accord02_1.jpg

Was this
answer
helpful?
Yes
No
+2
Monday, January 11th, 2021 AT 5:24 PM (Merged)
Tiny
ATKINSON 1
  • MEMBER
  • 1 POST
  • 1995 HONDA ACCORD
Engine Mechanical problem
1995 Honda Accord 6 cyl Front Wheel Drive Automatic 95. Ooo miles

i replaced the whater pump and timing belt. Crank TDC. Cams at timing marks. Distributor no# 1 with plugs out turned over engine 6 or 7 times. Sooth. Everthing lined up. Tried to fired it up. Does not whant to sart. Help.
Was this
answer
helpful?
Yes
No
Monday, January 11th, 2021 AT 5:26 PM (Merged)
Tiny
OBXAUTOMEDIC
  • MECHANIC
  • 3,711 POSTS
Hello,

When you put crank at TDC did you make sure it was on the Compression Stroke. If not sure just pull #1 plug bump or hand turn crank with your finger in hole till you feel air pressure then look in cylinder and complete getting piston at TDC. Then pull cap and see were rotor is pointing.

Also did you double check and make sure everything is plugged back in.

.
Was this
answer
helpful?
Yes
No
Monday, January 11th, 2021 AT 5:26 PM (Merged)
Tiny
TWAN
  • MEMBER
  • 2 POSTS
  • 1995 HONDA ACCORD
  • 4 CYL
  • FWD
  • MANUAL
  • 280,000 MILES
Okay today I was changing my timing belt that has never been done yet and I had trouble stretching the new one on. I was really tight with the tensioner in the weakest setting so all that pulling moved my crankshaft. How do I find top dead center and any tips to putting the new one on? Its a bando tb 224.
Thanks :)
Was this
answer
helpful?
Yes
No
Monday, January 11th, 2021 AT 5:26 PM (Merged)
Tiny
ZACKMAN
  • MECHANIC
  • 4,202 POSTS
I hope this will help.


https://www.2carpros.com/forum/automotive_pictures/55316_95accordtb_1.jpg



https://www.2carpros.com/forum/automotive_pictures/55316_95accordtb1_1.jpg



https://www.2carpros.com/forum/automotive_pictures/55316_95accordtb1b_1.jpg



https://www.2carpros.com/forum/automotive_pictures/55316_95accordtb6_1.jpg



https://www.2carpros.com/forum/automotive_pictures/55316_95accordtb6a_1.jpg



https://www.2carpros.com/forum/automotive_pictures/55316_95accordtb7_1.jpg



https://www.2carpros.com/forum/automotive_pictures/55316_95accordtb7b_1.jpg

Was this
answer
helpful?
Yes
No
Monday, January 11th, 2021 AT 5:26 PM (Merged)
Tiny
TWAN
  • MEMBER
  • 2 POSTS
Okay, but the belt is realy tight to put on. Any tips?
Was this
answer
helpful?
Yes
No
Monday, January 11th, 2021 AT 5:26 PM (Merged)
Tiny
JAMES W.
  • MECHANIC
  • 2,394 POSTS
Did you loosen the adjuster nut and backed the tensioner pulley off?
Was this
answer
helpful?
Yes
No
Monday, January 11th, 2021 AT 5:26 PM (Merged)
Tiny
AGARCIA94
  • MEMBER
  • 1 POST
  • 1995 HONDA ACCORD
  • 120,000 MILES
I am trying to remove the crankshaft pully bolt off of my 95 honda accord, but every time I try to turn the bolt, the timing belt keeps moving. I don't know how to keep the timing belt from moving so I can remove the crankshaft pulley bolt.
Was this
answer
helpful?
Yes
No
Monday, January 11th, 2021 AT 5:26 PM (Merged)
Tiny
KHLOW2008
  • MECHANIC
  • 41,814 POSTS
The bolt is torqued at 150 ft. Lbs and requires some strength to have it removed. Either you use a high torqued impact wrench or you need a wrench to hold the pulley.
Was this
answer
helpful?
Yes
No
+1
Monday, January 11th, 2021 AT 5:26 PM (Merged)
Tiny
94HONDAACCORDEXOWNER
  • MEMBER
  • 1 POST
  • 1994 HONDA ACCORD
  • 4 CYL
  • FWD
  • AUTOMATIC
  • 300,000 MILES
What other parts should be changed when changing the timing belt?

What's a good manufacturer to purchase from?
Was this
answer
helpful?
Yes
No
Monday, January 11th, 2021 AT 5:26 PM (Merged)
Tiny
WRENCHTECH
  • MECHANIC
  • 20,761 POSTS
Most people change the water pump while they are in there because it's driven by the timing belt. At that mileage, you may want to buy a complete timing kit that includes the tensioners and idler pulleys if it has one.
Was this
answer
helpful?
Yes
No
Monday, January 11th, 2021 AT 5:26 PM (Merged)
Tiny
94ACCORD8807
  • MEMBER
  • 4 POSTS
  • 1994 HONDA ACCORD
  • 4 CYL
  • 2WD
  • MANUAL
  • 22,300 MILES
My timing Belt went out on my Accord while driving very low RPM's. I towed it home and pulled the valve cover off and inspected the valves and noticed I got lucky and all the valves where closed at the time of the break. I replaced the belts and the tensioners being sure all marks are on with the marks on the block. However now the car runs very choppy and almost dies at idle. Car performs like nothing is wrong but sounds like it's only running on 3 cylinders. Please Help.
Was this
answer
helpful?
Yes
No
Monday, January 11th, 2021 AT 5:27 PM (Merged)
Tiny
BLUELIGHTNIN6
  • MECHANIC
  • 16,542 POSTS
If the idle is rough, it is possible that the timing belt was improperly installed. However, if it was installed correctly, it can be likely that you need to adjust the idle. Raise the hood and look to the left side of the engine near the distributor cap. There should be a little plug which allows you to adjust the idle. Make certain that the plug is reinstalled after you are done. Please post your results and I will follow up. If you need detailed instructions on installing the timing belt to better assist you with knowing that it is indeed on correctly, just let me know and I can post them for you.
Was this
answer
helpful?
Yes
No
Monday, January 11th, 2021 AT 5:27 PM (Merged)
Tiny
94ACCORD8807
  • MEMBER
  • 4 POSTS
Thanks for your feed back I thought of the idle also I turned that up a little bit. Turning the idle up to 1k RPM's but it still runs very shaky. Shakes the whole car. Also I noticed today while driving that if I am cruzing through town or wat not if I give it just a little bit of gas to try to stay at the speed limit it jerks the car. Not sure wat it could be I know quite a bit about honda's through helping people with theres and I am in college for the automotive feild. But this was my first timing belt so this is all kinda new to me.
Was this
answer
helpful?
Yes
No
Monday, January 11th, 2021 AT 5:27 PM (Merged)
Tiny
TRANSWORLDHONDA
  • MEMBER
  • 2 POSTS
  • 1993 HONDA ACCORD
  • 4 CYL
  • FWD
  • AUTOMATIC
  • 187,789 MILES
I have a 1993 Honda Accord with 187,789 miles. I bought the car two months ago with 185,087 miles. I have tried to get information from the previous owner through the dealer about when the timing belt was last replaced, but I have gotten no answer. There is no info in the car as to the previous keepers.

How much is a timing belt replacement for a '93 Accord? Is there any visual check I can do to determine the condition of the belt?
Was this
answer
helpful?
Yes
No
Monday, January 11th, 2021 AT 5:27 PM (Merged)
Tiny
ROWTIEAR
  • MEMBER
  • 91 POSTS
If the timing belt has been replaced there is usually a sticker placed on the top of the timing cover with the date and the milage that it was changed at.
(although this is not always the case.)

It is possible to see the timing belt by removing the upper timing belt cover, but even to the professional
it is difficult to determine it's age by looking at it.
(unless it is really bad)
It takes approx. 3 hrs labor plus the cost of the belt approx. $50.00 a small price to pay compared to what it could cost to repair your engine if the belt breaks. (Bent valves, broken pistons, etc.)
If your not sure, change it, you'll be glad you did.
P.S. They will likely recommend that you change your waterpump and camshaft seals at the same time.
(both good ideas)
Hope this helps!
Was this
answer
helpful?
Yes
No
Monday, January 11th, 2021 AT 5:27 PM (Merged)
Tiny
TRANSWORLDHONDA
  • MEMBER
  • 2 POSTS
Thanks. I will go out and see if I can spot a date or anything like that.

Tommorow I will go out to a few places and get some quotes on a replacement. Thanks for your advice!
Was this
answer
helpful?
Yes
No
Monday, January 11th, 2021 AT 5:27 PM (Merged)
Tiny
STONETRAMP
  • MEMBER
  • 2 POSTS
  • 1993 HONDA ACCORD
1993 Honda Accord Two Wheel Drive Automatic 128, 00 miles

I am considering purchasing this car. The owner says the timing belt was changed at 114,000 miles. I don't know if this was the first time it was changed, but if it was, what are the chances that waiting that long to put in a new timing belt would damage the engine or cause excess wear?
Was this
answer
helpful?
Yes
No
Monday, January 11th, 2021 AT 5:27 PM (Merged)

Please login or register to post a reply.