Monday, June 26th, 2017 AT 5:27 PM
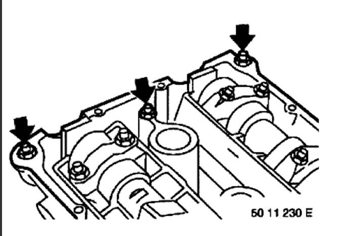
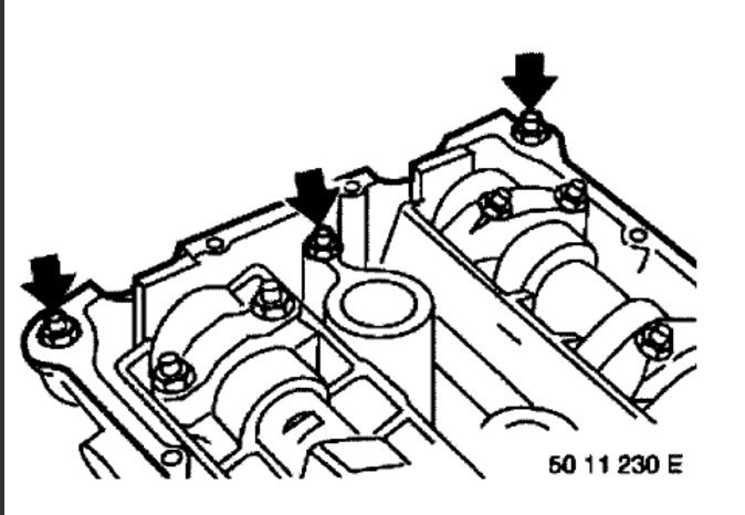
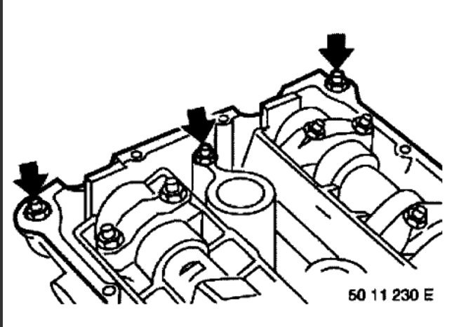
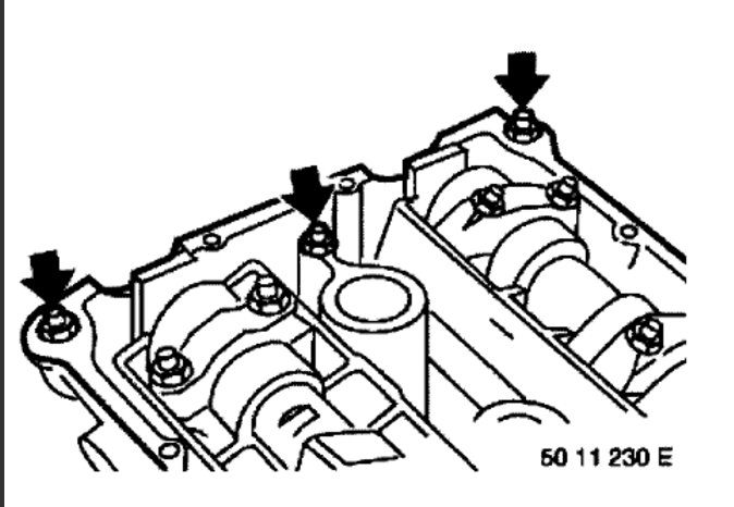
I had to replace head gasket and mark and label everything, but now I having problem with timing not able to get it back in time. I tried everything and it seems I got it on the money, but when j go to roll it over by hand seems to only roll Little bit either way like it is hitting valves. Can someone help me with the timing?














