Temperature gauge not working properly

1984 DODGE VAN
164,000 MILES • 3.7L • 6 CYL • 2WD • AUTOMATIC
Avatar
KOHLLINK
  • MEMBER
  • 80 POSTS
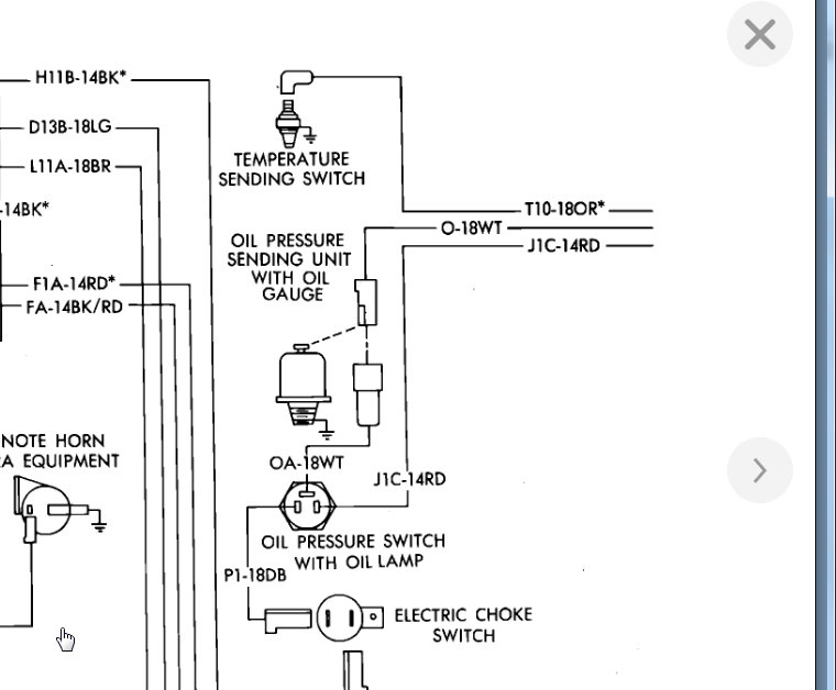
My temperature gauge doesn’t move up or down.
Jan 19, 2020 at 9:27 AM
Repair Safety Notice: This information is for general instructional purposes only. Vehicle repair can be dangerous. Verify all information, follow manufacturer service procedures, use proper tools and safety equipment, and consult a qualified repair shop when needed.
Advertisement
Avatar
KASEKENNY
  • AUTOMOTIVE REPAIR CONTRIBUTOR
  • 18,907 POSTS
This is most likely one of three things. Either the sensor, the wiring or the gauge.

Most likely it is the sensor or the wiring. I assume you already put a sensor in it so if it were me, I would just run a new wire from the sensor to the gauge.

Let me know if there is more to this and if I am missing something and we can go from there. Thanks
Jan 19, 2020 at 12:35 PM