Head Bolt torque specs

Tiny
AVENGER1265
  • MEMBER
  • 2005 SUZUKI FORENZA
2005 Suzuki Forenza 4 cyl Front Wheel Drive Automatic

what is the torque spec for the head bolds and cam cap bolts on suzuki forenza 2005
Saturday, February 27th, 2010 AT 8:29 PM

1 Reply

Tiny
KEN L
  • MASTER CERTIFIED MECHANIC
  • 55,522 POSTS
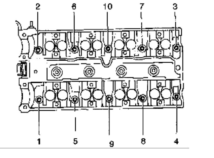
Here are the head bolt tightening instructions and some diagrams of the job being done (below). Start by disconnecting the battery.

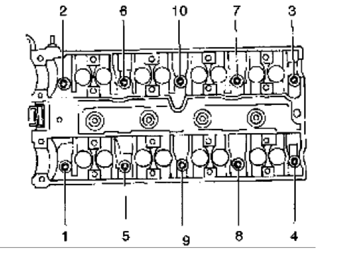
Tighten the cylinder head bolts gradually and in the sequence shown. Tighten: Tighten the cylinder head bolts to 25 Nm (18 ft. Lbs.) And turn the bolts another 3 turns of 90° using the angular torque gauge KM-470-B.

Camshaft bearing cap bolts tighten to 71 INCH Lbs. (8 N.M)

Please let us know what happens.

Cheers, Ken
Was this
answer
helpful?
Yes
No
+14
Friday, October 13th, 2017 AT 2:45 PM

Please login or register to post a reply.