Surging problem?

Tiny
JOMED7
  • MEMBER
  • 1995 NISSAN HARDBODY
  • 3.0L
  • V6
  • 2WD
  • MANUAL
  • 220,000 MILES
I have written about this vehicle before in regard to the clutch. That is fine. I have not driven this Nissan very much in the last two months but have only driven a little and start it about once a week. Drove it today after sitting maybe 2 weeks. Drove about 2 miles. No problem. I came back after 5 minutes and didn't get out of the parking lot before I noticed a very dramatic drop in power. Pressing the gas pedal was mostly doing nothing except a rise in RPMs/power randomly and not very often. Check engine did come on. Was Steady, never blinking. I pulled over and checked under the hood. All seemed normal visually. I opened the radiator cap some because I noticed it wasn't hot at all. The cap that is. Forgot to feel hoses. Anyway, I heard a decent burst of air come out before I had to close the cap to avoid 3rd degree burns possibly. Got back in the vehicle and decided to drive some more and it seemed to be better, I am thinking okay that fixed it. Even check engine light turned off. But alas, it only lasted a very short time before the same issue. Drove home the 2 miles extremely slow. From 1st gear, and 2nd acted the same. Very uninterested in giving me power, RPMs, or speed. Just trudged home for the most part. At one time it gave me a burst, check engine went off again, but back to its foolish ways. Checked engine oil when I got home, but it had not sat at all. Checked immediately and appeared low as in hmmm am I like really low on oil? It has never leaked before, and the oil is only about 5 months old. Will confirm oil level tomorrow as Colorado is freaking snowing.
I doubt it's a vacuum. Don't think it's the fuel pump. Thats decently new. Maybe there is air in coolant and or low. That's my thoughts anyway not sure how to bleed it. Could be oil. A sensor maybe? But it's mostly sat for 2 months and before that I drove it fine for 4 months. Hmmm, call up your mechanical senses and please help a brother out. I had literally no joke, just listed it for sale at $2,400.00 and had 8 people interested in an hour and 17 people in 2 hours. All of them Spanish hilariously enough. I'm Spanish so I can say that. So yeah, drove it to warm it up and because I'm about to get full price for this baby, and then Bam! Freaking life craps on my head. Dear God! Thanks man
Saturday, February 3rd, 2024 AT 2:45 PM

3 Replies

Tiny
JACOBANDNICKOLAS
  • MECHANIC
  • 110,194 POSTS
Hi,

First, check to see if there are diagnostic trouble codes stored or pending. If nothing is present, I have a couple of questions.

First, are there any strange odors or smoke from the exhaust? Have you checked the catalytic converter to see if it is partially plugged?

Based on the description, it sounds like that is where the issue may be coming from.

Here is a link you may find of interest:

https://www.2carpros.com/articles/bad-catalytic-converter-symptoms

If that seems to mirror what you are experiencing, here is a link that explains how to test the converter:

https://www.2carpros.com/articles/how-to-test-a-catalytic-converter

Keep in mind, the internals of a catalytic converter can come loose and move around. That can cause intermittent blockage. It's a theory at this point but feel this would be a good place to start.

Let me know what you find or if you have questions.

Take care,

Joe
Was this
answer
helpful?
Yes
No
Saturday, February 3rd, 2024 AT 5:28 PM
Tiny
JOMED7
  • MEMBER
  • 20 POSTS
Hi, and thanks. I was able to pull a code. It is Code 33 - Heated Oxygen Sensor.
Does that make sense to you? If so, is the heated sensor upstream?
By the way I had an upper hose bleed screw missing. I replaced it and it seemed to do a little better but then back to its old tricks. I also noticed when it's cold it drives pretty good but after warming up a little, by that I mean like 2 minutes, then it loses power again. Fluids are good. If I should need to change the O2, I could use a remove and replace guide also. Thanks, Jose
Was this
answer
helpful?
Yes
No
Sunday, February 4th, 2024 AT 1:59 PM
Tiny
JACOBANDNICKOLAS
  • MECHANIC
  • 110,194 POSTS
Hi,

The sensor's signals are used to control the air/fuel mixture for the engine, so yes, that can be an issue.

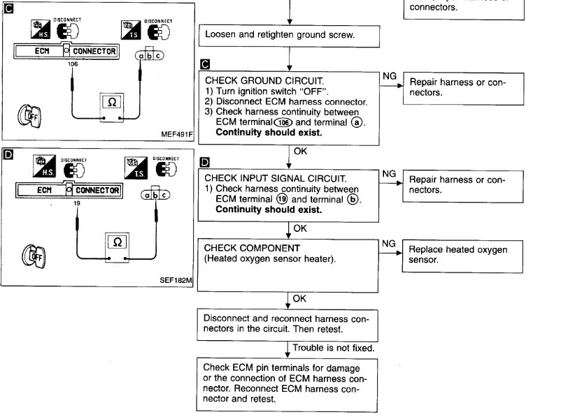
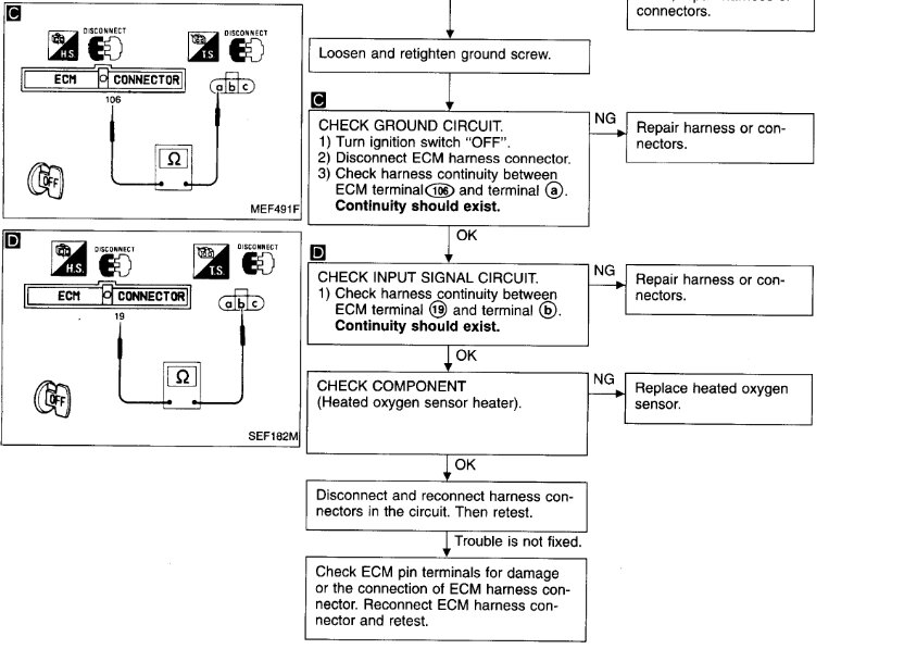
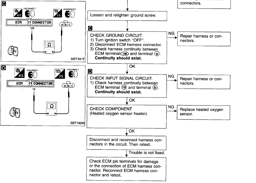
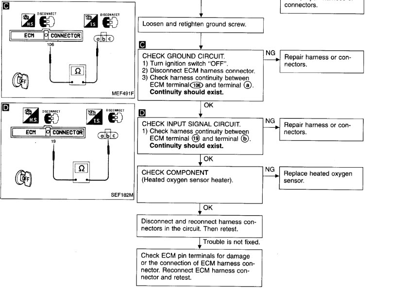
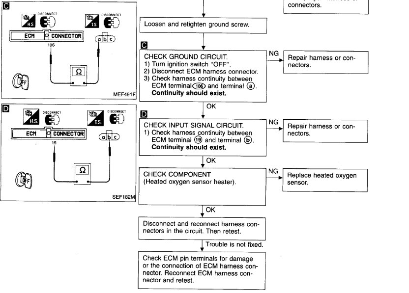
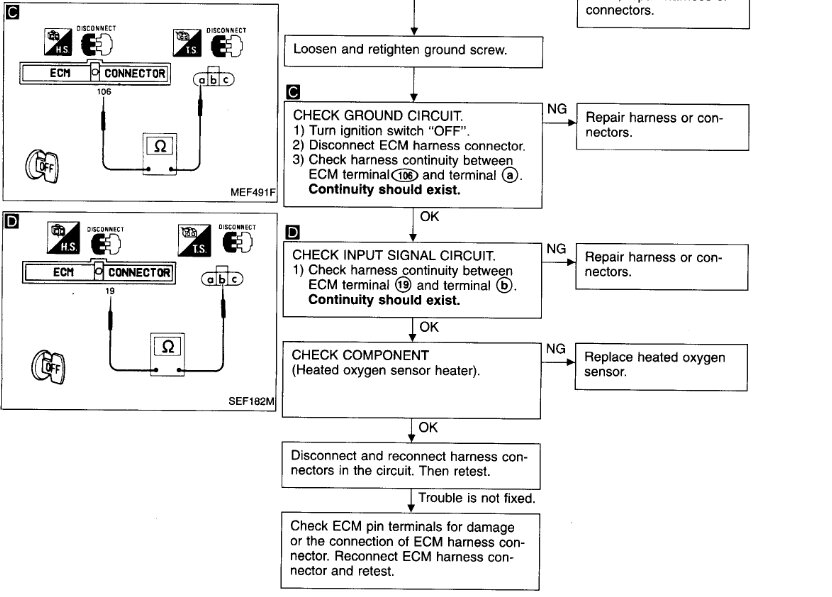
If you look at the first two pics below, I attached some general diagnostics for the sensor. Pics 3 and 4 are the directions for replacement. Pic 5 shows the connector location.

Let me know if this helps.

Joe

See pics below.
Was this
answer
helpful?
Yes
No
Sunday, February 4th, 2024 AT 6:42 PM

Please login or register to post a reply.