Stuck door lock

Tiny
MR.WES
  • MEMBER
  • 2005 FORD EXPLORER SPORT TRAC
  • 4.0L
  • V6
  • 2WD
  • AUTOMATIC
  • 163,000 MILES
The back passenger door lock will not operate as of now the door is closed and I am unable to be open it. I tried to open it from the inside by using the door handle no luck.

I looked around on YouTube but all I found were doors that were able to be open to taking the door interior off etc. What are my options?
Monday, August 12th, 2019 AT 2:20 PM

5 Replies

Tiny
BMDOUBLE
  • MECHANIC
  • 1,139 POSTS
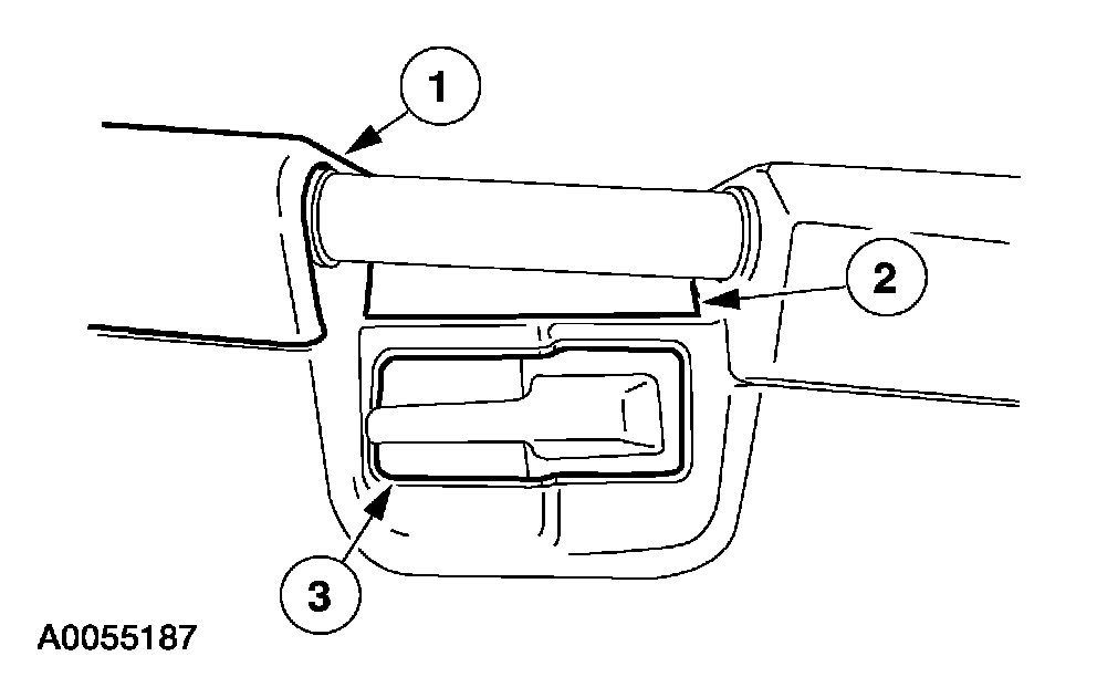
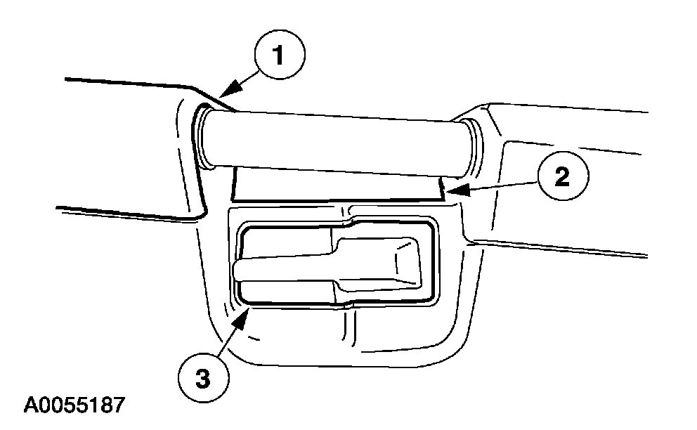
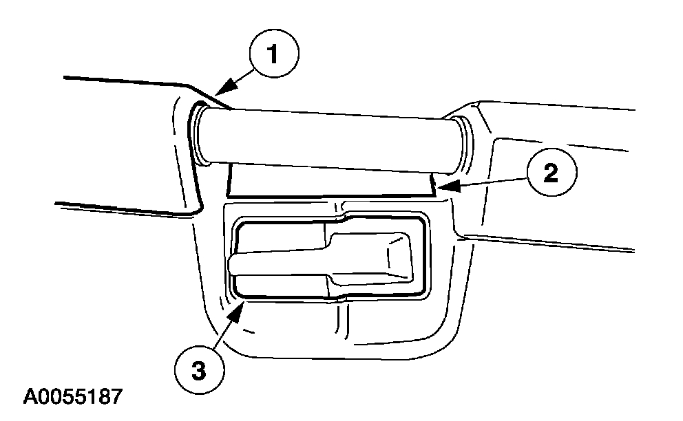
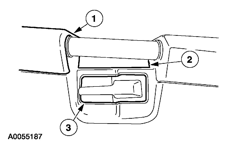
You will need to remove the interior door panel so that you can access the door latch. I included pictures of the hidden screws that will need to be removed.
Was this
answer
helpful?
Yes
No
Monday, August 12th, 2019 AT 2:55 PM
Tiny
MR.WES
  • MEMBER
  • 1 POST
I cannot open the door. The lock mechanism doesn't work.
Was this
answer
helpful?
Yes
No
-1
Monday, August 12th, 2019 AT 7:22 PM
Tiny
BMDOUBLE
  • MECHANIC
  • 1,139 POSTS
It will not be easy, but you will have to get to that latch from the inside of the vehicle. In some cases removing the back seat will give you more accessibility.
Was this
answer
helpful?
Yes
No
Tuesday, August 13th, 2019 AT 5:31 AM
Tiny
MR.WES
  • MEMBER
  • 1 POST
Are you able to supply any video of this being done?
Was this
answer
helpful?
Yes
No
-1
Tuesday, August 13th, 2019 AT 6:42 PM
Tiny
BMDOUBLE
  • MECHANIC
  • 1,139 POSTS
I wish I did, but what you can try is to only remove the inside door handle which should only have 2 bolts holding it on, then grab ahold of the rod that attaches the handle to the latch with vice grips and push towards the latch. This will work if the concern is with the latch itself.
Was this
answer
helpful?
Yes
No
Wednesday, August 14th, 2019 AT 8:33 AM

Please login or register to post a reply.