Still chasing a short

Tiny
4BOB
  • MEMBER
  • 1997 FORD F-150
  • 4.2L
  • 6 CYL
  • MANUAL
  • 170,000 MILES
If I unplug the wire harness from the pcm on a 97 ford f150 and test each wire should I be able to confirm a short in the wire harness or be able to rule it out?
Saturday, January 16th, 2016 AT 2:31 PM

10 Replies

Tiny
CARADIODOC
  • MECHANIC
  • 34,461 POSTS
As long as it's not an intermittent problem. That is the REAL long way of diagnosing a problem. You wouldn't want to pay a mechanic to troubleshoot a problem this way. What are you trying to solve?
Was this
answer
helpful?
Yes
No
Saturday, January 16th, 2016 AT 2:41 PM
Tiny
4BOB
  • MEMBER
  • 11 POSTS
Ford 97 f150 my wife let it warm up for about 10 minutes and started towards the gate and it quit on her before she got to the gate it blows the #24 30amp fuse when you try to crank it. No fire no fuel. I found some bare wires and taped them thinking that was the problem but there still seems to be a short. Have checked all wire to transmission and transfer case short is still there. It is a dead short not intermittent it blows 30 amp fuse #24 soon as I turn the key on. Do you have any ideas I have been working on this for 3 days and not getting anywhere. Any help would be greatly appreciated.
Was this
answer
helpful?
Yes
No
+1
Saturday, January 16th, 2016 AT 3:04 PM
Tiny
CJ MEDEVAC
  • MECHANIC
  • 11,005 POSTS
SOMETIMES SEVERAL OF US "JUMP IN" AND ATTEMPT TO FIND A SOLUTION.

CARADIODOC, IS A MUCH RESPECTED FELLER ON THIS SITE, HE'S DARN GOOD!

HOWEVER, EVEN WITH ME LOOKIN' TOO,

BOTH OF US WILL NEED MORE INFO ON YOUR RIG, (SOME OF THIS IS ALREADY LISTED) LET'S HAVE

MAKE/ MODEL/ BIG CAB-LITTLE CAB-TINY CAB/ ENGINE SIZE/ 2WD OR 4WD/ MANUAL OR AUTOMATIC/ ANYTHING ELSE YOU CAN THINK OF, EVEN THE VIN HELPS!

THANKS,

THE MEDIC
Was this
answer
helpful?
Yes
No
Saturday, January 16th, 2016 AT 4:33 PM
Tiny
4BOB
  • MEMBER
  • 11 POSTS
97 ford f150, manual transmission, regular cab, 4x4, 4.2L, v6, vin. 1ftdf082xvkc63520 . Any help would be greatly appreciated.
Was this
answer
helpful?
Yes
No
Saturday, January 16th, 2016 AT 5:13 PM
Tiny
CJ MEDEVAC
  • MECHANIC
  • 11,005 POSTS
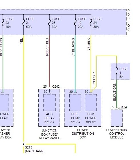
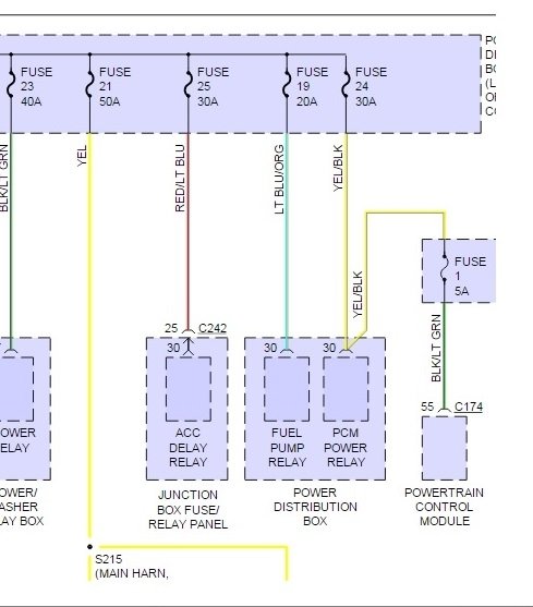
LOOKY HERE!

GOT A DIAGRAM!

I HAVE TO MAKE SCREEN SHOTS (WITH PERMISSION), AS "PRODEMAND" IS A "BUY" REPAIR MANUAL (A FRINGE BENEFIT FROM 2CAR TO HELP WITH ANSWERS), SO THEY DON'T HAVE FREEBIE COPIES OF A LOT OF STUFF.

THERE WERE 4 POWER DISTRIBUTION DIAGRAMS, I FOUND YOUR INFO IN THE 2nd ONE. IN ORDER FOR THINGS TO POST ON THIS SITE SO YOU CAN SEE IT, I GOTTA TAKE ONE CHUNK AT A TIME. FORTUNATELY, WHAT YOU NEED FROM THIS ONE IS SHORT AND SWEET, I GOT IT IN ONE SHOT.

I CAN FIND STUFF-I'M NOT A MODERN VEHICLE KINDA GUY, CARBURETED JEEPS ARE MY CUP OF "SWEET TEA"

I RECKON THERE "MIGHT"/ "COULD BE" OTHER DIAGRAMS BRANCHING FROM THESE COMPONENTS SHOWN HERE.I JUST DON'T KNOW

SO HERE'S THE DEAL

I'M THINKING THAT DOC HAD SOME HARD LUCK AND HIS HOUSE MAY HAVE CAUGHT ON FIRE? A WHILE BACK. HOWEVER, HE FINDS A COMPUTER AND KEEPS UP WITH WHAT'S GOING ON. HE'S NOT RIGHT BESIDE ONE ALL OF THE TIME.

HE WILL RESPOND! (IN TIME)

NOW THAT I HAVE MAYBE "DRAWN THE PICTURE"

I LET DOC "COLOR IT" FOR YOU!

I'M SURE HE CAN TELL YOU WHERE TO START TESTING/ CHECKING

IF MORE DIAGRAMS ARE NEEDED, I'LL LOOK FOR 'EM

DIAGRAM IS BELOW

THE MEDIC
Was this
answer
helpful?
Yes
No
Saturday, January 16th, 2016 AT 7:09 PM
Tiny
CJ MEDEVAC
  • MECHANIC
  • 11,005 POSTS
I TRY FOR BIGGER

HERE GOES

THE MEDIC
Was this
answer
helpful?
Yes
No
Saturday, January 16th, 2016 AT 7:12 PM
Tiny
4BOB
  • MEMBER
  • 11 POSTS
Thanks medic. Thanks caradiodoc
Was this
answer
helpful?
Yes
No
Sunday, January 17th, 2016 AT 7:56 AM
Tiny
4BOB
  • MEMBER
  • 11 POSTS
I unplugged the wiring harness from the pcm and disconnected the battery took it out to my shop and wrapped the wires realy good. Put it back on the truck.
It runs! I never did find the short. Could disconnecting the wires from the pcm and the battery and then reconnecting them reset the computer? Maybe? Still scratching my head. It is running now but I do not understand why it is running now. Any ideas? I appreciate you guys.
Was this
answer
helpful?
Yes
No
Sunday, January 17th, 2016 AT 1:11 PM
Tiny
CJ MEDEVAC
  • MECHANIC
  • 11,005 POSTS
WELL, I WAS HOPING DOC WOULD CHIME IN (I HOPE HE STILL DOES)

YES, SOMETIMES IF A VEHICLE STARTS ACTING STUPID (A LOT OF TIMES BECAUSE THE BATTERY WENT LOW, FOR WHATEVER REASON) THE COMPUTER SENSED IT AND MIGHT GO CRAZY. EVEN JUMPING THE VEHICLE OFF, IT MAY RUN, BUT THE COMPUTER IS STILL "HUNG UP" ON THE LOW VOLTAGE AND, FOR INSTANCE, THE DOOR LOCKS MIGHT ACTUATE CONTINUOUSLY (LIKE THE CAR IS POSSESSED!

IN SOME OF THOSE CASES, REMOVING THE BATTERY CABLES AND REINSTALLING THEM ON A "FULLY CHARGED OR A NEW BATTERY" LETS THE COMPUTER RESET/ SENSE FULL 12 VOLTS. THE KEY BEING THE DISCONNECTION.

BACK TO YOUR DEAL

SOMETHING EITHER GROUNDED THAT CIRCUIT OR SOMETHING DREW MORE THAN 30 AMPS ON THAT CIRCUIT. THIS IS THE ONLY WAY THAT I SEE MR. FUSE BLOWING

MAYBE YOU MOVED THE SHORTED WIRE, MAYBE THE ENGINE TORQUING IN EITHER DIRECTION (IN FORWARD OR REVERSE) OR EVEN HITTING A HARD BUMP MIGHT MOVE THE WIRE.

BY PASSING THE FUSE OR INSTALLING A BIGGER ONE MIGHT HAVE YOU ROASTING WEENIES AND MARSHMALLOWS 'ROUND THE OLE FORD!

SO-DON'T-DO-THAT! (EVEN IF YOU THINK IT COULD MOVE THE TRUCK OR LIMP IT HOME)

WHEN DOC GETS HERE

HE CAN EXPLAIN "HIS SAFE WAY" FOR LOOKING FOR SHORTS (IF YOU MIGHT STILL NEED TO!) DOC WAS (MAYBE STILL IS) AN AUTO MECHANICS INSTRUCTOR.

CARADIODOC THIS IS CJ MEDEVAC, COME IN OVER,

THE MEDIC
Was this
answer
helpful?
Yes
No
Sunday, January 17th, 2016 AT 5:44 PM
Tiny
CARADIODOC
  • MECHANIC
  • 34,461 POSTS
I'm back, for a few minutes anyway, until the library closes. Yup, I had a house fire two years ago, I have asthma that is affected by cold temperatures, and it's below zero today! I try to get to town every other day in spite of the weather. Grrr!

Thanks CJ for providing the diagram. The short was not on the circuit protected by the one amp fuse because if it was, that is the fuse that would have been blowing. The short has to be on the output side of the PCM power relay. That relay turns on for one second after turning on the ignition switch, then again during engine rotation, (cranking or running). I'm cutting it close on time so I'll have to do this from memory, and from my experience with Chrysler products, which are similar for this circuit. Typically the relay sends 12 volts to the injectors, ignition coil(s), and oxygen sensor heaters. None of those things commonly short so you can expect to find a wiring problem instead. Probably the most likely suspect is a wiring harness that fell down onto hot exhaust parts and a wire melted through and grounded out. The next suspect would be a harness that slides back and forth as the engine rocks during acceleration, and a wire's insulation is rubbed through. It's hard to replicate that movement when the engine isn't under load. Instead, lift the harnesses up and look for shiny spots on the body where the paint has been rubbed off. Next, look for harnesses that are run over sharp edges of metal brackets.

If the short is not acting up now, whatever caused it was disturbed enough to make it stop, but that's not a fix. It's going to act up again at the least opportune time.

A simple trick to finding a short is to replace the blown fuse with a pair of spade terminals, then use small jumper wires to connect them to a 12 volt light bulb. A brake light bulb works well. When the circuit is live and the short is present, the bulb will be full brightness and hot so be sure it's not laying on the carpet or against a plastic door panel. Now you can unplug electrical connectors and move things around to see what makes the short go away. When it does, the bulb will get dim or go out.

A brake light bulb will limit current to about one amp which might not be enough for this circuit. The bulb may be close to full brightness when the circuit is working properly. In that case, use a head light bulb instead. A low-beam filament will allow five amps to pass.

Since the PCM power relay won't be on unless the engine is rotating, you'll need to bypass it to allow testing. In this case we're relegated to trying to turn a working circuit into one with a defect, and we'll still do that by wiggling wiring harnesses and moving things around.

Since the diagram shows voltage coming in on terminal # 30, I'm posting my sad drawing for a Chrysler relay that uses the same designations. You may find these numbers on the side or bottom of the relay, otherwise go by the locations of the terminals. Use a wire or stretched-out paper clip to jump terminals 30 and 87 together while the relay is unplugged. Be careful to not spread the terminals in the socket as that can add a new intermittent problem.

The injectors will all be off when no cranking is occurring, but the ignition coils and / or oxygen sensor heaters may be on and drawing current. I'm assuming at this point the engine was running okay and the fuse wasn't blowing, so if the test bulb is fairly bright, it's because of those O2 sensor heaters or ignition coils. Unplug the ignition coils' primary connectors. You should see the test bulb get a tiny amount dimmer with each thing you unplug. If necessary, you might have to unplug the O2 sensors too. The goal is to get the test bulb to be dimmer than normal or out completely, then start wiggling and moving things. If you do something that makes the short occur, the test bulb will get full brightness. If wiggling things doesn't work, try banging around the engine with a rubber hammer.
Was this
answer
helpful?
Yes
No
Monday, January 18th, 2016 AT 6:12 PM

Please login or register to post a reply.