Steering rack replacement

2007 HYUNDAI ENTOURAGE
156,000 MILES • 3.8L • V6 • 2WD • AUTOMATIC
Avatar
SPARKY1000
  • MEMBER
  • 6 POSTS
Steering rack and power steering pump are shot. Any tricks to getting these items out? Some say you have to drop the whole suspension. Hoping not. Thankyou
Feb 21, 2021 at 9:39 AM
Advertisement
Avatar
JACOBANDNICKOLAS
  • CAR REPAIR CONTRIBUTOR
  • 110,190 POSTS
Hi,

The subframe does need to be removed. It is a rather large job, but if you follow the steps, you should be fine. Here are the directions for removal and replacement. The attached pics correlate with the directions.

_____________________________________

2007 Hyundai Truck Entourage V6-3.8L
Removal and Replacement
Vehicle Steering and Suspension Steering Steering Gear Service and Repair Removal and Replacement
REMOVAL AND REPLACEMENT
POWER STEERING GEAR BOX

COMPONENTS

pic 1

COMPONENT

pic 2


REMOVAL
1. Remove the both front wheel & tire assemblies.
2. Drain the power steering fluid.
3. Remove the bolt (A) connecting steering column to universal joint.


pic 3

4. Disconnect the pressure tube (A) from the power steering oil pump by loosening eye bolt.


pic 4


5. Disconnect the return hose (A)


pic 5


6. Loosen the split pin and castle nut, and then remove the tie rod end (A) from the knuckle by using a SST (09568-4A000).


pic 6


7. Remove the split pin and lower arm bolts and nut (A).


pic 7


8. Disconnect the stabilizer link (B) from the strut assembly (A) by loosening nut.


pic 8


9. Repeat on the other side.
10. Remove the front and rear roll stopper bolts and nuts (A, B).


pic 9


11. Remove the sub-frame by loosening the bolts and nuts.


pic 10


12. Remove the rear roll stopper (A) from the sub-frame.


pic 11


13. Disconnect the pressure tube (A) and return (B) from the valve body housing.


pic 12


14. Remove the power steering gear box (A) from the sub-frame by loosening the mounting bolts.


pic 13


INSTALLATION

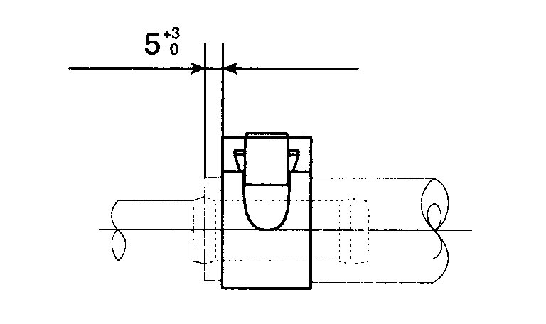
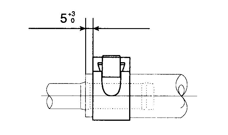
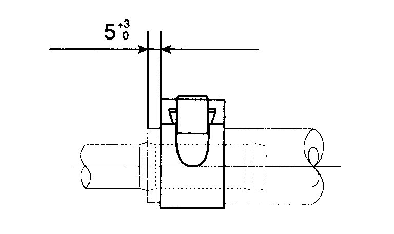
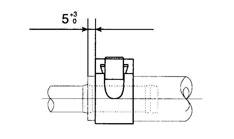
NOTE: Be sure to connect between a tube and a hose as shown in the illustration.


pic 14


1. Installation is reverse of the removal.
2. After installation, bleed the power steering system.
3. Adjust the wheel alignment.

___________________________________

I hope this is helpful. Let me know if you need help or have other questions.

Take care and God Bless,

Joe
Feb 21, 2021 at 5:50 PM
Advertisement
Advertisement
Repair Safety Notice: This information is for general instructional purposes only. Vehicle repair can be dangerous. Verify all information, follow manufacturer service procedures, use proper tools and safety equipment, and consult a qualified repair shop when needed.