Monday, August 26th, 2019 AT 8:27 PM
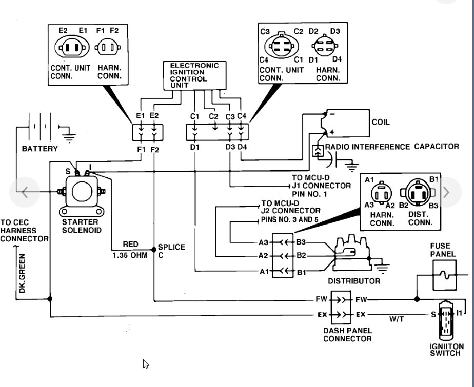
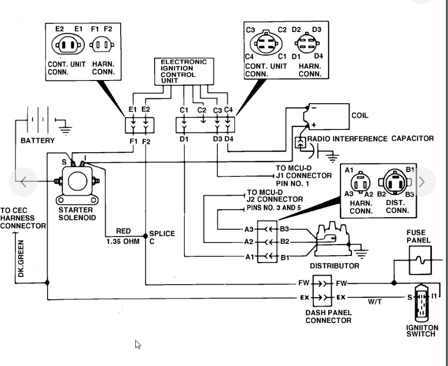
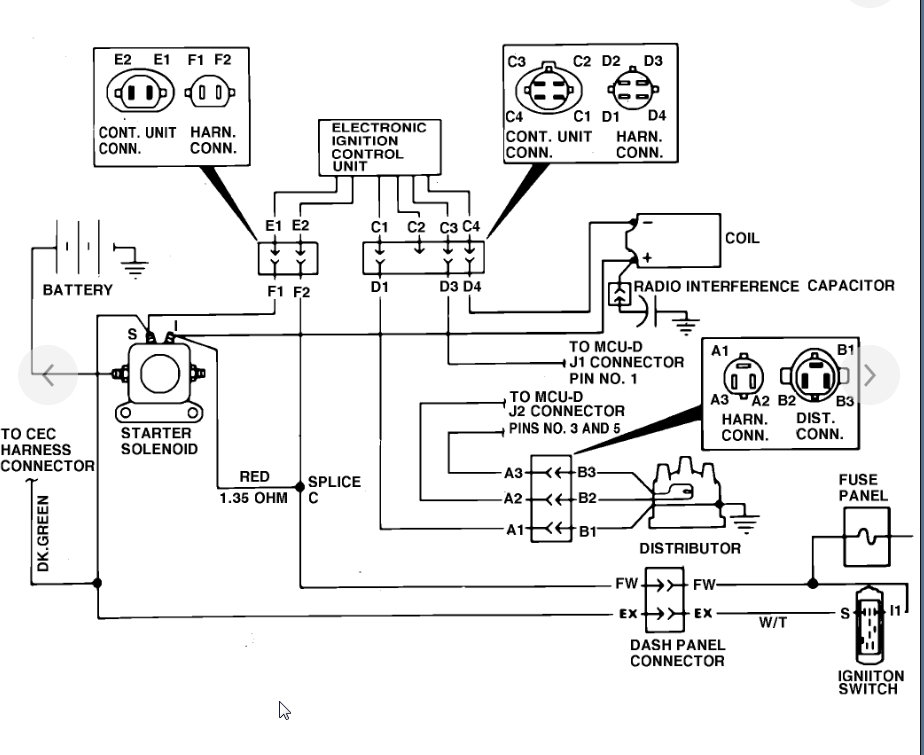
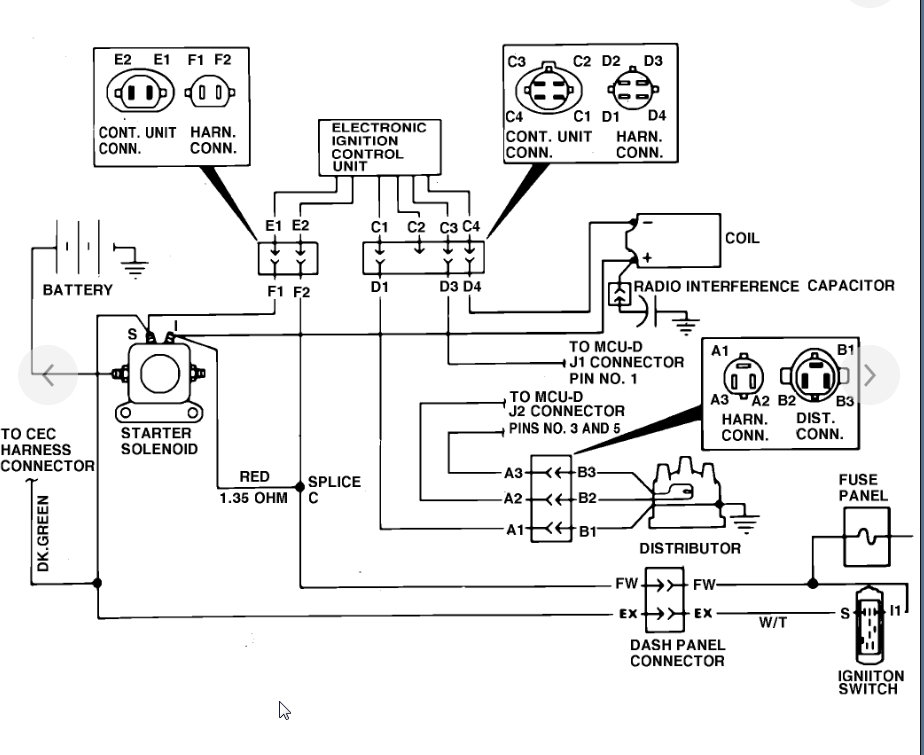
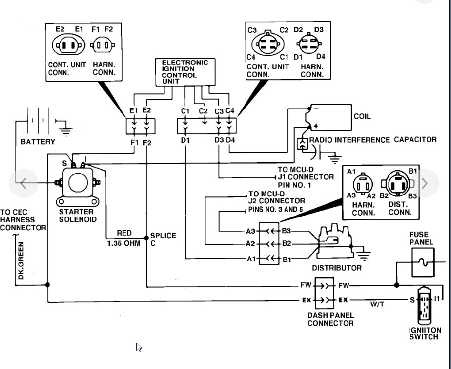
I had it park for close to a year I got it running and everything is restored new working. So as I was saying I got it running and it started up fine. I was using it for a week then it’s just shut off on me. So I have spark coming out of the coil but not out off the distributor there is no spark. I tested the spark plug, I grounded it and nothing. Well, I did see a little spark but then after that nothing. I already replaced the ignition control module since this was not the first time something like this happen. Now I’m a little confused hope you could help. My next step is possible replacing the distributor.




