Replaced both ignition switch and housing, still not cranking

Tiny
KBELL13
  • MEMBER
  • 2008 VOLKSWAGEN JETTA
  • V6
  • 183 MILES
My car stopped cranking, I replaced the ignition switch and the housing and it still will not crank and still behaves as if there is still and obstruction within the ignition. I got the ignition switch VIN specific so that I may keep the same key. Do you need to get a new key or your original key coded/programmed?
Tuesday, December 10th, 2019 AT 4:57 PM

3 Replies

Tiny
JACOBANDNICKOLAS
  • MECHANIC
  • 110,194 POSTS
Hi,

I am going to provide the directions for removal and replacement of the switch. Look through the directions to confirm you did what it requires and let me know.

The attached pics correlate with the directions.

_______________________________

2008 Volkswagen Jetta Sedan (1K2) L5-2.5L (CBTA)
Ignition Switch
Vehicle Starting and Charging Sensors and Switches - Starting and Charging Ignition Switch Service and Repair Removal and Replacement Ignition Switch and Lock Cylinder, through 05.10 Ignition Switch
IGNITION SWITCH
Ignition Switch

When disconnecting and connecting the Battery, the procedure must be followed as described in the repair information. Refer to=> [ Battery, Disconnecting and Connecting ].

Removal

- Disconnect the battery. Refer to => [ Battery, Disconnecting and Connecting ].

- Disconnect the connector - 2 - from the ignition switch - 1 -.

Pic 1

- Unlock the ignition switch with a small screwdriver - arrows -.

- Remove the ignition switch - 1 - from the steering lock housing.

Installation

- Install the ignition switch in the steering lock housing until it audibly latches.

- Insert ignition key into lock cylinder and turn into position "Drive".

Pic 2

Key must be located in "Drive" position.

Key positions of lock cylinder:

1. Position Off

2. Position Run

3. Position Start

- Install the components in reverse order of removal.

__________________

Let me know.

Joe
Was this
answer
helpful?
Yes
No
Wednesday, December 11th, 2019 AT 7:50 PM
Tiny
KBELL13
  • MEMBER
  • 2 POSTS
There is no reference to the key, both parts have been changed.
Was this
answer
helpful?
Yes
No
Friday, December 13th, 2019 AT 12:36 AM
Tiny
JACOBANDNICKOLAS
  • MECHANIC
  • 110,194 POSTS
Here are the directions for the key tumbler:

____________________________________________

2008 Volkswagen Jetta GLI (1K2) L4-2.0L Turbo (CBFA)
Lock Cylinder
Vehicle Starting and Charging Sensors and Switches - Starting and Charging Ignition Switch Service and Repair Removal and Replacement Ignition Switch and Lock Cylinder, through 05.10 Lock Cylinder
LOCK CYLINDER
Lock Cylinder

When disconnecting and connecting the Battery, the procedure must be followed as described in the repair information. Refer to=> [ Battery, Disconnecting and Connecting ].

Steering lock may be destroyed.

If steering lock is operated without lock cylinder, it locks and must be replaced.

Steering lock must not be operated without lock cylinder.

Removal

- Disconnect the battery. Refer to => [ Battery, Disconnecting and Connecting ].

- Remove the steering wheel.

- Remove the steering column trim.

- Remove the steering column electronic systems control module (J527). Refer to=> [ Steering Column Electronic Systems Control Module ] See: Steering Mounted Controls Communication Module > Removal and Replacement > Steering Column Electronic Systems Control Module (J527).

- Remove the airbag spiral spring/return spring with slip ring (F138). Refer to => [ Airbag Spiral Spring/Return Spring With Slip Ring ] See: Steering Mounted Controls Communication Module > Removal and Replacement > Airbag Spiral Spring/Return Spring With Slip Ring (F138).

- Remove the steering angle sensor (G85). Refer to => [ Steering Angle Sensor ] See: Steering Mounted Controls Communication Module > Removal and Replacement > Steering Angle Sensor (G85).

Switches must not be removed when removing lock cylinder.

The Anti-theft immobilizer reader coil (D2) is attached to the lock cylinder and cannot be replaced separately.

Pic 1t

- Disconnect the connector - arrow - from the anti-theft immobilizer reader coil - 3 -.

- Insert ignition key into lock cylinder and turn into position "Drive".

Pic 2

Key positions of lock cylinder:

1. Position Off

2. Position Run

3. Position Start

For reasons of clarity, the following illustration depicts lock cylinder as removed and without ignition key.

Pic 3

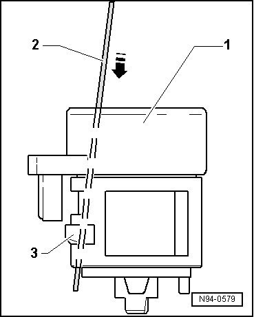
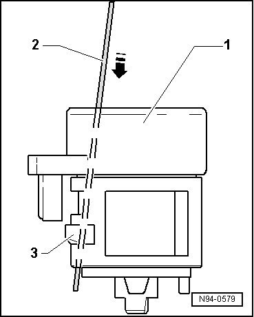
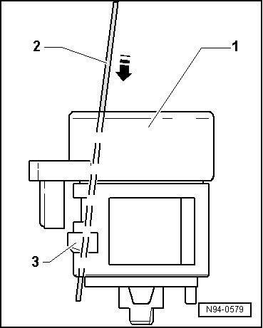
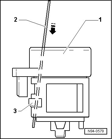
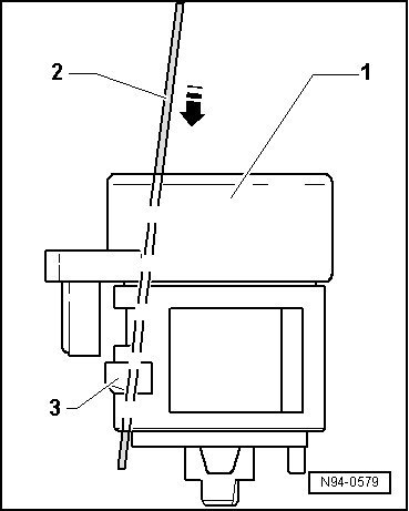
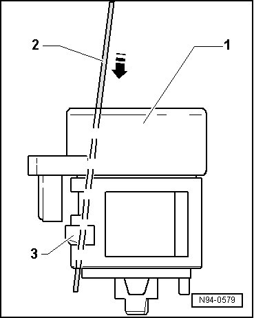
- Insert steel wire (1.2 mm diameter) into hole next to ignition key - arrow -.

- Using the steel wire - 2 -, release - arrow - the retaining lever - 3 - of the lock cylinder - 1 -.

- Remove the lock cylinder - 1 - from the steering lock housing.

Installation

pic 4

To improve clarity, the ignition key is not shown in the following illustration.

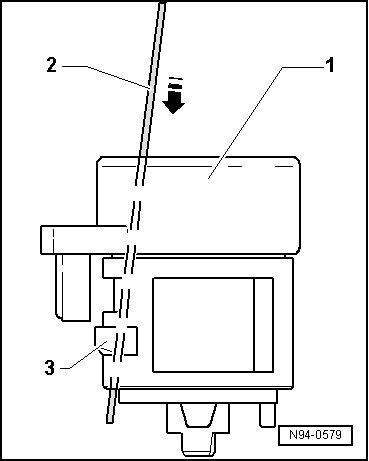
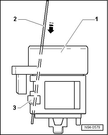
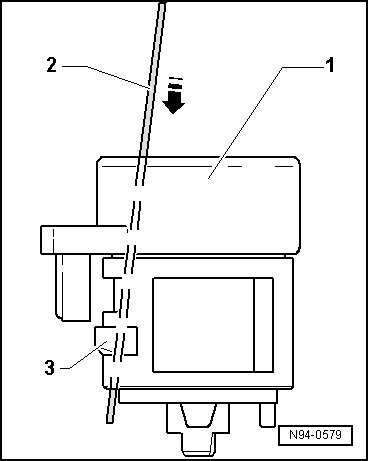
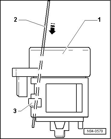
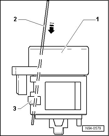
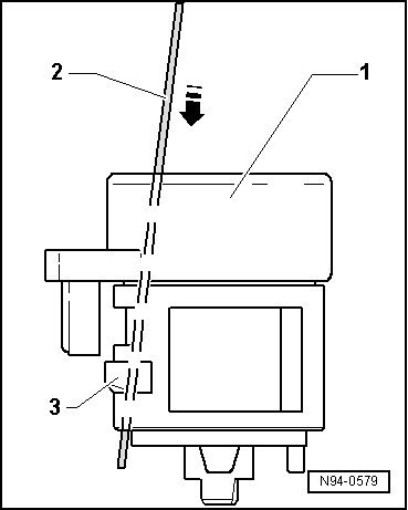
- Insert the ignition key into the lock cylinder - 1 - and turn to the "Drive" position.

- Use the steel wire - 2 - to release the securing lever - 3 - of the lock cylinder - 1 - - arrow -.

- Insert the lock cylinder - 1 - into the steering lock housing.

The Anti-Theft Immobilizer Reader Coil (D2) connection must be inserted into the guide on the steering lock housing.

- Remove the steel wire - 2 - from the lock cylinder - 1 - and then make sure the lock cylinder fit securely in the steering lock housing.

- Connect the connector to the anti-theft immobilizer reading coil.

Further installation is done in reverse order of removal.

_____________________________________

Let me know if that is what you needed.

Joe
Was this
answer
helpful?
Yes
No
Friday, December 13th, 2019 AT 6:37 PM

Please login or register to post a reply.