Rejected emissions test, vehicle OBD system is unresponsive?

Tiny
ANGIE ESTRADA
  • MEMBER
  • 2010 PONTIAC G6
  • 6 CYL
  • TURBO
  • AUTOMATIC
  • 119,506 MILES
Vehicle OBD system is unresponsive.
Friday, August 18th, 2023 AT 2:34 PM

1 Reply

Tiny
JACOBANDNICKOLAS
  • MECHANIC
  • 110,192 POSTS
Hi,

If you are unable to connect, let's start by checking for power and ground at the data link connector.

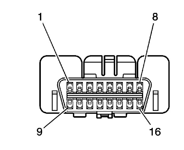
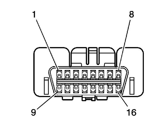
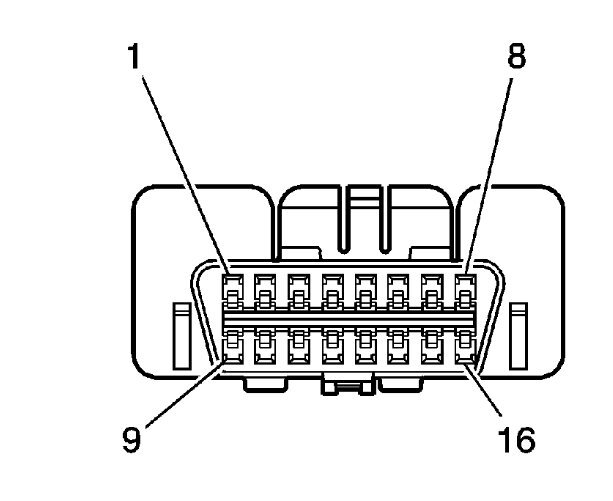
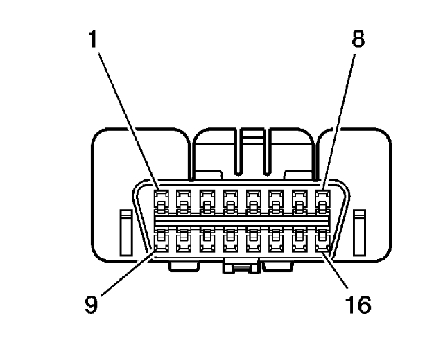
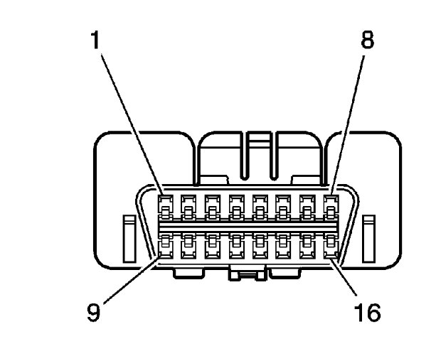
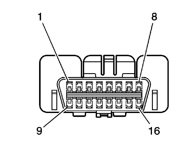
If you look below at pic 1, it shows the data link connector and pin numbering. Pic 2 shows what each pin is for.

First, check pin 16 for power. It should have power at all times. If that is good, check pins 4 and 5 for continuity to ground.

Let me know what you find.

Take care,

joe

See pics below.
Was this
answer
helpful?
Yes
No
Friday, August 18th, 2023 AT 11:25 PM

Please login or register to post a reply.