HOME
ASK A QUESTION
REPAIR GUIDES
BECOME A MEMBER
LOG IN
Login with Facebook
OR
Remember me
NOT A MEMBER?
FORGOT PASSWORD?
CONTACT US
PRIVACY POLICY
TERMS AND CONDITIONS
☰
Home
Chevrolet
Suburban
Climate Control
Blower Fan
Replace/Remove
Rear A/C fan switch removal
CBPJ
MEMBER
1990 CHEVROLET SUBURBAN
165,000 MILES
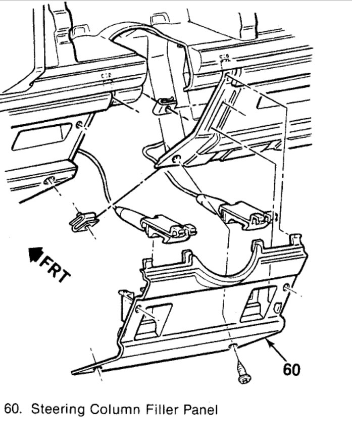
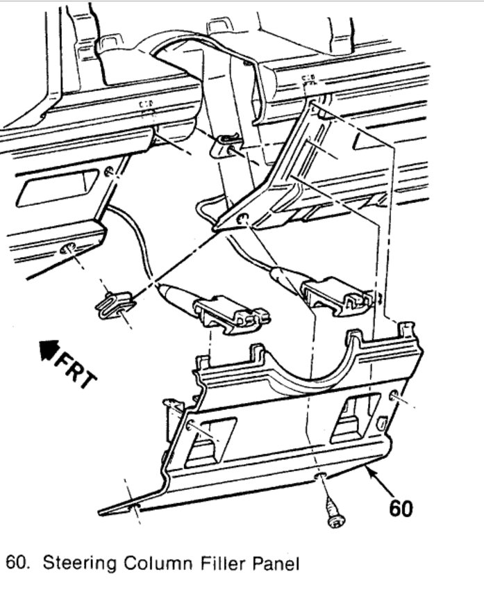
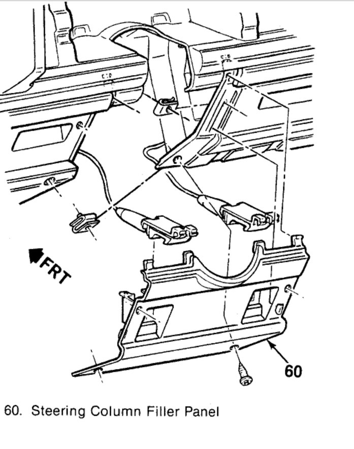
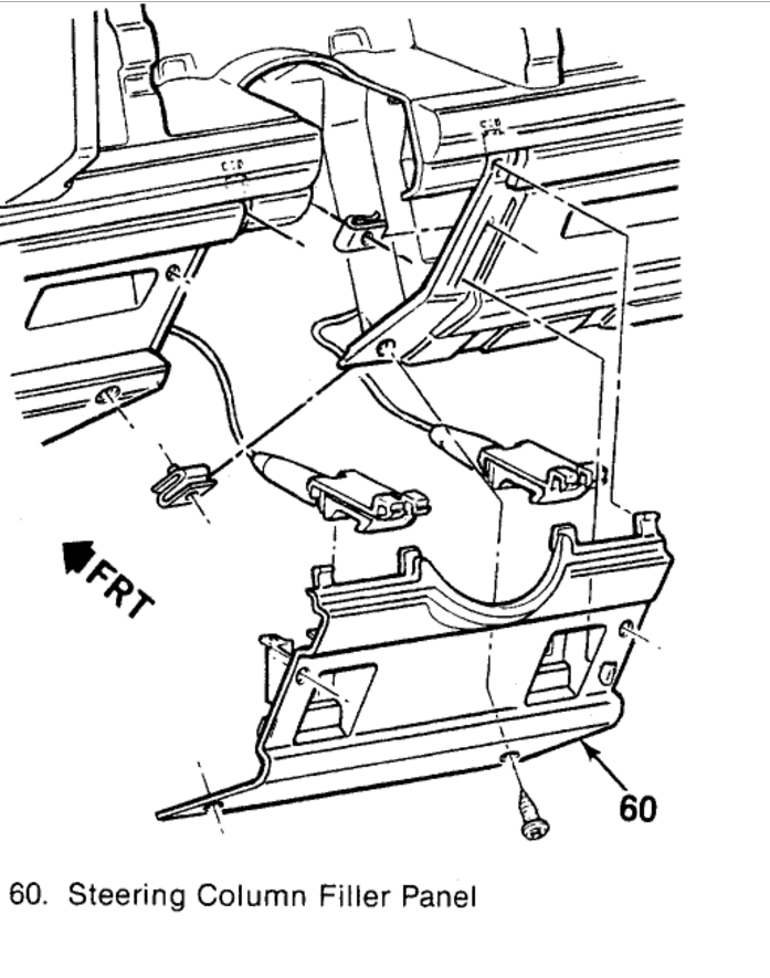
How do you remove the rear A/C fan switch?
Monday, July 24th, 2017 AT 11:14 AM
1 Reply
KEN L
MASTER CERTIFIED MECHANIC
55,499 POSTS
Hello,
You must remove the dash panels to gain access to the switch here are some diagrams (below) that will help you get the job done.
Please let us know if you need anything else to get the problem fixed.
Cheers, Ken
Images (Click to make bigger)
Was this
answer
helpful?
Yes
No
Monday, July 24th, 2017 AT 3:51 PM
Please
login
or
register
to post a reply.
Related Blower Fan Replace/Remove Content
2001 Chevy Suburban Replacing Rear Blower Motor
I Bought A Recycled Rear Blower Motor And Need To Replace The One On The Truck. Where Is It? And Can I Do This Myself?
Asked by
Suburban Commando
·
1 ANSWER
2001
CHEVROLET SUBURBAN
VIDEO
How to Replace the A/C Blower Motor
Instructional repair video
1996 Chevy Suburban Low Air Flow In Front, Hot Air...
I Changed Blowers Because Of A Bad Bearing Making Noise. After Installed The New Blower (which I Have Bench Tested For Proper Turning) I Get...
Asked by
TexasRedeye
·
2 ANSWERS
1996
CHEVROLET SUBURBAN
2003 Chevy Suburban Blower Is Draining Battery
Electrical Problem 2003 Chevy Suburban V8 Four Wheel Drive Automatic After The Engine Is Off And The Key Removed, A Blower Continues...
Asked by
cjsmith16
·
2 ANSWERS
2003
CHEVROLET SUBURBAN
2003 Chevy Suburban Blower Motor
Air Conditioning Problem 2003 Chevy Suburban V8 Four Wheel Drive Automatic How Do I Replace The Blower Motor In My 2003 Suburban?
Asked by
GBrandt
·
1 ANSWER
2003
CHEVROLET SUBURBAN
2002 Chevy Suburban Blower Motor
Heater Problem 2002 Chevy Suburban V8 Four Wheel Drive Automatic How Do You Replace The Blower Motor On A 02 Suburban
Asked by
RAC51
·
1 ANSWER
2002
CHEVROLET SUBURBAN
VIEW MORE
Ask a Car Question. It's Free!
How to Use a Test Light
How to Vacuum Down and Recharge Your A/C
Fix an Air Conditioning Not Working Video