Radio volume increases on its own

Tiny
JR47
  • MEMBER
  • 1999 PONTIAC GRAND PRIX
  • 3.8L
  • V6
  • 2WD
  • AUTOMATIC
  • 281,243 MILES
My radio volume will randomly go up to maximum level. I didn't mind it at first but it's started doing it more often whether using the controls on the steering wheel or the knob on the radio itself. Looking for any ideas on what to check or look for.
Sunday, May 30th, 2021 AT 11:50 PM

3 Replies

Tiny
STEVE W.
  • MECHANIC
  • 15,615 POSTS
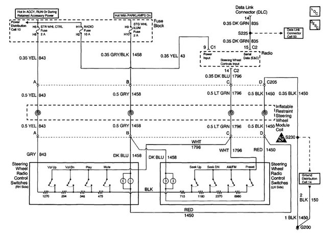
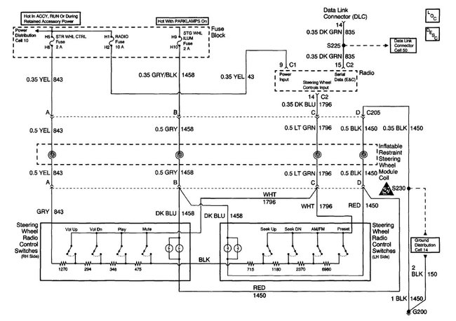
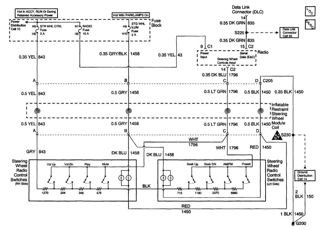
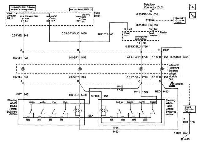
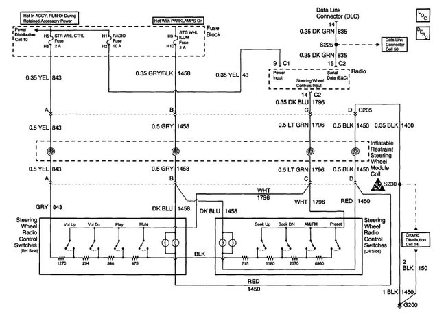
Okay, a couple questions first. Is it only the volume that changes? It doesn't change the channels or source or skip to other songs like you were pushing the buttons on the steering wheel? If it's only the volume and nothing else it wouldn't be the steering controls or clockspring as those use changes in resistance to change the various items and a bad wire or shorting would change the other items as well as only the volume. So the next thing is to determine if it is internal to the radio and not in the wiring, for that you can pull the steering wheel control fuse, it is a 10 amp fuse in the fuse box on the right side of the dash behind the glove box area. With it out the steering wheel controls are disabled. If the volume still acts up then the issue is likely internal to the radio head itself and is a bad solder joint or failing component. Both are somewhat common with modern solder. If that is the case repair or replacement of the unit is required. For that you remove the trim panel under the dash on the drivers side, then lower the steering column and then the panel pulls off from the clips. There are 4 screws that secure the radio in place. Then disconnect the wiring and reverse the process to put the replacement in. If the radio is an RDS version you will need to have a dealer run the codes to unlock the replacement unit.
Was this
answer
helpful?
Yes
No
Monday, May 31st, 2021 AT 8:28 AM
Tiny
JR47
  • MEMBER
  • 120 POSTS
It doesn't change the channel or the source it's only the volume. I will try pulling the the fuse for the steering wheel controls and see what happens.
Was this
answer
helpful?
Yes
No
Monday, May 31st, 2021 AT 2:13 PM
Tiny
STEVE W.
  • MECHANIC
  • 15,615 POSTS
That's what I'm afraid of, the system uses just two wires that vary the resistance as the switches are pressed to control all of the functions, if it is only changing a single function it isn't likely the controls or the clock spring, which is actually a good thing as that also powers the air bag and is a pain to change.
Was this
answer
helpful?
Yes
No
Monday, May 31st, 2021 AT 3:06 PM

Please login or register to post a reply.