Radio only picks up 1 or 2 radio stations

Tiny
EGUNS80
  • MEMBER
  • 2003 GMC ENVOY
  • 4.2L
  • V6
  • 4WD
  • AUTOMATIC
  • 148,000 MILES
I recently bought a 2003 GMC Envoy and my radio only picks up 1 or 2 radio stations, when it decides to pick up any stations, sometimes it says none when I do a search or scan, what could be the problem?
Sunday, January 27th, 2019 AT 10:47 AM

4 Replies

Tiny
KEN L
  • MASTER CERTIFIED MECHANIC
  • 55,488 POSTS
Hello,

It sounds like the radio antenna module is going out or is not connected or connector wire is bad. Here are diagrams to help you check things out to see if there are connected/condition I also included the radio wiring diagrams so you can see how the system works. Check out the diagrams (Below). Please let us know what you find. We are interested to see what it is.
Was this
answer
helpful?
Yes
No
Wednesday, March 31st, 2021 AT 5:38 PM
Tiny
JACOBANDNICKOLAS
  • MECHANIC
  • 110,194 POSTS
Hi and thanks for using 2carpros. Com

The first thing I would suggest is to check the antenna's connection in the rear of the radio. If it is loose, it won't work. On this vehicle there is an antenna cable as well as an extension cable. I am going to attach the directions for replacing both. Confirm that where the join, nothing is loose. All attached pictures correlate with these directions,

ANTENNA EXTENSION CABLE REPLACEMENT
ANTENNA EXTENSION CABLE REPLACEMENT

REMOVAL PROCEDURE
1. Remove the inflatable restraint instrument panel (IP) module.

Pic 1
2. Disconnect the antenna cable (2) from the radio extension cable.

Pic 2
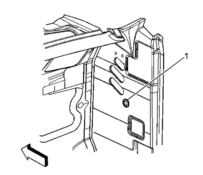
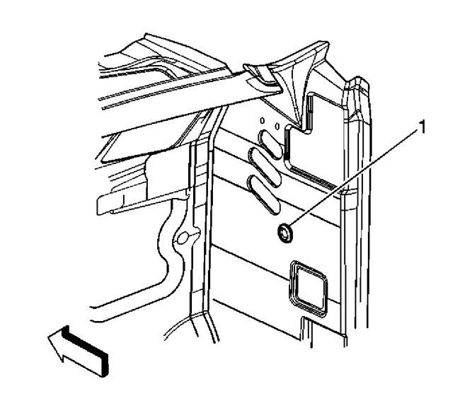
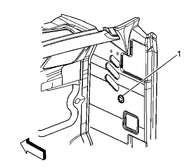
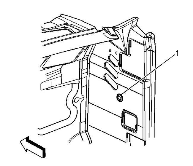
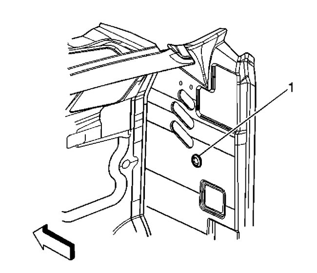
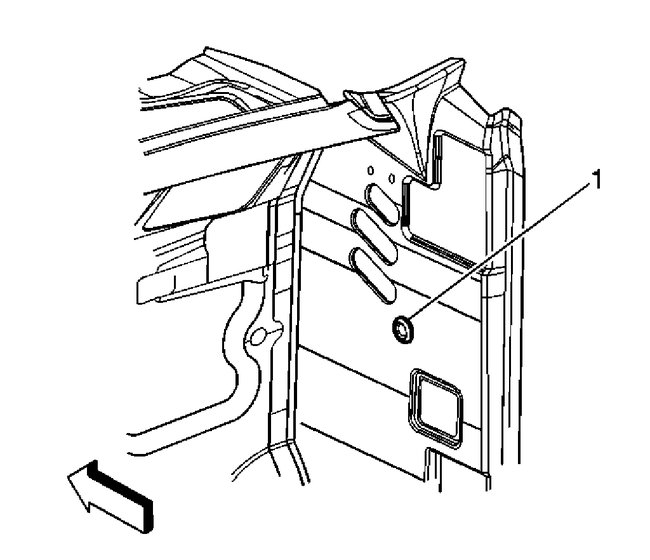
3. Remove the cable attachments (1) from the IP support bars.

IMPORTANT: Note the location of the radio extension cable before removal.

4. Reach through the IP compartment to disconnect the antenna cable from the radio.
5. Remove the radio extension cable from the vehicle.

INSTALLATION PROCEDURE

pic 3

1. Position the radio extension cable to the IP support bars as previously noted.
2. Reach through the IP compartment to connect the antenna cable to the radio.
3. Install the radio extension cable attachments (1) to the IP support bars.

Pic 4
4. Connect the antenna cable (2) to the radio extension cable.
5. Install the inflatable restraint module.

__________________________

Antenna cable replacement

ANTENNA CABLE REPLACEMENT

REMOVAL PROCEDURE

pic 5
1. Open the instrument panel (I/P) compartment to a full down position.
2. Disconnect the radio antenna cable (2) from the radio extension cable.
3. Remove the lower rear portion of the wheelhouse panel.

Pic 6
4. Reach up behind the wheelhouse panel and remove the antenna cable and grommet assembly from the cowl opening (1).
5. Pass the end of the radio antenna cable assembly through the cowl opening (1).
6. Remove the antenna mast.
7. Open the hood.

Pic 7
8. Remove the radio antenna cable assembly retaining screws.
9. Pass the antenna cable and grommet assembly through the fender opening.
10. Remove the radio antenna cable assembly from the vehicle.

INSTALLATION PROCEDURE

pic 8
1. Install the radio antenna cable assembly to the vehicle.
2. Pass the antenna cable and grommet assembly through the fender opening.
3. Install the radio antenna cable assembly retaining screws.

NOTE: Refer to Fastener Notice in Service Precautions.

Tighten
Tighten the radio antenna cable assembly screws to 2.8 N.M (25 lb in).

4. Close the hood.
5. Install the antenna mast.

Pic 9

6. Reach up behind the wheelhouse panel and pass the end of the radio antenna cable assembly through the cowl opening (1).
7. Install the antenna cable grommet assembly to the cowl opening.
8. Install the wheelhouse panel.

Pic 10
9. Install the radio antenna cable (2) to the radio extension cable.
10. Close the I/P compartment.

________________________________________

Let me know if this helps or if you have other questions.

Take care,
Joe
Was this
answer
helpful?
Yes
No
+1
Wednesday, March 31st, 2021 AT 5:38 PM
Tiny
EGUNS80
  • MEMBER
  • 92 POSTS
Ok thanks ill try these and let you know
Was this
answer
helpful?
Yes
No
Wednesday, March 31st, 2021 AT 5:38 PM
Tiny
JACOBANDNICKOLAS
  • MECHANIC
  • 110,194 POSTS
You're welcome. Let me know what you find or if you have other questions.

Take care,
Joe
Was this
answer
helpful?
Yes
No
Wednesday, March 31st, 2021 AT 5:38 PM

Please login or register to post a reply.