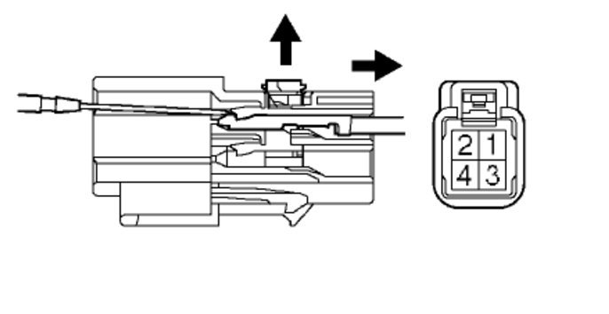
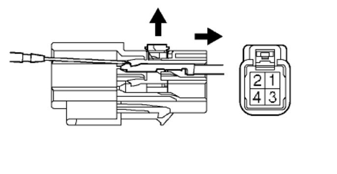
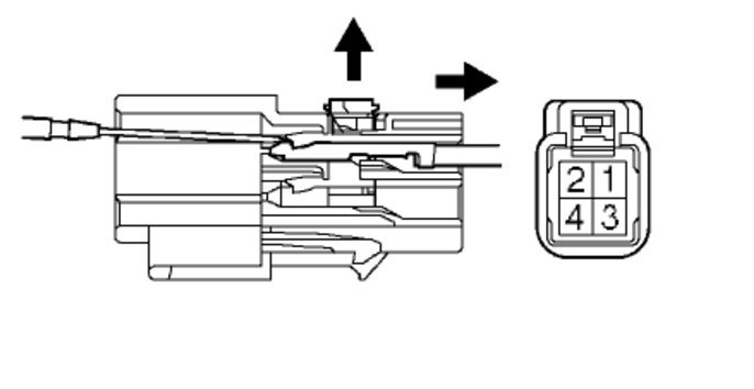
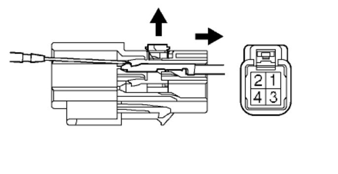
Saturday, June 9th, 2018 AT 2:29 AM
I replaced my engine. Now it will not start. Initially the ignition key would go to accessories, but now it will not. No power to the headlights but power to the tail lights. I adjusted the transmission cable to align the floor shift still no movement on the ignition switch.








