Friday, April 13th, 2018 AT 12:50 PM
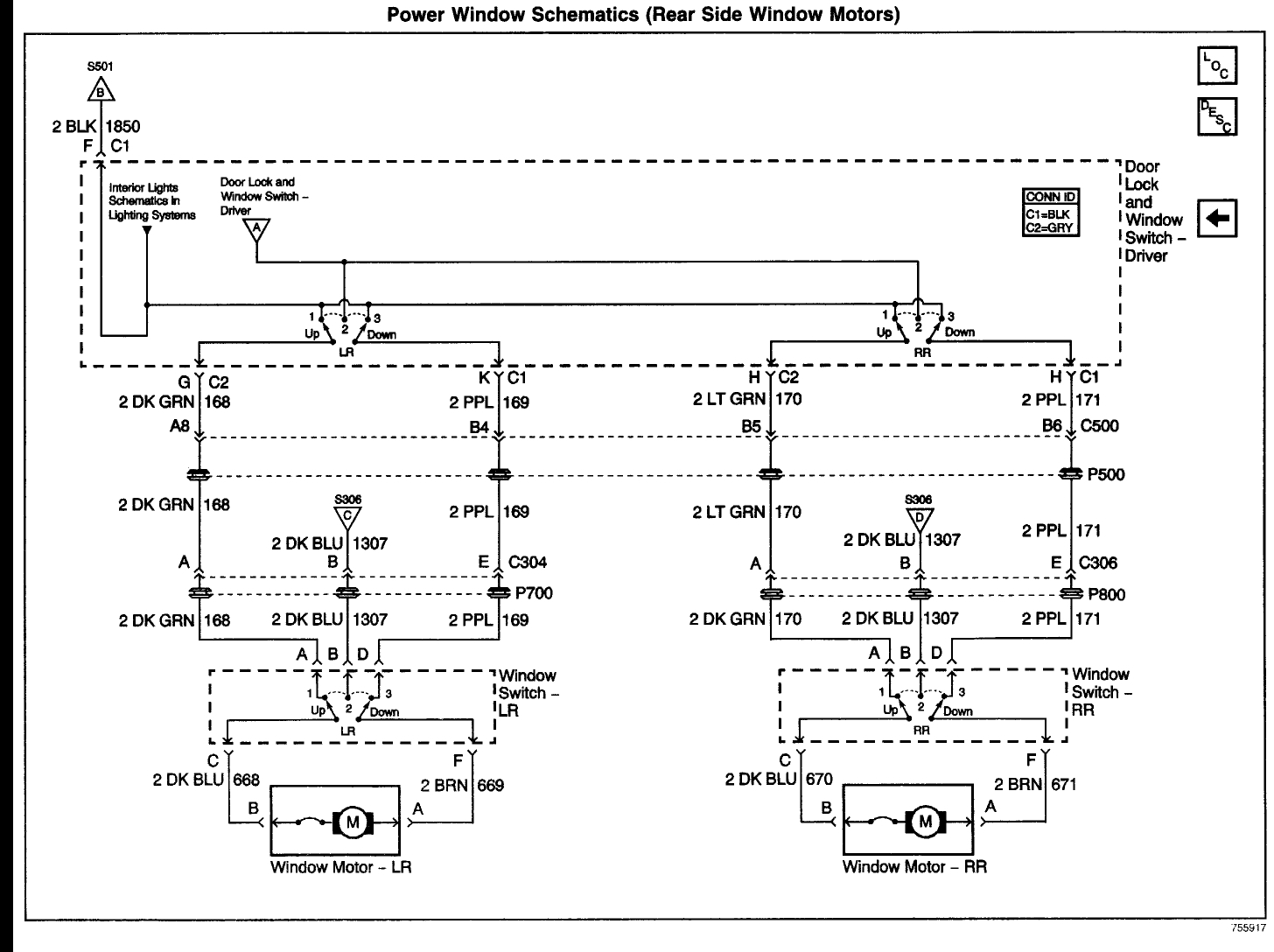
Driver side window switch, the wiring harness coming into the back seems to have no power. No other windows will work, even from their doors. I had already replaced the switch before realizing there was no power coming in. Locks, mirrors and everything else works. Is there a windows only fuse?


