Poor air/fuel mixture?

Tiny
SPINN9
  • MEMBER
  • 1994 GMC C1500
  • 5.7L
  • V8
  • 2WD
  • AUTOMATIC
  • 200,000 MILES
My truck hesitates upon acceleration, it even feels like the transmission slips at first acceleration. No power if going uphill, rough idle, almost stalls when coming to a stop, and I quickly switch to neutral gear as I approach a stop sign etc.
The truck is in very poor condition from it being 1st, an older model, not having been maintained appropriately, and having well over 200,000 miles. -This is just the 1st issue I will be asking you about, so I want to thank you in advance for your incredible answers to vehicle issues!
Tuesday, January 17th, 2023 AT 12:15 PM

3 Replies

Tiny
JACOBANDNICKOLAS
  • MECHANIC
  • 110,194 POSTS
Hi,

What you described could be anything from an engine vacuum leak, fuel pressure issue, timing, a partially plugged catalytic converter, and so on.

So, we need a starting point. Here is what I need you to do. The truck has an OBD1 system. To retrieve diagnostic trouble codes, you don't need a scan tool. All that is needed is a short jumper wire or even a paper clip.

Follow the directions in this link and let me know what codes are found. They will point us in the right direction.

https://www.2carpros.com/articles/buick-cadillac-chevy-gmc-oldsmobile-pontiac-gm-1983-1995-obd1-code-definitions-and-retrieval-method

Let me know what you find.

Joe
Was this
answer
helpful?
Yes
No
Wednesday, January 18th, 2023 AT 7:29 PM
Tiny
SPINN9
  • MEMBER
  • 2 POSTS
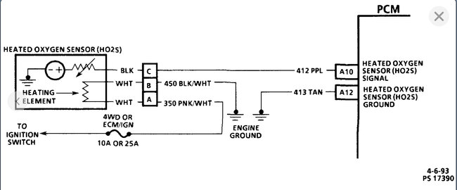
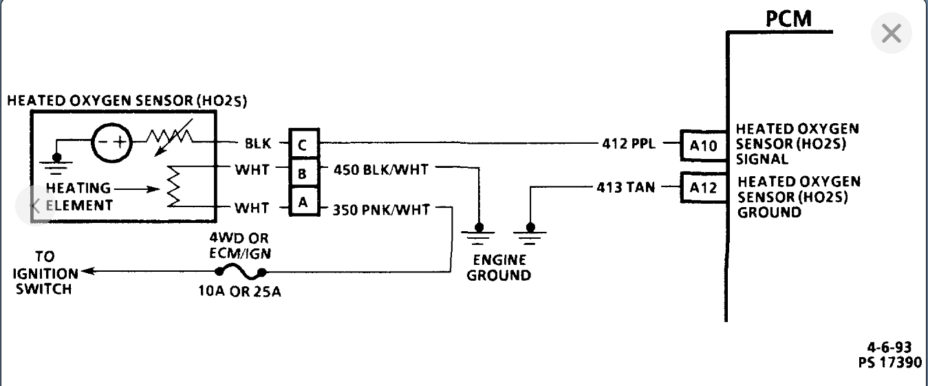
Hello, so I jumped the OBD1 and the reading was "code13", which is oxygen sensor circuit open. How do I tackle this? And I ran out of gas turning it over the other day. It's parked-on a down wards hill which isn't too good I think I heard something on that.
Was this
answer
helpful?
Yes
No
Thursday, January 26th, 2023 AT 10:19 AM
Tiny
JACOBANDNICKOLAS
  • MECHANIC
  • 110,194 POSTS
Hi,

If the fuel tank is low enough, parking downhill can prevent the pump from picking up the fuel. As far as the code is concerned, that can be causing a rich or lean fuel mixture.

Since the code is specific to an open circuit, it could be a broken wire, a bad connector, or the sensor itself has failed. There are several other things as well, but this is where I would start testing.

First, make sure there are at least 5 gallons of fuel in the tank. I'm suggesting this because of the hill it is on. Also, just do a quick check of the wiring and connectors to the oxygen sensor. Make sure nothing is damaged, corroded, or disconnected.

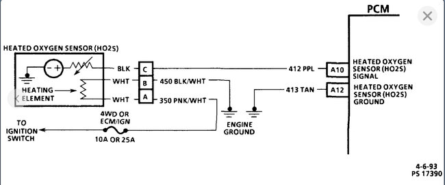
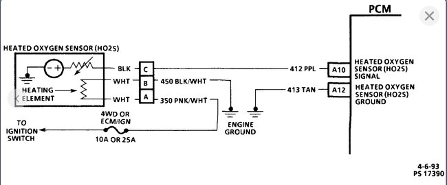
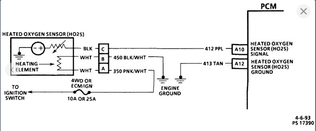
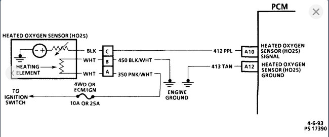
Next, follow the diagnostics below. Take a look through them and let me know if you are comfortable performing them and if you have questions.

Let me know what you find. Also, not that the attachments include a description of the code and what causes it to be set.

Take care and let me know.

Joe

See pics below.
Was this
answer
helpful?
Yes
No
Thursday, January 26th, 2023 AT 1:52 PM

Please login or register to post a reply.