Hello -
I believe this is the info you need.
Lock Replacement - Rear Door
Notes
Lock Replacement - Rear Door
Removal Procedure
Important: Do not attempt repairs in order to correct lock discrepancies. Replace the lock.
Remove the rear door trim panel .
Remove the rear door water deflector.

Open the outside handle rod to lock clip located on the door lock. The door handle rod should be loose from the lock.
Remove the inside door handle.

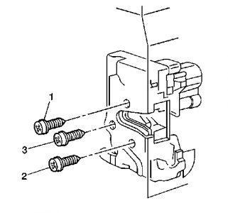
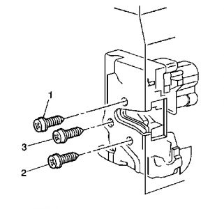
Remove the screws (1, 3, 2) securing the lock to the door (1).
Remove the door lock and rods through the access hole in the door inner panel.

Disconnect the electrical connector (2) from the lock by pulling out the tab (1).
Installation Procedure

Connect the electrical connector (2) to the lock by pushing in on the tab.
Install the lock and rods through the access hole in the inner door panel.

Notice: Refer to Fastener Notice in Cautions and Notices.
Install the screws (1, 3, 2), securing the lock to the door. Install the top screw first (1), then the bottom (2) and lastly the middle screw (3). Tighten the screws to 10 N.m (89 lb in).
Install the inside door handle. Refer to Door Handle Replacement - Rear Inside

Important: The outside handles have adjustable outside handle lock rods. This allows for adjustment of the amount of travel needed in order to operate the outside handle.
When servicing a vehicle with adjustable outside handle lock rods, remove all free play between the outside handle and the lock. Also, do not operate the outside handle before these connections are made.
Install the outside handle rod into the clip.
Close the clip over the outside handle rod.
Inspect the door for proper operation.
Install the rear door water deflector.
Install the rear door trim panel.
Monday, January 12th, 2009 AT 9:38 PM