Hello --
I would think it is a defective Hazard warning switch. On your model the Hazard Flasher and Turn Signal Flasher have been integrated with the Hazard Lamp Switch.
I have attached how to change.
HAZARD WARNING SWITCH REPLACEMENT - ON VEHICLE
REMOVAL PROCEDURE

Remove the Instrument panel (IP) accessory trim plate.
Remove the bracket screws from the IP accessory switch mounting plate.

Remove the bracket.

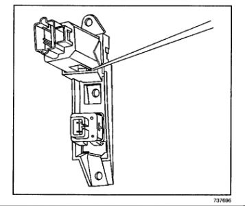
Use a small flat-bladed tool in order to depress and release the hazard warning switch retainers. Press the switch out with your thumb.

Remove the hazard warning switch.
INSTALLATION PROCEDURE

Position the hazard warning switch to the bracket.

Install the switch to the bracket by pressing into place until fully seated.

Position the bracket to the IP accessory trim plate. NOTE: Refer to Fastener Notice in Service Precautions.

Install the mounting plate bracket screws to the IP accessory switch. Tighten Tighten the screws to 3 N.m (27 lb in) .
Install the IP accessory trim plate.
Friday, November 7th, 2008 AT 10:55 PM