Ignition switch replacement

Tiny
JEREMIAH1987
  • MEMBER
  • 2000 PONTIAC GRAND AM
How do I take out and replace ignition lock switch
Saturday, May 22nd, 2010 AT 3:58 PM

1 Reply

Tiny
BLUELIGHTNIN6
  • MECHANIC
  • 16,542 POSTS
Hello,

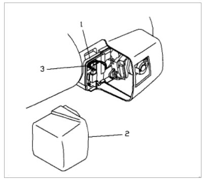
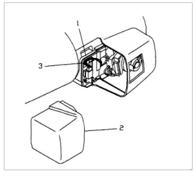
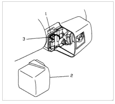
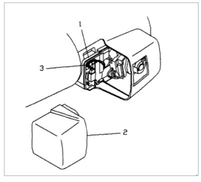
Here are the instructions on how to change out the ignition switch I would get the new one from the dealer be sure to bring the VIN number so they can program it for you before you install it. Check out the diagrams (Below). Please let us know if you need anything else to get the problem fixed.
Was this
answer
helpful?
Yes
No
+1
Sunday, May 23rd, 2010 AT 12:55 PM

Please login or register to post a reply.