The drive belt drives all engine mounted accessories. All driven accessories are rigidly mounted to the engine. Drive belt tension is maintained by a spring loaded belt tensioner. A belt squeak when the engine is started or stopped is normal and has no effect on belt durability. The drive belt tensioner can control belt tension over a broad range of belt lengths.
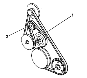
Rotate the tensioner (2) counter-clockwise to remove the drive belt (1).
Remove the accessory drive belt (1) from the engine.
Installation Procedure
Position the accessory drive belt (1) to the pulleys.
Rotate the tensioner (2) counter-clockwise to install the drive belt (1).

Saturday, January 23rd, 2010 AT 1:56 PM