PCM,BCM, U/H relay fuse keeps blowing

2000 BUICK CENTURY
182,576 MILES • 6 CYL • 2WD • AUTOMATIC
Avatar
JYEARY91
  • MEMBER
  • 26 POSTS
It started by blowing the fuse every time I tried starting it, but if I unplug the last plug from the black box under the steering column.
Apr 6, 2020 at 9:34 AM
Repair Safety Notice: This information is for general instructional purposes only. Vehicle repair can be dangerous. Verify all information, follow manufacturer service procedures, use proper tools and safety equipment, and consult a qualified repair shop when needed.
Advertisement
Avatar
KASEKENNY
  • CAR REPAIR CONTRIBUTOR
  • 18,907 POSTS
Okay. We need some more info to figure this out. Can you get a picture of the box under the steering column with the connector unplugged so we can try to narrow this down?

Clearly you have something drawing to much current but it would be great to narrow it to one circuit so let's start with this and go from there. Thanks
Apr 6, 2020 at 9:43 AM
Advertisement
Avatar
JYEARY91
  • MEMBER
  • 26 POSTS
It's the PCM,BCM, U/H relay.
Apr 6, 2020 at 10:22 AM
Avatar
KASEKENNY
  • CAR REPAIR CONTRIBUTOR
  • 18,907 POSTS
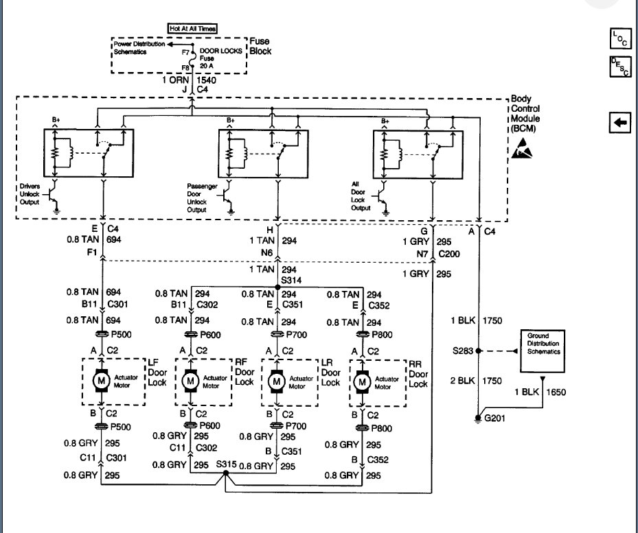
Okay. I should have been a little more specific. Sorry. We are trying to find out what actual connector that is on the BCM so that we can narrow the issue down to one circuit to find out what is blowing the fuse. Basically just hold it in the position it mounts and tell me which connector it is. It looks like it is number 2 C4. Can you confirm this?

if that is the case, we will need to see what else is on that connector and then start unhooking those components one at a time with that BCM connector remaining connected until we find the component or wire that is blowing the fuse.
Apr 6, 2020 at 11:24 AM
Avatar
JYEARY91
  • MEMBER
  • 26 POSTS
Is this the picture of what y'all need?
Apr 6, 2020 at 1:38 PM
Avatar
JYEARY91
  • MEMBER
  • 26 POSTS
And yes I believe it's 2 c4.
Apr 6, 2020 at 1:40 PM
Avatar
KASEKENNY
  • CAR REPAIR CONTRIBUTOR
  • 18,907 POSTS
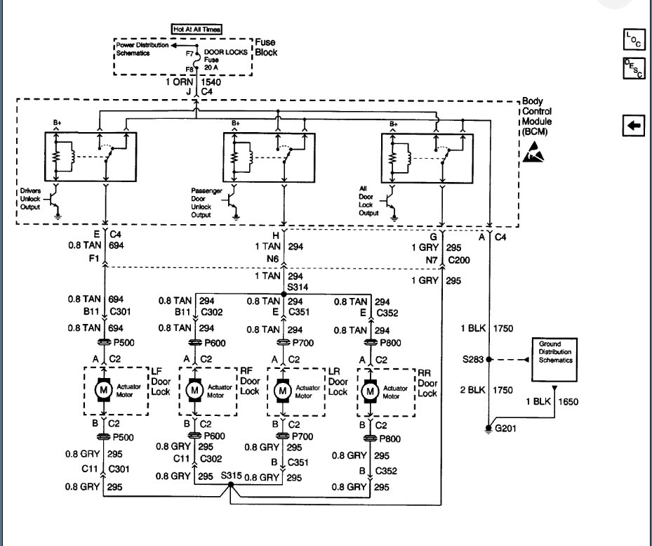
Okay. So this connector basically just runs the actuator motors for the door lock actuators. There is no easy way to do this other then, unhook all the actuators in all the doors and then install a new fuse, connect the BCM connector and start the vehicle to see if everything works and the fuse does not blow. Then go through and connect them one at a time until it blows again.

Clearly if it still blows with all these unhooked then it was not this. However, if you have that connector unhooked then and it starts and that fuse does not blow then I suspect one of these actuators is shorted.

Let me know if you have questions.
Apr 6, 2020 at 2:02 PM
Avatar
JYEARY91
  • MEMBER
  • 26 POSTS
Well, when I unplug the connection from BCM it shuts off my gauges too. I have no speedometer or temperature or battery gauge.
Apr 6, 2020 at 2:27 PM
Avatar
JYEARY91
  • MEMBER
  • 26 POSTS
And I have a 20 amp fuse in place of the 10 that blew and it doesn't blow but there are 2 wires that get hot. The pink and a blue I think.
Apr 6, 2020 at 2:30 PM
Avatar
KASEKENNY
  • CAR REPAIR CONTRIBUTOR
  • 18,907 POSTS
Okay. Let's unhook the actuators with the 10 amp fuse in place. We don't want to put a larger fuse in place because that is going to damage some wires or modules as there is too much current for those circuits. That is why the wires are getting hot. Basically you are going to turn the module circuit boards and wiring into the fuse and once that happens, it is harder to find. The point of the fuse is to protect all those so let's leave it as 10 amp. You may replace a lot of them but it is better those then a module.
Apr 6, 2020 at 2:50 PM
Avatar
JYEARY91
  • MEMBER
  • 26 POSTS
Okay, so I unplugged the door locks and it's still blowing.
Apr 6, 2020 at 4:43 PM
Avatar
JYEARY91
  • MEMBER
  • 26 POSTS
Are you sure that's all it controls is the door activator?
Because i have no gauges.
Apr 6, 2020 at 5:36 PM
Avatar
KASEKENNY
  • CAR REPAIR CONTRIBUTOR
  • 18,907 POSTS
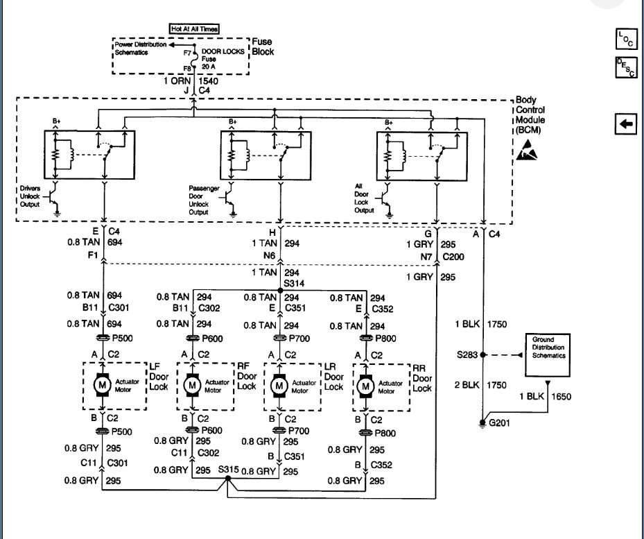
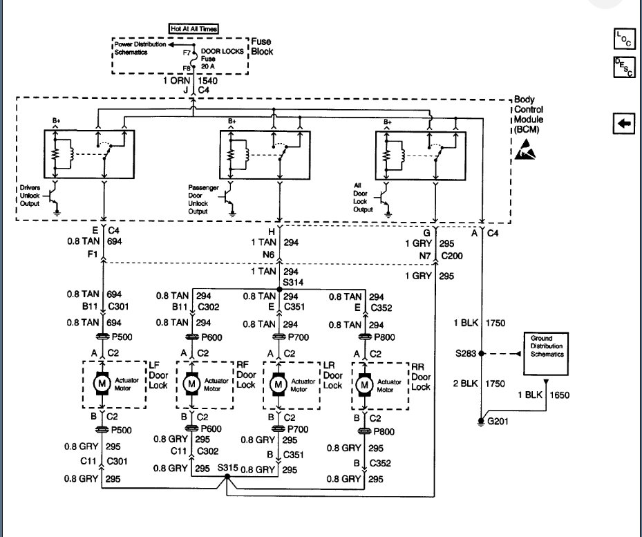
I show the BCM and cluster/gauges communicate on one wire only which is in C2 so if you are unplugging this connector and the gauges go away must be something else where the BCM communicates with the PCM causing the gauges to shut off.

According to the wiring diagram this connector from the BCM only controls the door actuators. So can you clarify that when you unhooked the "door locks" that it was the actuator behind the door panels and not just the switch?
Apr 7, 2020 at 7:10 PM
Avatar
JYEARY91
  • MEMBER
  • 26 POSTS
I unplugged the door locks and I think it was just the switch.
Apr 7, 2020 at 9:34 PM
Avatar
KASEKENNY
  • CAR REPAIR CONTRIBUTOR
  • 18,907 POSTS
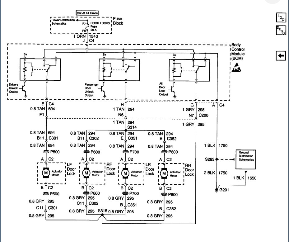
Okay. I should have been more specific. The lock actuator inside the door panel is what the connector from the BCM is feeding. See the attached process. I think you can just remove the door panels and unplug them. You don't need to remove them, just access them and unplug them.
Apr 8, 2020 at 5:27 PM
Avatar
JYEARY91
  • MEMBER
  • 26 POSTS
Unplugged all the door connections just to make sure I was unplugging the right one and it still blows the fuse.
Apr 10, 2020 at 6:43 PM
Avatar
KASEKENNY
  • CAR REPAIR CONTRIBUTOR
  • 18,907 POSTS
Sorry for the delay. 2+2 is not equaling 4 on this. I suspect we have the wrong connector on the wiring diagram. The connector that you unplug to cause the the fuse not to blow, is not C4.

Let's try to confirm that. Can you put a new fuse in, unplug that connector so it doesn't blow and then operate the door switches (with the connector of the doors all plugged back in, obviously)? If everything on the door, specifically the locks, work then the connector that we are looking at on the wiring diagram is not correct.

At that point I would like to try to limit the connector that causes the fuse to blow down to one circuit. So let me know how you are at either taking that connector apart to remove the circuits one at a time or we can just clip the wires if you can solder them back together. Basically we just need to clip one of the wires, put in a new fuse and see if it blows. If it does, we fix that one and clip the next one (don't leave them all cut because we don't want to risk crossing them when putting them all back together). Then continue this until we have one wire cut and the fuse does not blow. Then we can figure out what circuit that is.
Apr 11, 2020 at 7:11 AM
Avatar
JYEARY91
  • MEMBER
  • 26 POSTS
Okay, it's this pink wire causing all the problems.
Apr 11, 2020 at 2:05 PM
Avatar
JYEARY91
  • MEMBER
  • 26 POSTS
Sorry for my delayed reply.
I'm currently moving into our old hose and having to juggle renovation on the house and working on the car. But i do appreciate all your help thus far!
Apr 11, 2020 at 3:56 PM
Avatar
KASEKENNY
  • CAR REPAIR CONTRIBUTOR
  • 18,907 POSTS
No problem at all.

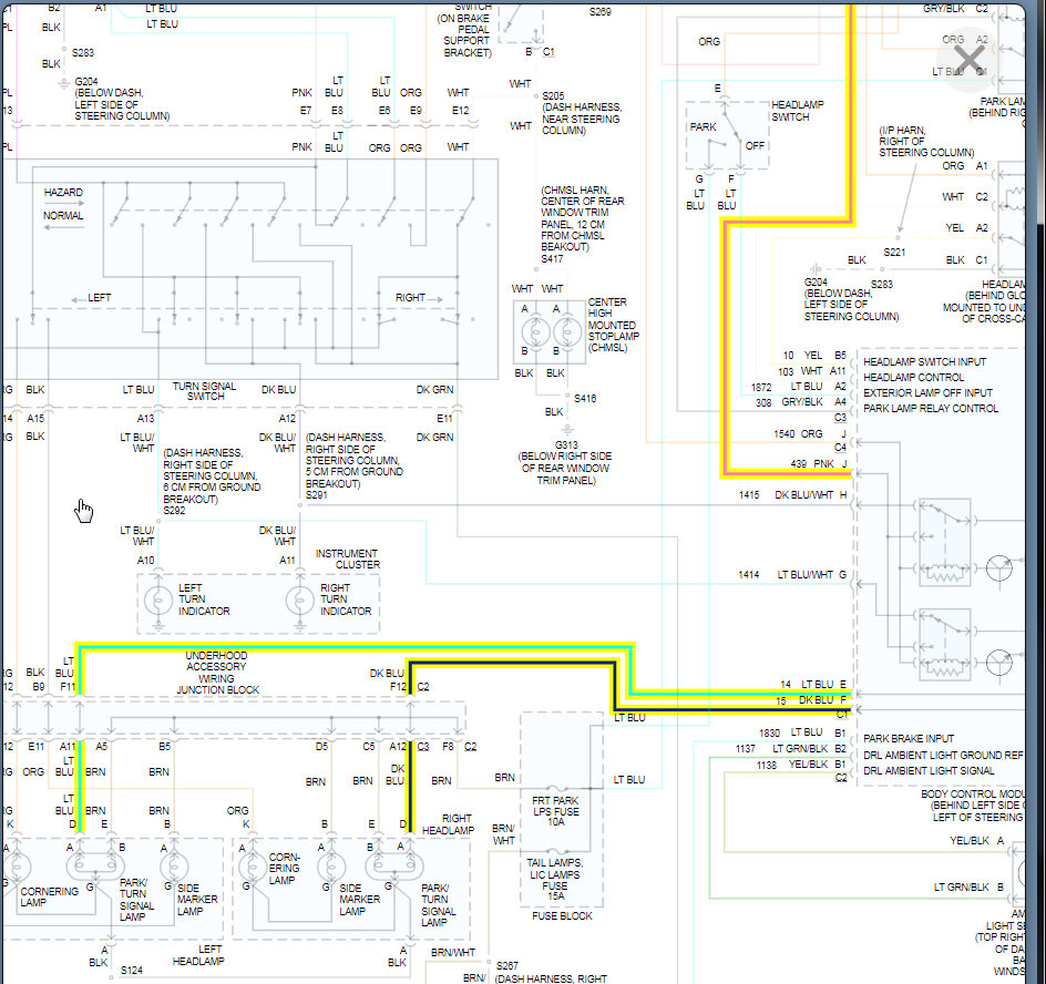
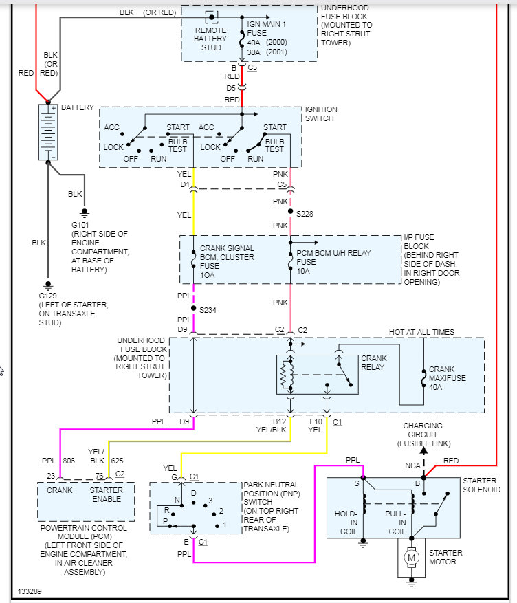
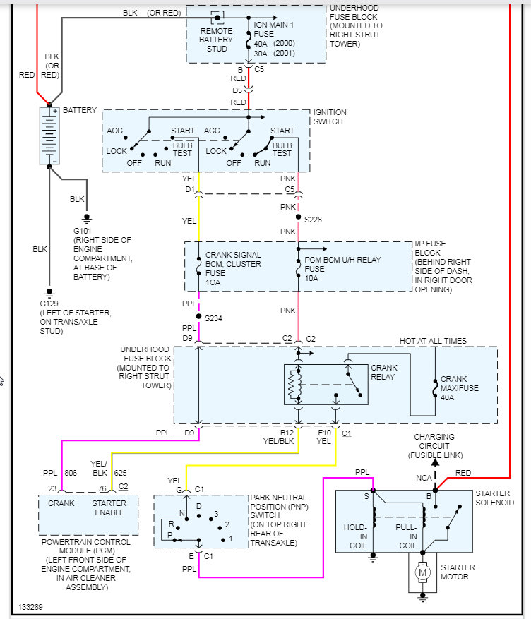
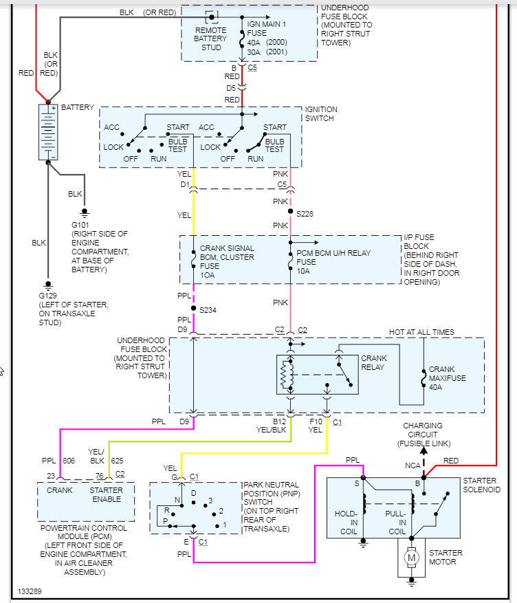
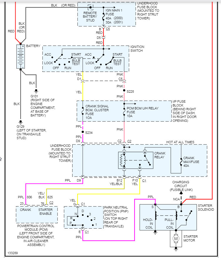
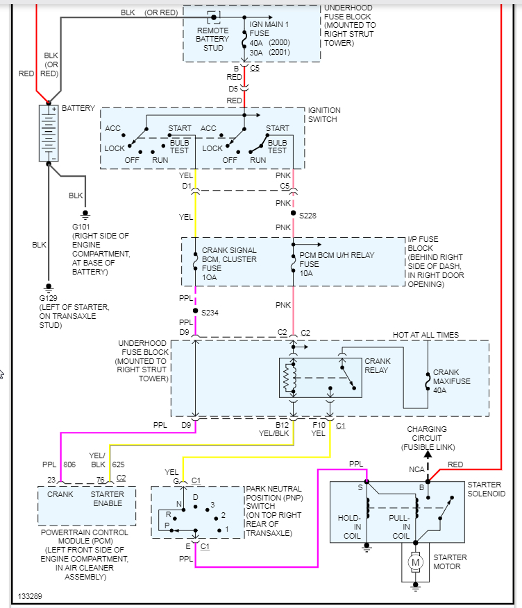
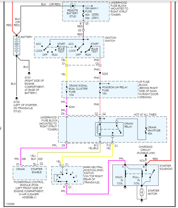
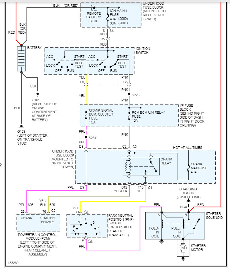
That figures. That is the direct feed from the fuse that is blowing. The second diagram is of the PCM which feeds the ignition positive voltage for the PCM.

However, as you can see the first two diagrams show this circuit running through the under hood fuse block. The third and fifth diagram shows more detail on this circuit breakdown.

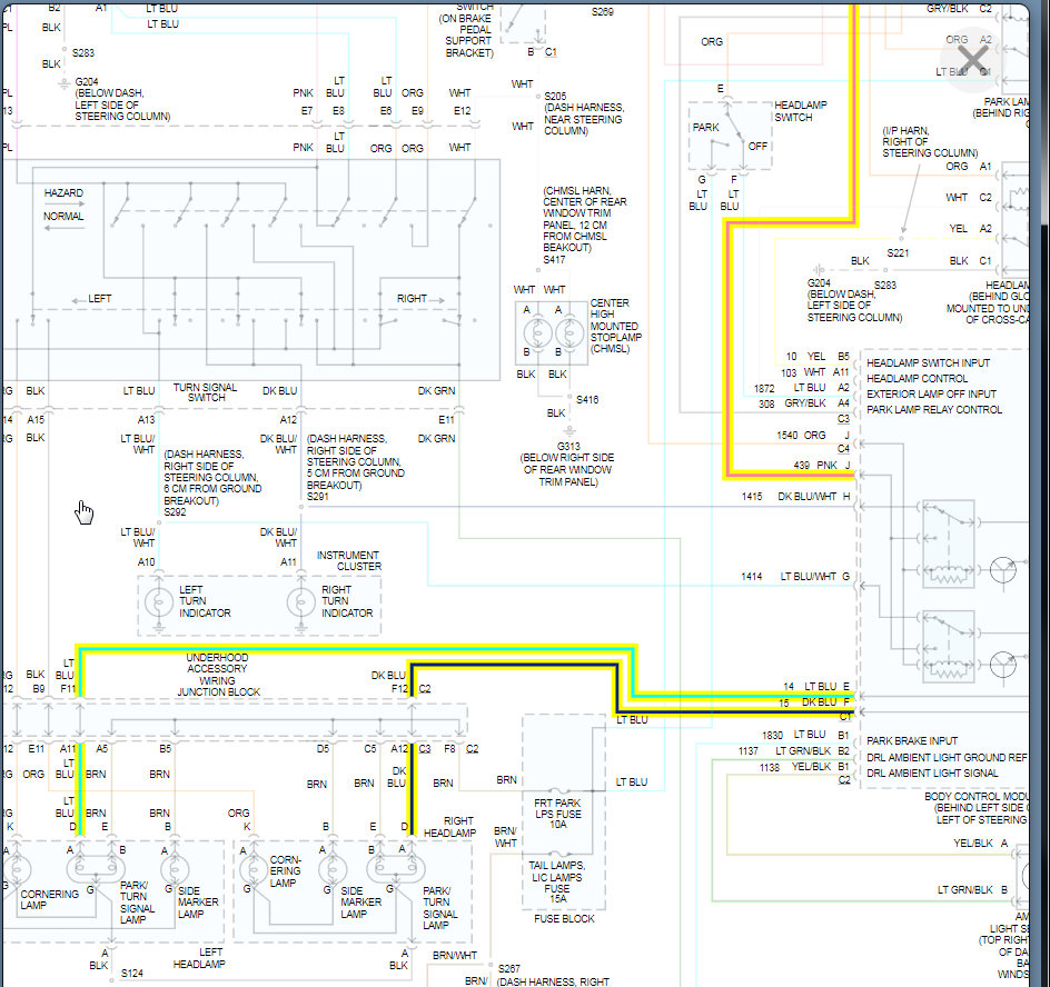
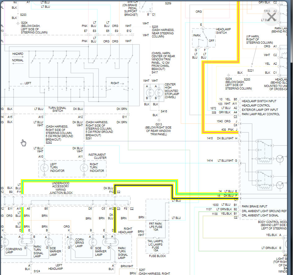
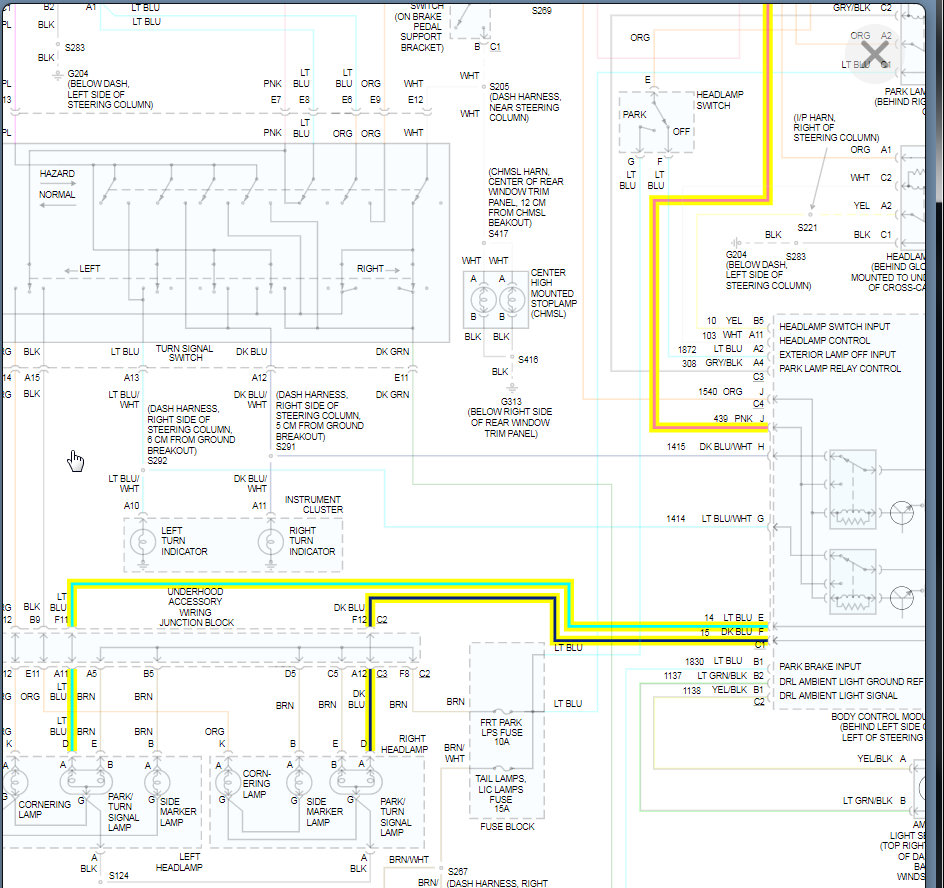
As you can see from the different diagrams, the crank relay is fed off this circuit and I think you said this blows when cranking? If so that could be a faulty relay or the starter, coils, or injectors drawing too much. However, what is odd is that if you unhook the BCM connector (C1) it doesn't blow. This tells me there is something on the BCM side that is causing it. This is why I attached the last diagram. This is the feed for the headlamp assemblies through the BCM. Try unhooking the headlamps and see if it blows.
Apr 11, 2020 at 7:15 PM
Avatar
JYEARY91
  • MEMBER
  • 26 POSTS
Unhook them from the BCM?
Apr 12, 2020 at 11:44 AM
Avatar
JYEARY91
  • MEMBER
  • 26 POSTS
Okay, so when i have the headlights on it doesn't blow the fuse.
Apr 12, 2020 at 1:24 PM
Avatar
KASEKENNY
  • CAR REPAIR CONTRIBUTOR
  • 18,907 POSTS
Interesting. So when them turned on that means we are probably bypassing something when they are off. Do you have daytime running lights or auto on headlights? Let me know how your vehicle is equipped and I will pull that info to see what could be causing the issue.
Apr 13, 2020 at 7:56 AM
Avatar
JYEARY91
  • MEMBER
  • 26 POSTS
They are auto, but I think I have to pull it out like like it's manual. I will know for sure when I get back to the car but it id equipped with auto lights.
Apr 13, 2020 at 12:30 PM
Avatar
KASEKENNY
  • CAR REPAIR CONTRIBUTOR
  • 18,907 POSTS
That is pointing me towards the BCM. At this point if it were me, I would get a BCM for it. Looks like you can get one for less then $100.00 if you can program it. If not, it will be about $100.00 after core return.

Clearly it is still a guess but looking at this wiring diagram the BCM is what will become a pass through when you turn the headlights on. When the lights are off, the BCM is what is determining what comes on and not. If the control side of the BCM is is shorted then it will overload that fuse. You turn the lights on and it is a straight pass through and the fuse doesn't blow.

As I said, this has not been proven but I look at the time it will take to prove out a short on a circuit board vs the cost of a known good one. With what you have found and this info, it is a pretty good bet that the BCM is the issue.
Apr 13, 2020 at 7:06 PM
Avatar
JYEARY91
  • MEMBER
  • 26 POSTS
I've had no blinkers since all this started also.
Apr 13, 2020 at 10:34 PM
Avatar
KASEKENNY
  • CAR REPAIR CONTRIBUTOR
  • 18,907 POSTS
Okay. That adds to my assumption that the BCM is the issue. It controls the turn signals as well. Clearly this could be wrong but from my experience you have a lot of things pointing the BCM and you seem to have proven out most other items.

Clearly it is your choice but I would pull the trigger on the BCM and see what happens.
Apr 14, 2020 at 6:17 PM
Avatar
JYEARY91
  • MEMBER
  • 26 POSTS
So when I buy it from the parts store and have them program the VIN into it do I have to do something else or can i just plug it in?
Apr 15, 2020 at 9:37 PM
Avatar
KASEKENNY
  • CAR REPAIR CONTRIBUTOR
  • 18,907 POSTS
Yes. That is how I understand it but I have not purchased one of these from an actual parts stores. I always get them off online stores as they normally have better prices. I attached the options from the most common online site and they show both their options are already programmed.
Apr 16, 2020 at 6:13 PM
Avatar
SSCOTTY
  • MEMBER
  • 1 POST
I had the exact problem with my 2002 Buick Regal. When the one plug was unplugged from the BCM- car ran fine, but no cluster and windows wouldn't work. Plugged in-blew the fuse. My son had just changed the front turn signal bulbs so I looked and found the coating had fallen off the wires and they were shorting out with each other. The wires are in such bad shape I will likely have to replace both headlight housings. What a poor design.

It wasn't the BCM at all, but literally the front turn signals shut off the entire car. Unplugged the entire housing (both sides) and it’s back to normal.
Apr 4, 2021 at 1:45 PM
Avatar
KASEKENNY
  • CAR REPAIR CONTRIBUTOR
  • 18,907 POSTS
Wow. great info. thanks for the addition to this post as I am sure that info will help others that have the same issue as well.

Please let us know if there are questions that we can help you with in the future. Thanks
Apr 5, 2021 at 5:43 PM