Parking assist sensor in front left bumper replacement

2006 CADILLAC DEVILLE DTS
52,000 MILES
Avatar
IMJOEW11
  • MEMBER
  • 1 POST
How to replace parking assist sensor in front bumper?
Apr 26, 2013 at 7:59 PM
Advertisement
Avatar
CADIEMAN
  • CAR REPAIR CONTRIBUTOR
  • 3,544 POSTS
it's easier if you have a lift or jack it up. make sure you use a jack stand on the frame for safety. Then remove the rubber splash shield if equipped. Just remove the rubber grommets and push it out of your way to gain access to the inner bumper. The sensor is held on by one of two ways. Either has a clip and push up to release it or a bolt that you remove to release it.then just pull it out pushed a new one than re-secure it.
Apr 26, 2013 at 9:39 PM
Advertisement
Avatar
JACOBANDNICKOLAS
  • CAR REPAIR CONTRIBUTOR
  • 110,190 POSTS
Hi,

Here are the directions for replacing the front park assist sensor. The attached pics correlate with the directions.

_________________________________________________

2006 Cadillac DTS V8-4.6L VIN 9
Front Object Alarm Sensor Replacement
Vehicle Sensors and Switches Sensors and Switches - Accessories and Optional Equipment Parking Assist Distance Sensor Service and Repair Procedures Front Object Alarm Sensor Replacement
FRONT OBJECT ALARM SENSOR REPLACEMENT
FRONT OBJECT ALARM SENSOR REPLACEMENT

REMOVAL PROCEDURE


pic 1

1. Remove front bumper fascia.
2. Disconnect electrical from the front object sensor.


pic 2

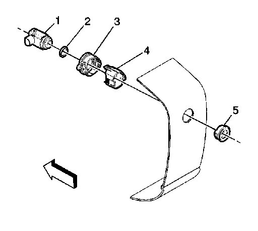
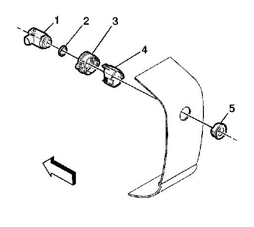
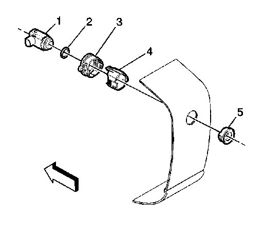
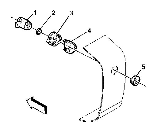
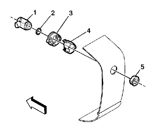
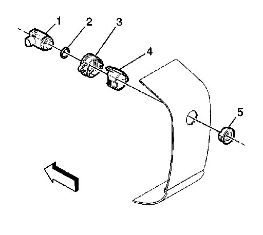
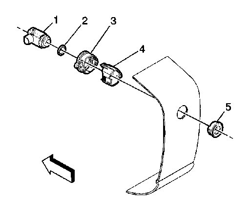
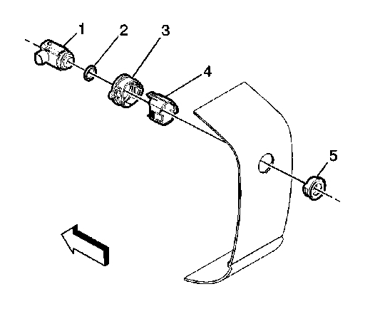
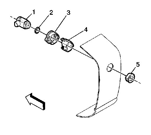
3. Lift the locking tabs on the housing (4) and remove the front object sensor (1).


pic 3

4. Squeeze the spring (1) and remove it from the housing (2).


pic 4

5. Release the tabs on the housing and remove.


pic 5

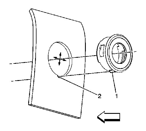
6. Remove the front object sensor bezel by pushing it through the fascia.

INSTALLATION PROCEDURE
1. Paint the new front object sensor. Refer to Basecoat/Clearcoat Paint Systems in Paints/Coatings.

IMPORTANT: Do not refinish previously painted sensors.

2. Check the paint thickness to ensure it does not exceed 6 mils using a paint thickness gage suitable for non-ferrous metals. Refer to Paint Gages in Paints/Coatings.


pic 6

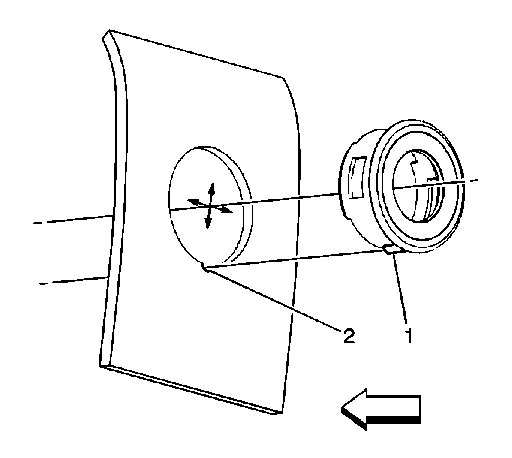
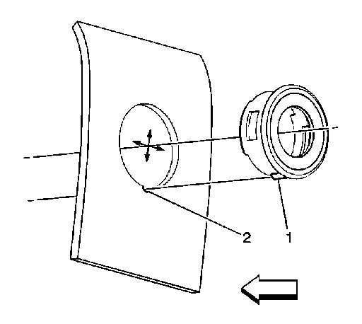
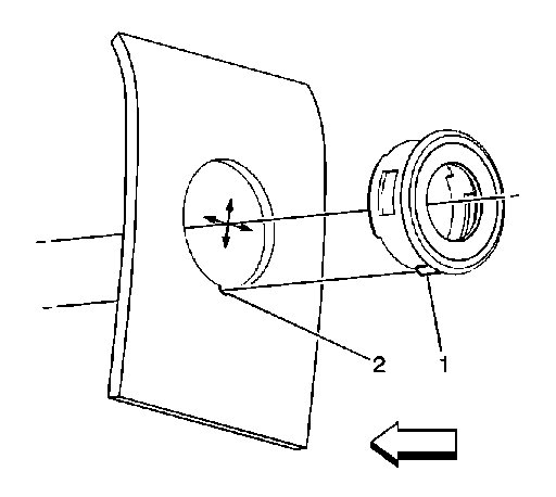
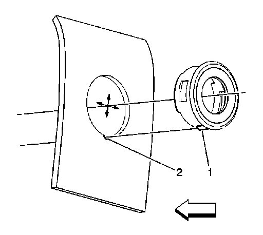
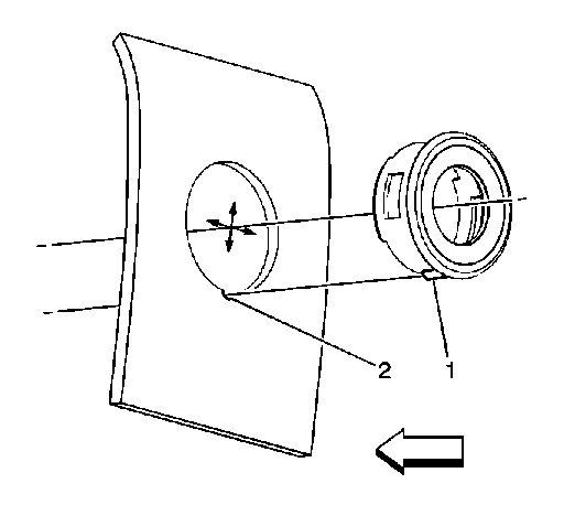
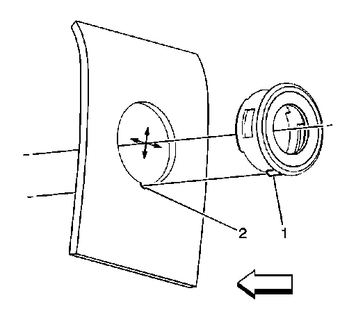
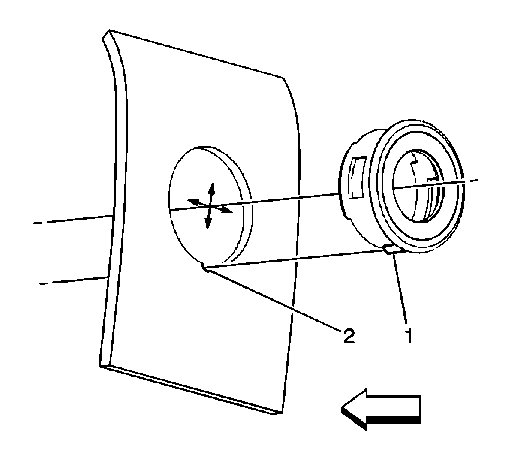
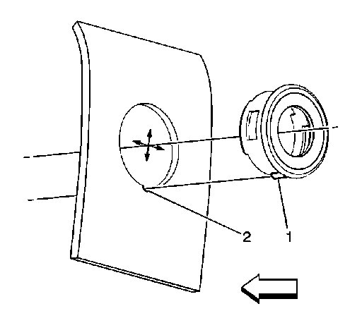
3. Align the keyhole (2) with the key (1) and press the rear object sensor bezel flush to the fascia.


pic 7

4. Install the housing to the cutouts on the bezel through the back side of the fascia.


pic 8

5. Install the spring (1) to the housing (2).

IMPORTANT: The spring keys must be on the top and bottom of the housing.


pic 9

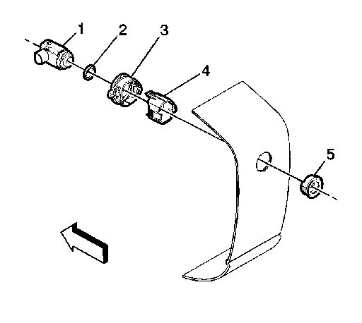
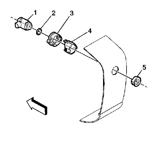
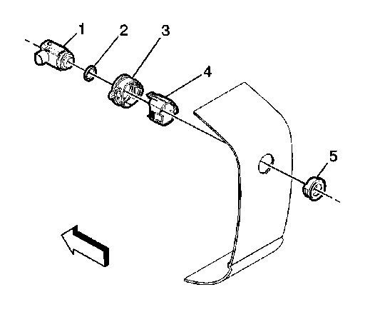
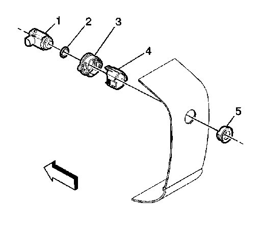
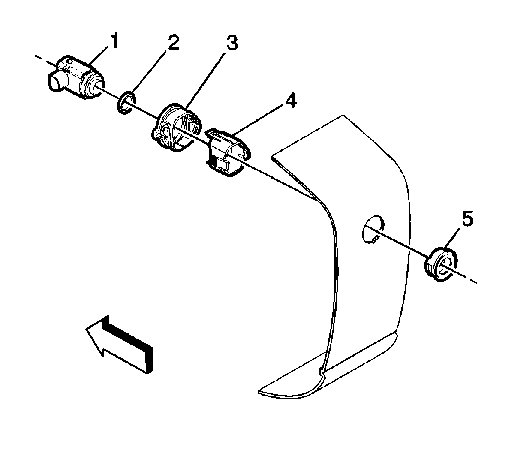
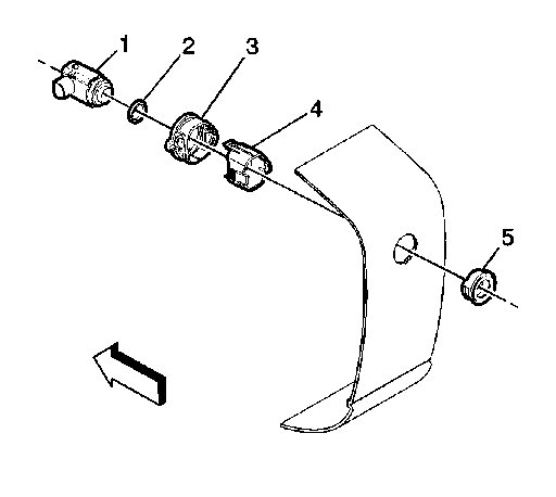
6. Install the decoupling ring (2) to the sensor (1).
7. Insert the sensor into the housing (4) with the connector pointing toward the passenger side of the fascia. Press the sensor tabs into the cutouts on the housing (4).

________________________________________

I hope this helps. Let me know if you have other questions.

Take care,
Joe
Apr 24, 2020 at 7:38 PM
Repair Safety Notice: This information is for general instructional purposes only. Vehicle repair can be dangerous. Verify all information, follow manufacturer service procedures, use proper tools and safety equipment, and consult a qualified repair shop when needed.