Codes P0700 and P0752

Tiny
VICTORIA1
  • MEMBER
  • 2009 CHEVROLET MALIBU
  • 12,555 MILES
Hello, recently my car has been acting up. My dad, who has a little bit of experience with mechanics, and I, who has been doing a lot of research, believe we need to change the solenoid A on my My car listed above. I took the vehicle to get a reading and I got two codes p0700 and p0752 after my intensive dive we have decided to replace the solenoids however we are having trouble accurately identifying them. If anybody can help, thank you!

A little more on why we believe it is the solenoids that need to be replaced:

- Harsh or delayed shifts.
- Mainly occurs during shift 1-2.
- Stalls at a stop.
Sunday, August 9th, 2020 AT 6:56 PM

4 Replies

Tiny
JACOBANDNICKOLAS
  • MECHANIC
  • 110,194 POSTS
Hi,

Yes, the issue is with shift solenoid 1 which is for the 1-2 shift. I would be happy to help, but I need more information. Can you tell me what transmission this vehicle has or when size the engine is? The engine size should help.

I attached a pic that shows why I'm asking.

Let me know.
Joe
Was this
answer
helpful?
Yes
No
Sunday, August 9th, 2020 AT 9:31 PM
Tiny
VICTORIA1
  • MEMBER
  • 3 POSTS
I’m not very sure how I would check what it has, but I will provide pictures to see if maybe that helps. Thank you!
Was this
answer
helpful?
Yes
No
+1
Monday, August 10th, 2020 AT 4:56 AM
Tiny
JACOBANDNICKOLAS
  • MECHANIC
  • 110,194 POSTS
Hi,

Yep, that helps. Here are the directions. The attached pics correlate with the directions.

__________________________________________

2009 Chevrolet Malibu L4-2.4L
1-2 Shift Solenoid Valve Replacement
Vehicle Power-train Management Transmission Control Systems Actuators and Solenoids - Transmission and Drive-train Actuators and Solenoids - A/T Shift Solenoid Service and Repair Removal and Replacement 4T45-E - Automatic Transmission 1-2 Shift Solenoid Valve Replacement
1-2 SHIFT SOLENOID VALVE REPLACEMENT
1-2 Shift Solenoid Valve Replacement

Removal Procedure

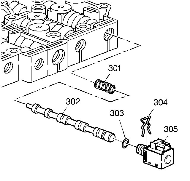
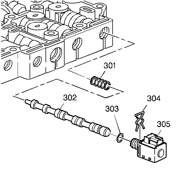
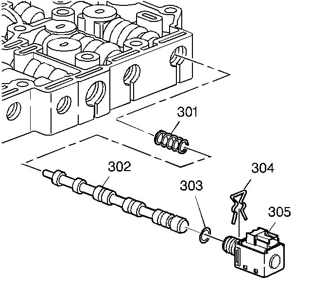
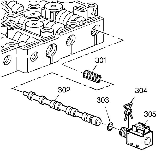
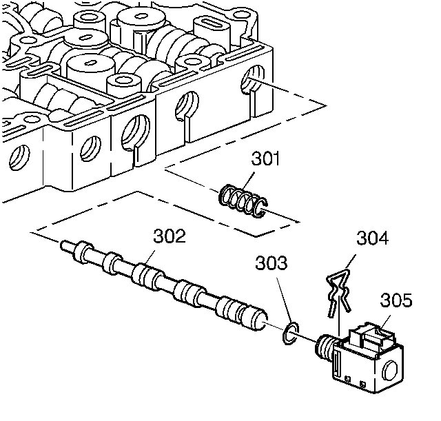
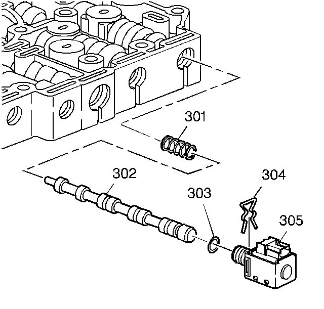
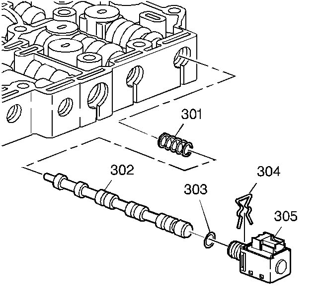
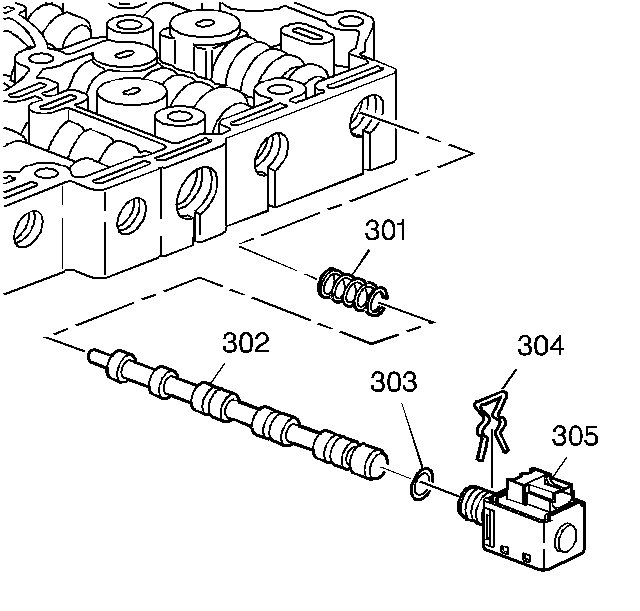
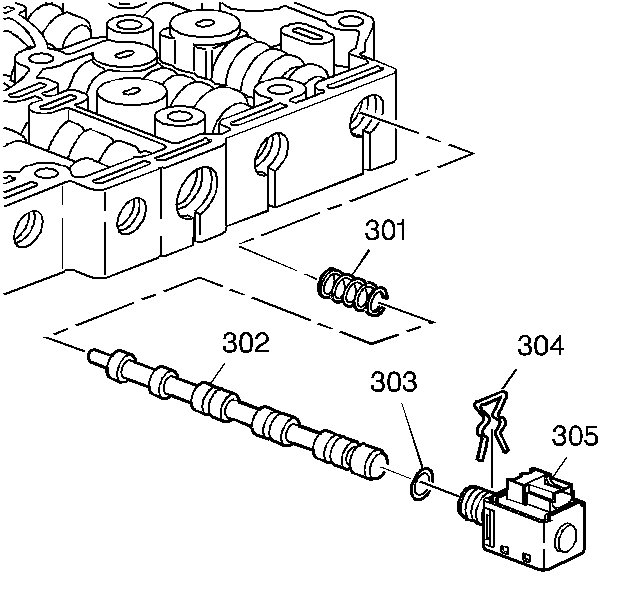
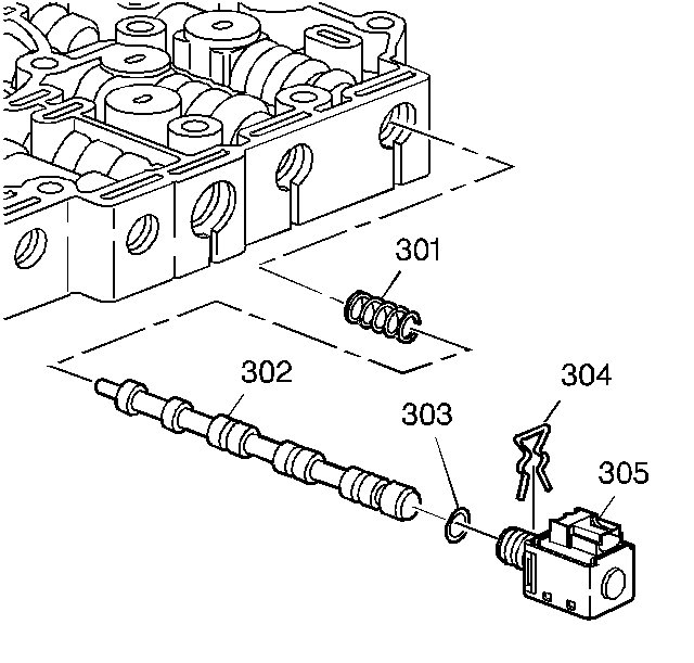
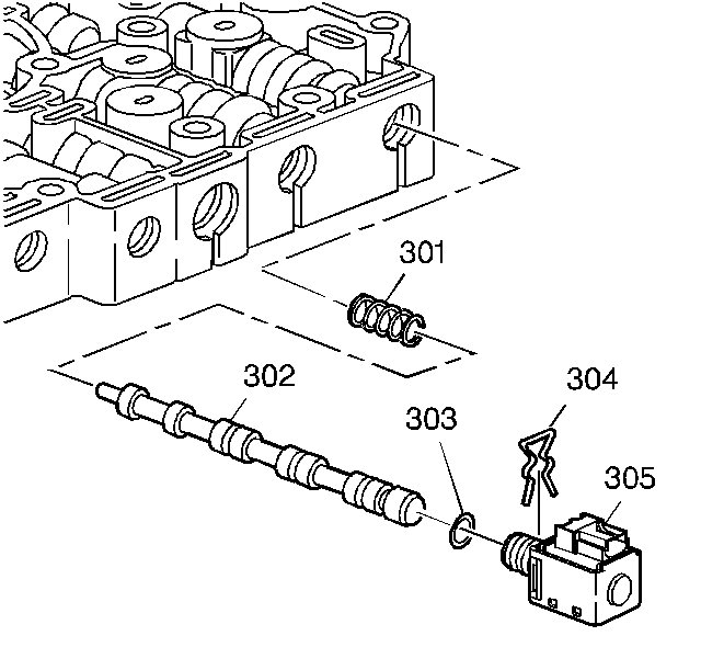
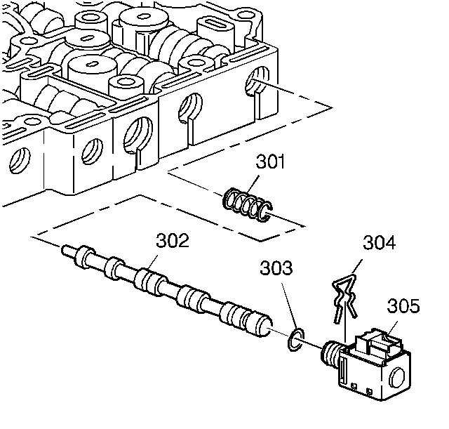
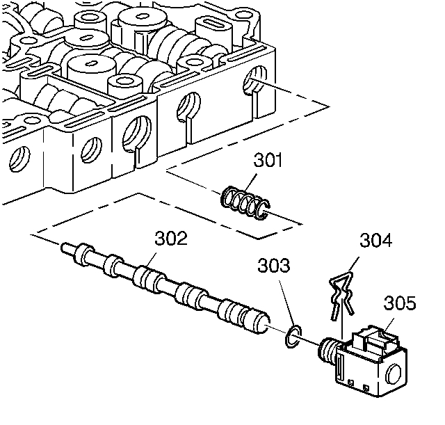
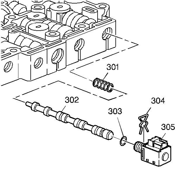
Important: Retainer clips hold in each of the valve line-ups. Use a small screwdriver in order to remove the retainer clips. Be careful not to score the valve body when removing the retainer clips and valves. Before removing the valve line-ups, inspect each valve line-up for freedom of movement.

Pic 1

1. Remove the transmission side cover. Refer to Control Valve Body Cover Replacement (See: Valve Body, A/T > Removal and Replacement > Control Valve Body Cover Replacement).
2. Remove the 1-2 shift solenoid retainer clip (304), the 1-2 shift solenoid (305) with O-ring (303), the 1-2 shift valve (302), and the 1-2 shift valve spring (301).

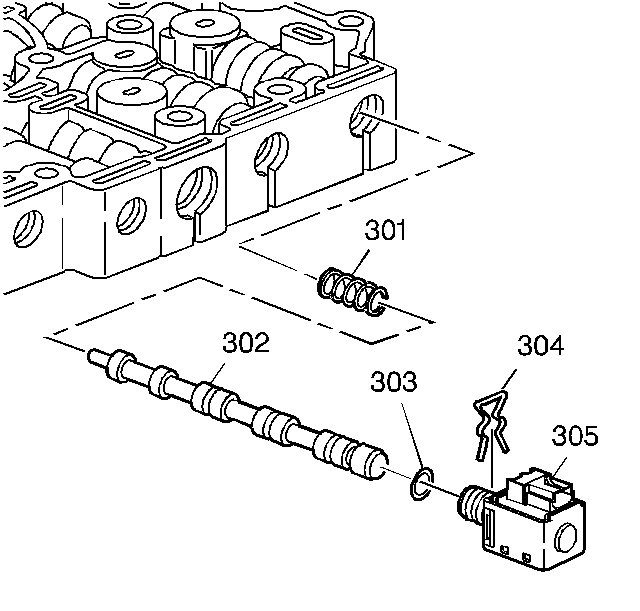
Installation Procedure

pic 2

1. Install the 1-2 shift valve spring (301), the 1-2 shift valve (302), the 1-2 shift solenoid (305) with O-ring (303) and the 1-2 shift solenoid retainer clip (304).
2. Install the transmission side cover. Refer to Control Valve Body Cover Replacement (See: Valve Body, A/T > Removal and Replacement > Control Valve Body Cover Replacement).

Important: It is recommended that transmission adaptive pressure (TAP) information be reset.

Resetting the TAP values using a scan tool will erase all learned values in all cells. As a result, The ECM, PCM or TCM will need to relearn TAP values. Transmission performance may be affected as new TAP values are learned.

3. Reset the TAP values. Refer to Transmission Adaptive Functions (See: Automatic Transmission/Trans-axle > Components > Transmission Adaptive Functions).

__________________________________________

Let me know if this helps.

Take care,
Joe
Was this
answer
helpful?
Yes
No
+1
Monday, August 10th, 2020 AT 9:16 PM
Tiny
VICTORIA1
  • MEMBER
  • 3 POSTS
Yes! Thank you so much for the help and time very much obliged! :)
Was this
answer
helpful?
Yes
No
+2
Wednesday, August 12th, 2020 AT 4:49 AM

Please login or register to post a reply.