Wednesday, November 16th, 2022 AT 8:44 PM
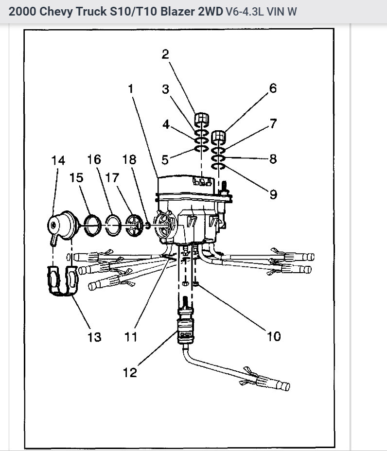
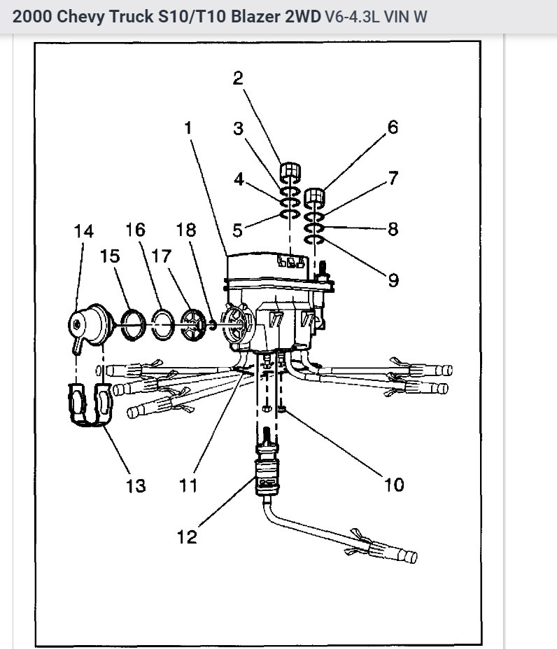
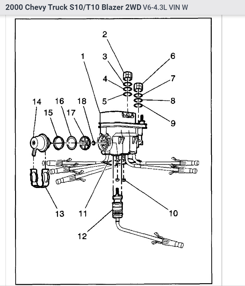
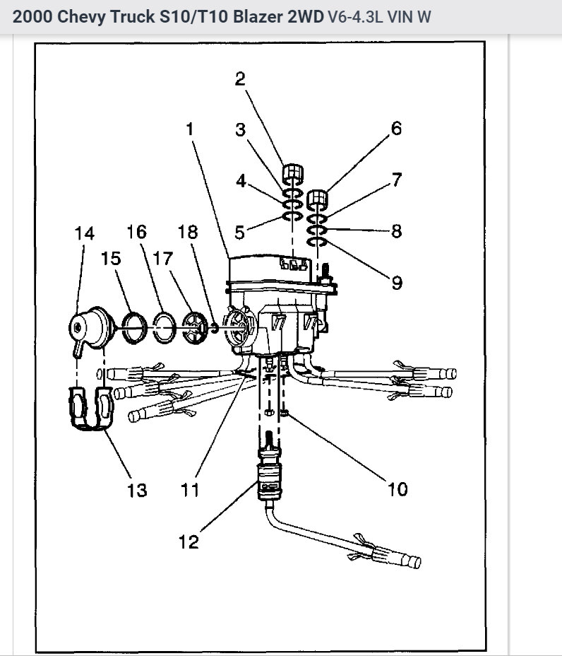
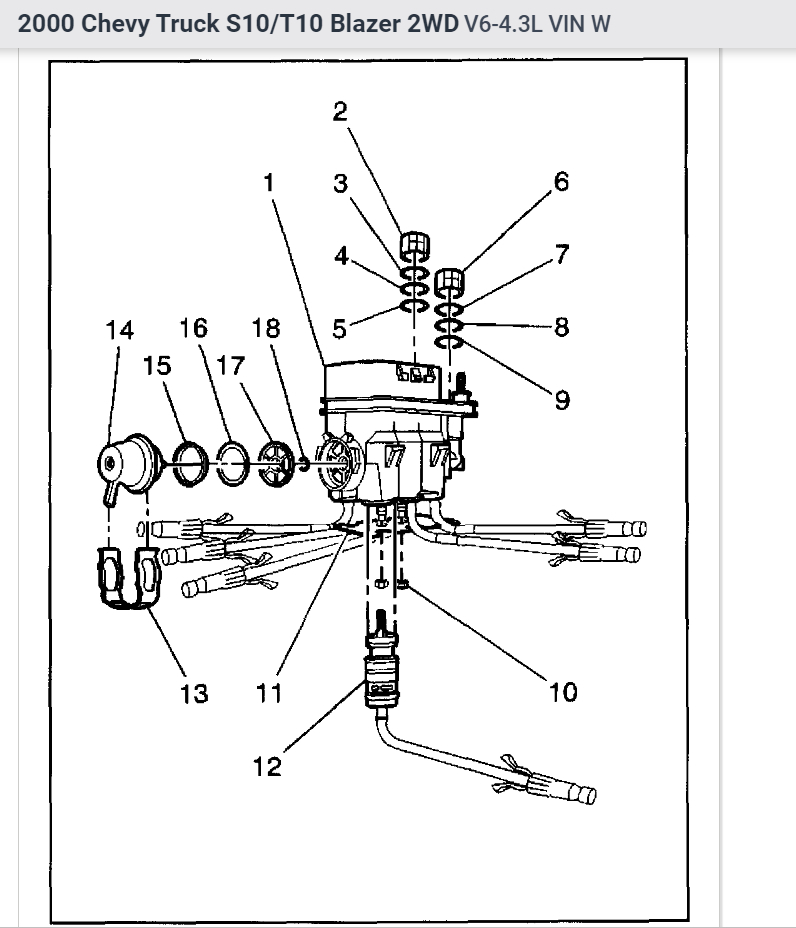
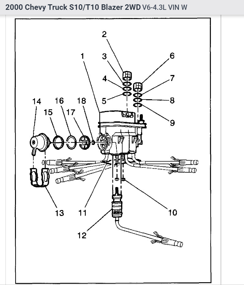
The vehicle listed above is throwing the code P0300. Spark plugs, sparkplug wires, ignition coil, ICM, mass air flow sensor, distributer cap, rotor button, manifold absolute pressure sensor, and throttle body (plus the two sensors that go on it) we’re all replaced within the last year. It has a very rough idle at times, will rev up a couple of hundred by itself at idle sometimes, backfires almost constantly going down the road, and shakes with a couple of other things I’m probably leaving out. I’ve worked on it for about 3 days now and at a complete stump!


















