P0010 code, where to purchase repair manual

Tiny
BIGRUSSELL18
  • MEMBER
  • 2005 MERCEDES BENZ C230
  • 1.8L
  • 4 CYL
  • 2WD
  • AUTOMATIC
  • 158,000 MILES
A coworker told me to ask you about where you got the diagrams you have on these cars? I’m not able to find much online besides the post you gave help to another guy about replacing his timing chain and actuator. But I’m having to replace a leaking head gasket as well. I just really wanted to ask if there is a place to buy the manual like you have for this car.

Thank you for your time and have a great day,

Chad M.
Monday, July 22nd, 2019 AT 1:25 AM

3 Replies

Tiny
KASEKENNY
  • MECHANIC
  • 18,907 POSTS
Hi,

I would be happy to provide you the test for this code and then repair procedure if it turns out to be the head gasket. Or if you just want me to give you the head gasket procedure I can just do that.

As for buying the manual, I am not to sure other than ebay or something like that. I did a quick search and did find any for your specific vehicle. However, as I said we can help out in most cases.

Just let me know the detail about the code that you have because there are options. The scan tool should have given you more info other than just the code. See attached.
Was this
answer
helpful?
Yes
No
Monday, July 22nd, 2019 AT 5:11 PM
Tiny
BIGRUSSELL18
  • MEMBER
  • 2 POSTS
It’s the Y49/1 intake camshaft open circuit, but it turns out it does need a new head gasket and I’m going ahead and replacing the timing chain and tensioner along with camshaft magnets due to them being covered in oil poorly. What else would be good to do as well? I’m hoping it didn’t jump time and bend any valves, but if so is there any documentation on those repairs as well?
Thank you very much for a fast response and your help
Was this
answer
helpful?
Yes
No
Monday, July 22nd, 2019 AT 9:09 PM
Tiny
KASEKENNY
  • MECHANIC
  • 18,907 POSTS
Okay. First of all, this is a circuit issue so just make sure you test the circuit from the ECM to the solenoid for an open.

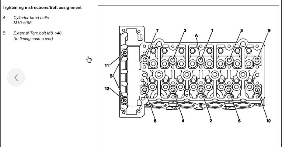
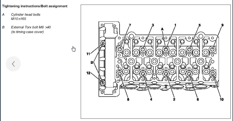
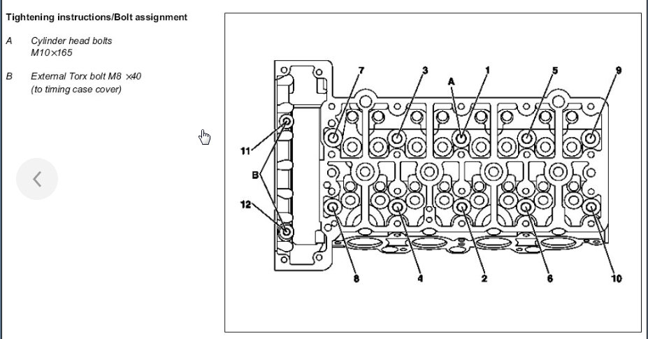
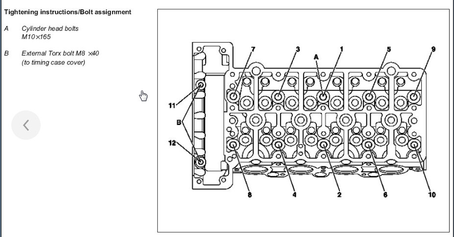
Here is the procedure for the timing chain, tensioner, front cover, and cylinder head/gasket. Some is overlap but it is all there. Unfortunately, MB is not well known for there detail in removing and installing. So some of these things are not step by step.
Was this
answer
helpful?
Yes
No
+2
Tuesday, July 23rd, 2019 AT 6:31 PM

Please login or register to post a reply.