One rear brake light staying on as well as center brake light in window in the rear

Tiny
JANET LAZARUS
  • MEMBER
  • 2004 HYUNDAI ACCENT
  • 153,000 MILES
Last week my gear shift was sticking in park and hard to get out of. Last night the passenger side rear brake light stayed on as well as the brake in the rear window. I Googled and it troubleshooted saying that it was my brake light switch. I purchased a new brake light switch and replaced it. It did not fix my problem.
Thursday, July 16th, 2020 AT 5:36 PM

3 Replies

Tiny
JACOBANDNICKOLAS
  • MECHANIC
  • 110,192 POSTS
Hi,

If you have one staying on and the third brake light, it sounds like a short to power. Since you already replaced the switch, disconnect the switch and see if the lights go out. I'm asking because if there is a short to power after the switch, the light will stay on.

If you look at the attached pic, you will see the brake light switch and how the wires branch off it. You can see the 3rd brake light. The other two wires on the left that are highlighted are for the other brake lights, left and right. So, for only the right brake light and 3rd light to stay on indicates there is a short to power after the brake light switch. That's why I need you to disconnect it to see if it goes out or not. If I had to guess, it won't.

Let me know.

Joe
Was this
answer
helpful?
Yes
No
Thursday, July 16th, 2020 AT 5:48 PM
Tiny
JANET LAZARUS
  • MEMBER
  • 2 POSTS
When the brake light switch is disconnected completely the brake lights is not on.
Was this
answer
helpful?
Yes
No
Thursday, July 16th, 2020 AT 6:01 PM
Tiny
JACOBANDNICKOLAS
  • MECHANIC
  • 110,192 POSTS
Hi Janet,

If that is the case, are you sure the left brake light isn't burned out? I ask because all three lights get power from the same point.

So, here is what I "Think" is happening. I suspect that the brake light switch is not adjusted properly and is allowing power to flow through it at all times and the left rear brake light is burned out. If you remove the switch from the pedal assembly and leave it plugged in, does the brake light go out? Power is supplied to that switch via a fuse. For any of the lights to turn on, the switch needs to complete the circuit (when pedal is pressed) allowing power to flow to the lights. Since the lights go out when the switch is disconnected, that tells me that the switch is completing the circuit and allowing that to happen. (I hope this makes sense. It's easier to show than explain). LOL

If the switch was good and working properly, when the brake is released, the circuit is then opened and power stops to the lights.

Try removing the switch so I know that it isn't touching the pedal hard enough to turn the lights on. If they don't turn on, here are the adjustment procedures for adjusting the switch. The attached pics correlate with the directions

____________________________________________
2004 Hyundai Accent L4-1.6L
Adjustments
Vehicle Brakes and Traction Control Brake Pedal Assy Adjustments
ADJUSTMENTS
PEDAL HEIGHT
1. Disconnect the brake switch connector, loosen the brake switch locknut (A), and back off the brake switch (B) until it is no longer touching the brake pedal.

Pic 1

2. Lift up the carpet. At the insulator cutout, measure the pedal height (C) from the middle of the left-side center of the pedal pad to).
Standard pedal height (with carpet removed): 157.1 (+5, 0) mm [6.19 (+0.2, 0) inch]

pic 2

3. Loosen the pushrod locknut (A), and screw the pushrod in or out with pliers until the standard pedal height from the floor is reached. After adjustment, tighten the locknut firmly. Do not adjust the pedal height with the pushrod depressed.

BRAKE SWITCH CLEARANCE

pic 3

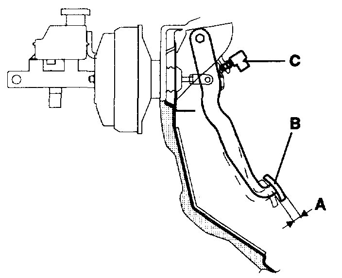
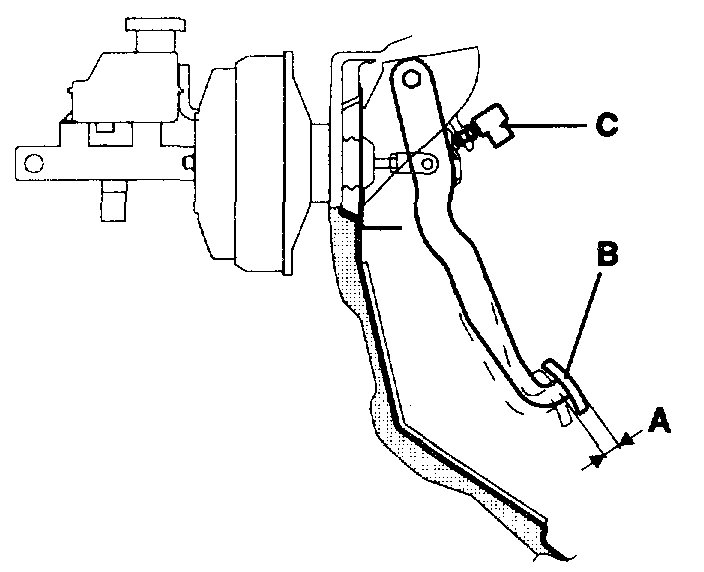
Screw in the brake switch until its plunger is fully depressed (threaded end (A) touching the pad (B) on the pedal arm). Then back off the switch 3/4 turn to make 0.9 mm (0.04 inch) of clearance between the threaded end and pad. Tighten the locknut firmly. Connect the brake switch connector. Make sure that the brake lights go off when the pedal is released.

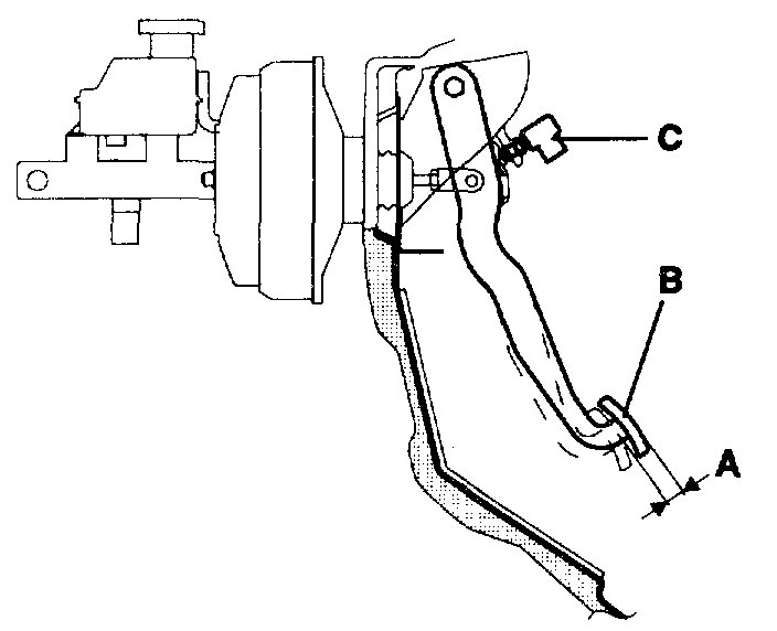
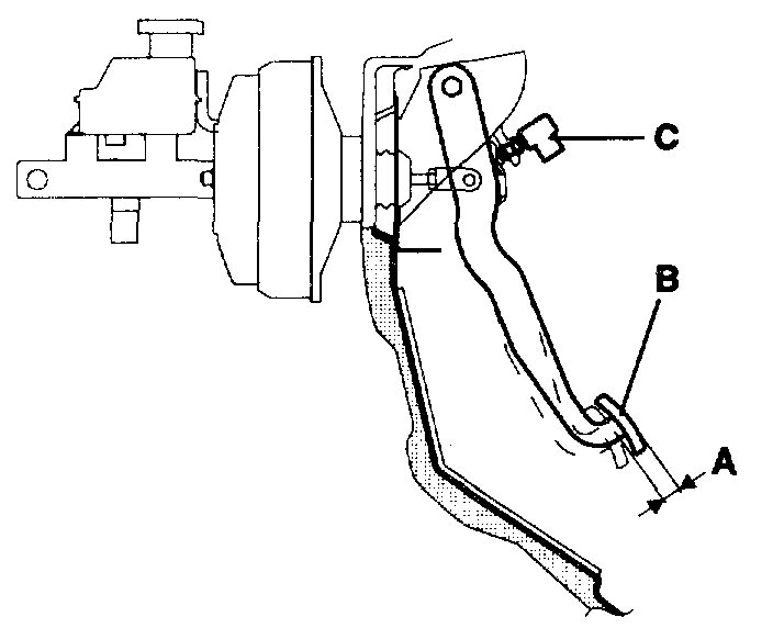
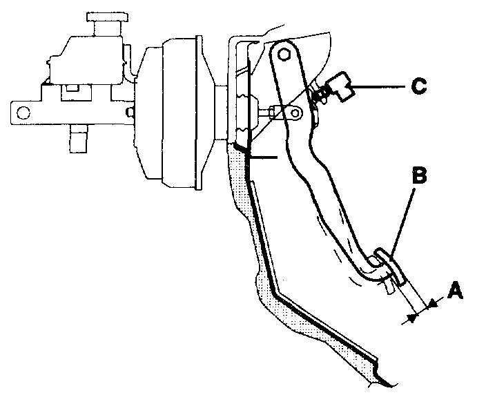
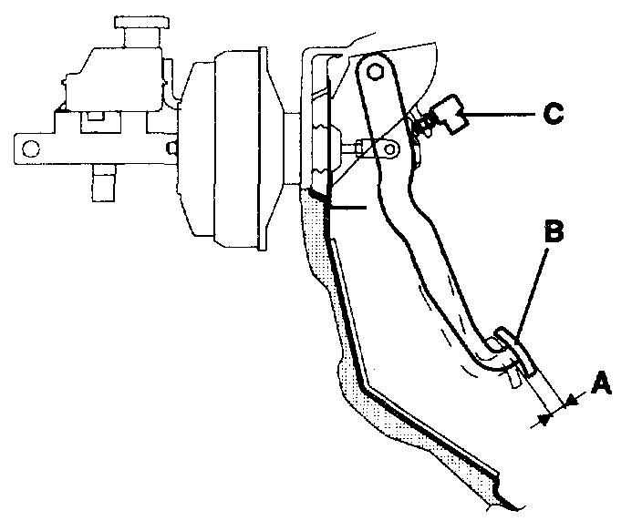
PEDAL FREE PLAY

pic 4

1. With the engine off, inspect the pedal free play (A) on the pedal pad (B) by pushing the pedal by hand.
Free play: 3 - 8 mm (0.11 - 0.31 inch)
2. If the pedal free play is out of specification, adjust the brake switch (C). If the pedal free play is insufficient, it may result in brake drag.

_____________________

Let me know if that helps and what you find.

Take care,
Joe
Was this
answer
helpful?
Yes
No
+1
Thursday, July 16th, 2020 AT 6:11 PM

Please login or register to post a reply.