Probably the wiper motor cover(circuit board) test as follows.
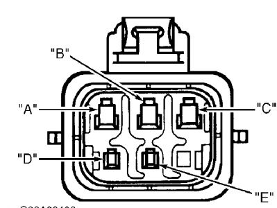
TEST F: WIPERS INOPERATIVE (ONE OR MORE MODES) 1. If wiper/washer system description and operation has been reviewed and preliminary inspection has been performed, go to next step. If wiper/washer system description and operation has not been reviewed and preliminary inspection has not been performed, go to DESCRIPTION & OPERATION and PRELIMINARY INSPECTION under TROUBLESHOOTING. 2. Turn ignition switch to RUN position. Turn windshield wiper/washer switch through all switch positions. If wipers do not operate properly, go to next step. If wipers operate properly, check for intermittent or poor connections. Repair as necessary. 3. Disconnect windshield wiper/washer switch Gray 13-pin harness connector C201 (Century, Grand Prix and Regal) or Black 6-pin harness connector C203 (Intrigue), both located near base of steering column, right side. Measure resistance between wiper/washer switch Yellow wire terminal and Gray wire terminal with washer/wiper switch in MIST, LO and HI positions. If resistance is 2 ohms or less, go to next step. If resistance is more than 2 ohms, go to step 10 . 4. Measure resistance between wiper/washer switch Yellow wire terminal and Gray wire terminal while turning wiper/washer switch through DELAY range. If resistance is 39-680 k/ohms, go to next step. If resistance is not 39-680 k/ohms, go to step 10 . 5. Measure resistance between wiper/washer switch Yellow wire terminal and Dark Green wire terminal with washer/wiper switch in MIST, LO and HI positions. If resistance is about 24 k/ohms or less, go to next step. If resistance is about 24 k/ohms, go to step 10 . 6. Reconnect windshield wiper/washer switch connector. Turn wiper/washer to HI position. If wipers operate properly in HI position, go to next step. If wipers do not operate properly in high position, go to step 9 . 7. Check for an open or high resistance in Gray wire between windshield wiper/washer switch harness connector and windshield wiper motor harness connector. See Fig. 5 , Fig. 6 and Fig. 7 . If Gray wire is okay, go to next step. If Gray wire is not okay, repair as necessary. After repair, go to step 13 . 8. Check for an open or high resistance in Dark Green wire between windshield wiper/washer switch harness connector and windshield wiper motor harness connector terminal "D". If Dark Green wire is okay, go to step 11 . If Dark Green wire is not okay, repair as necessary. After repair, go to step 13 . 9. Check for an open or high resistance in Purple wire between windshield wiper/washer switch harness connector and windshield wiper motor harness connector "C". If Purple wire is okay, go to step 12 . If Purple wire is not okay, repair as necessary. After repair, go to step 13 . 10. Replace windshield wiper/washer switch (multifunction switch). See STEERING COLUMN SWITCHES - CENTURY, GRAND PRIX, INTRIGUE & REGAL article. After repair, go to step 13 . 11. Replace windshield wiper motor cover. After repair, go to step 13 . 12. Replace windshield wiper motor. After repair, go to next step. 13. Operate system to verify fault no longer exists. If fault still exists, go to step 3 .



Monday, March 2nd, 2009 AT 3:22 PM