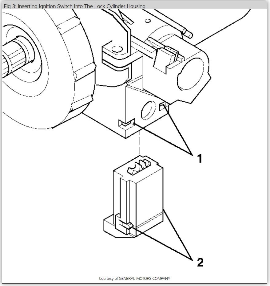
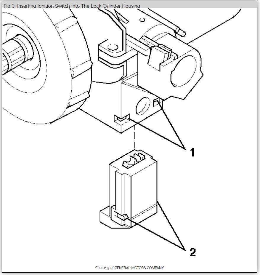
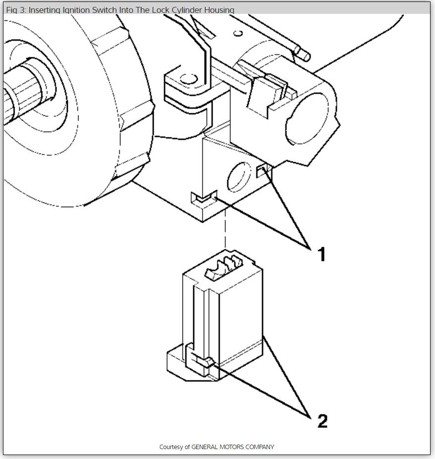
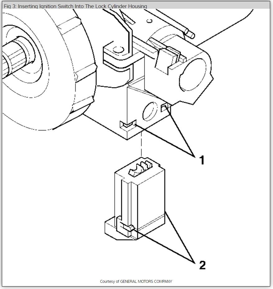
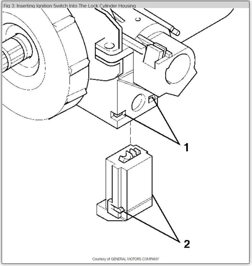
Steering problem 6 cyl All Wheel Drive Automatic 144000 miles
My key is stuck in the on postion and won't come out even if I turn off the truck or move my tires left or right. Could this be the cylinder?
My key is stuck in the on postion and won't come out even if I turn off the truck or move my tires left or right. Could this be the cylinder?
Jul 25, 2010 at 11:07 AM

















