Tuesday, October 21st, 2008 AT 3:16 PM
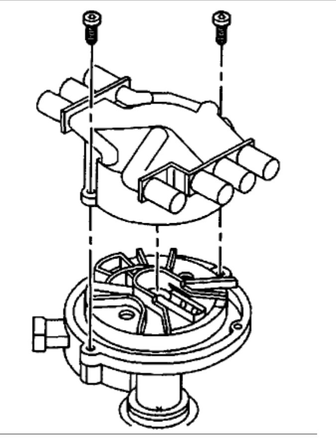
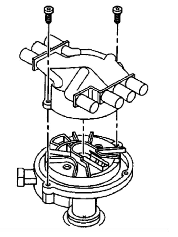
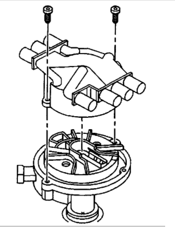
I replaced the intake manifold gasket put everything back but I think the distributor moved and I didnt mark anything to realign distributor. Now the car cranks but will not start. Do I need to turn the crankshaft.












