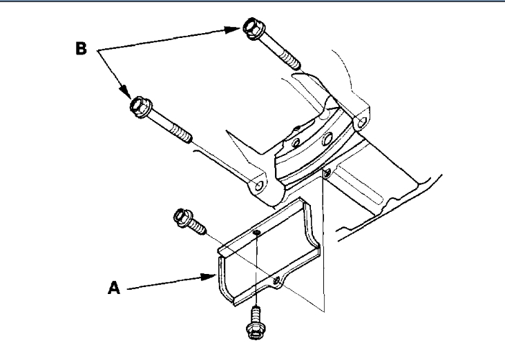
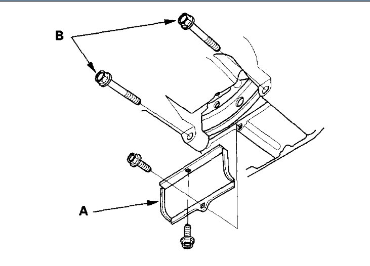
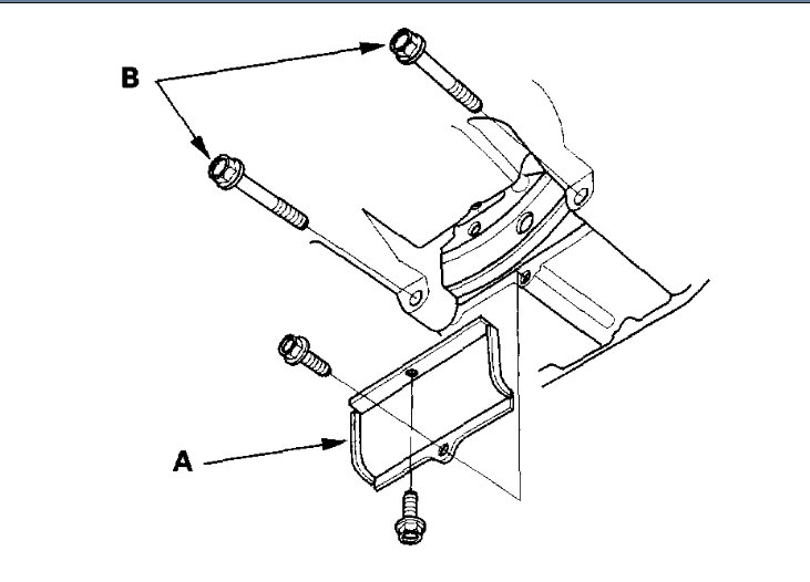
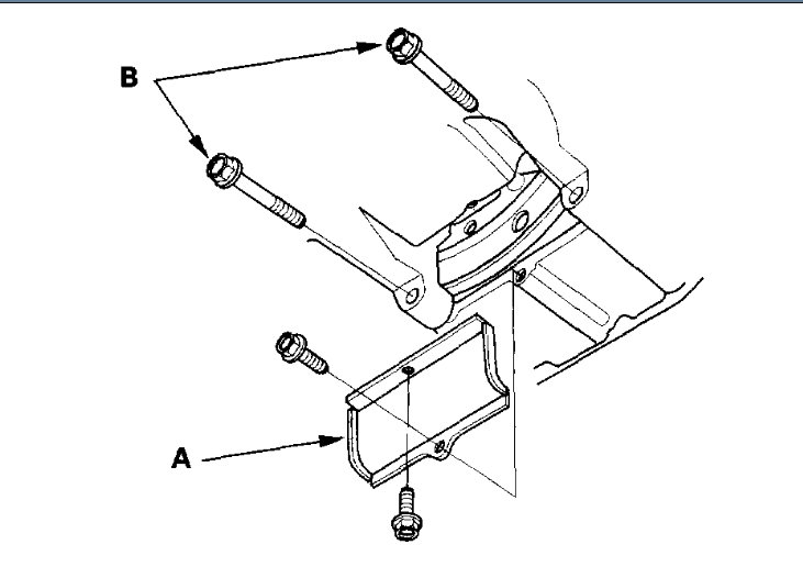
Oil pan rusted bolts

Tiny
AADIGU1234
  • MEMBER
  • 2007 HONDA ACCORD
  • 6 CYL
  • 4WD
  • AUTOMATIC
  • 51,000 MILES
My mechanic said that I need my oil pan replaced but the bolts that need to be replaced are rusted. He is afraid to remove them because it may not work and could hurt the engine they are attached to.

Anyone had experience with type of situation?
Saturday, November 2nd, 2019 AT 1:05 PM

3 Replies

Tiny
ASEMASTER6371
  • MECHANIC
  • 52,796 POSTS
Good afternoon,

The bolts just bolt to the block and cannot damage the engine. He just does not want to do the job.

You need a new shop that will remove the bolts. It is not that difficult if you have the correct tools.

Roy
Was this
answer
helpful?
Yes
No
Saturday, November 2nd, 2019 AT 1:17 PM
Tiny
AADIGU1234
  • MEMBER
  • 2 POSTS
Thanks, and I plan to take it to the dealer on Monday.
Was this
answer
helpful?
Yes
No
Saturday, November 2nd, 2019 AT 1:34 PM
Tiny
ASEMASTER6371
  • MECHANIC
  • 52,796 POSTS
You are welcome.

Always glad to help.

Roy
Was this
answer
helpful?
Yes
No
Saturday, November 2nd, 2019 AT 1:45 PM

Please login or register to post a reply.