Oil leak

Tiny
JOE THE MARINE
  • MEMBER
  • 2000 CHEVROLET BLAZER
  • 4.3L
  • 6 CYL
  • 4WD
  • AUTOMATIC
  • 98,000 MILES
Oil pressure line, my mechanic says is leaking, can I do this myself and how hard is it to do? What would be the cost of the hose? I am a Saturday mechanic, do I need to have the car on a lift to do this type of work?
Friday, December 14th, 2018 AT 5:41 AM

3 Replies

Tiny
ASEMASTER6371
  • MECHANIC
  • 52,796 POSTS
Good morning,

Is it a line or a hose? They are different.

Can you upload a picture of the leak and it location so I can give you accurate advice?

Roy
Was this
answer
helpful?
Yes
No
-1
Friday, December 14th, 2018 AT 5:46 AM
Tiny
JOE THE MARINE
  • MEMBER
  • 86 POSTS
Mechanic says the GM part # is 15194579, if I order it, and he does it, I checked on YouTube and seen nothing on how to remove it. Do I need special tools and a car jack to remove/replace this item?
Was this
answer
helpful?
Yes
No
Friday, December 14th, 2018 AT 8:58 AM
Tiny
ASEMASTER6371
  • MECHANIC
  • 52,796 POSTS
According to the part number, they are oil cooler lines from the oil filter to the radiator. I attached the procedure below for you to view.

Rockauto has the same lines for 61.49. I attached a picture for you.

No, there are no special tools required.

Roy

Removal Procedure

imageOpen In New TabZoom/Print

1. Remove the steering linkage shield. Refer to Steering Linkage Shield Replacement in Steering and Suspension.

Important: Have a drain pan ready for the engine oil to drain into.

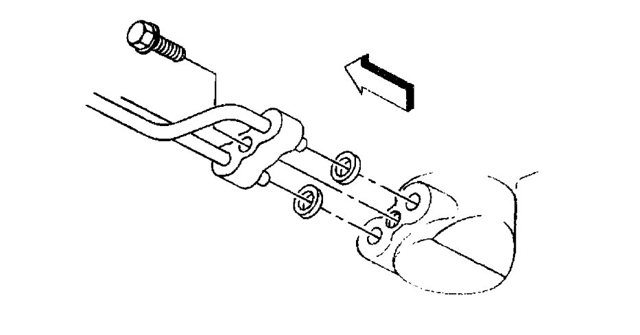
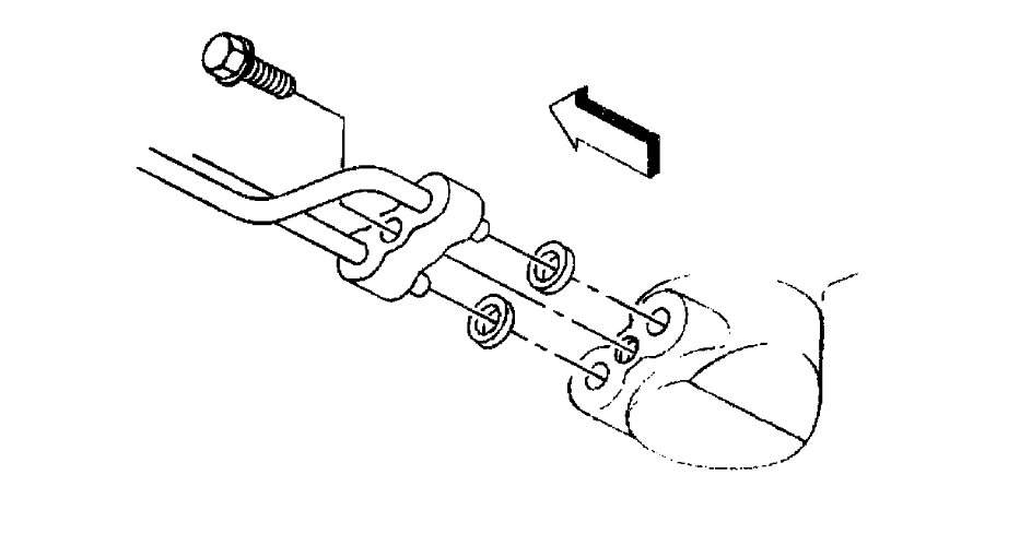
2. Remove the bolt attaching the engine oil cooler lines to the remote (frame mounted) oil filter adapter.
3. Remove and discard the seals.

ImageOpen In New TabZoom/Print

4. Lower vehicle.
5. Remove air cleaner assemble.
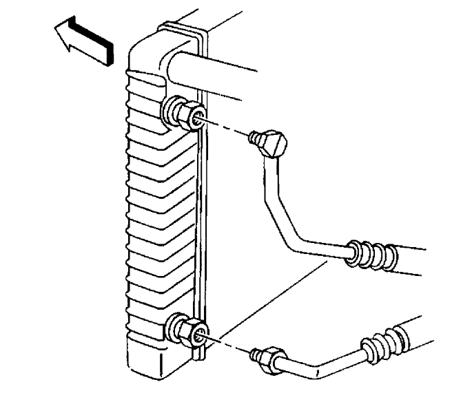
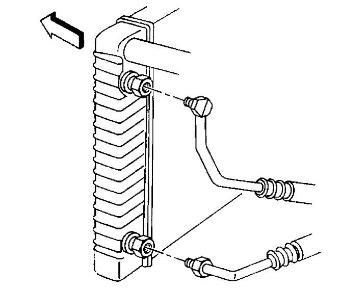
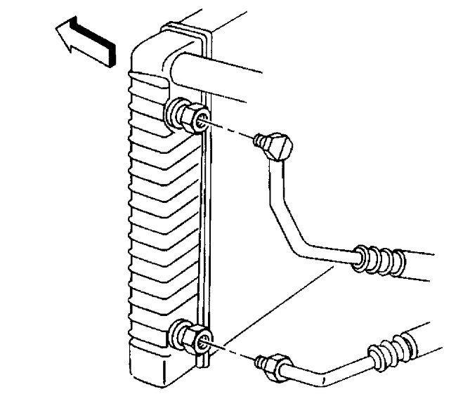
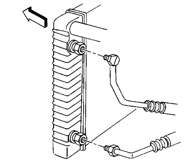
6. Remove the engine oil cooler line retaining rings from the engine oil cooler line quick connectors at the radiator engine oil cooler inlet and outlet. Follow the next two steps for the proper retaining ring removal procedure.

ImageOpen In New TabZoom/Print

7. Using a bent-tip screwdriver or equivalent, pull on one of the open ends of the retaining ring in order to rotate the retaining ring.
8. Rotate the retaining ring around the quick connector until the retaining ring is out of position and can be completely removed.
Discard the retaining rings.

ImageOpen In New TabZoom/Print

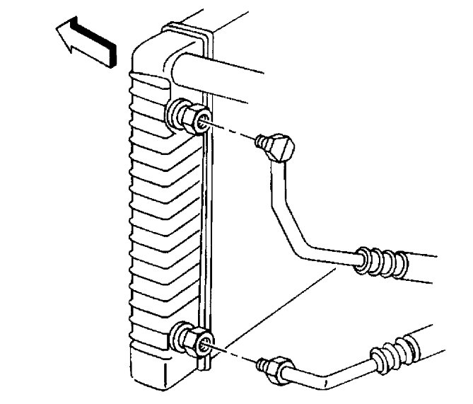
9. Remove the engine oil cooler lines from the quick connectors at the radiator engine oil cooler inlet and outlet.
Pull the lines straight out from the connectors.

ImageOpen In New TabZoom/Print

10. Remove engine oil cooler lines from the vehicle.

Important: Have a drain pan ready for the engine oil to drain into.

11. Remove the bolt attaching the remote engine oil filter lines to the remote (frame mounted) engine oil filter adapter.
12. Hold the remote engine oil filter lines below the remote engine oil filter lines (engine mounted) adapter to drain the engine oil.
13. Remove and discard the seals.

ImageOpen In New TabZoom/Print

14. Remove the bolt attaching the remote engine oil filter lines to the remote engine oil filter lines (engine mounted) adapter.
15. Remove and discard the seals.
16. Clean all of the components in a suitable solvent, and dry them with compressed air.
17. Inspect the fittings, the connectors, the cooler lines, the cooler, the filter lines, and the remote filter adapter for damage, distortion, or restriction. Replace parts as necessary.
18. Flush the engine oil cooler, the engine oil cooler lines, the remote engine oil filter adapter, and the remote engine oil filter lines with the same type of engine oil normally circulating through the engine.
Was this
answer
helpful?
Yes
No
+2
Friday, December 14th, 2018 AT 9:14 AM

Please login or register to post a reply.