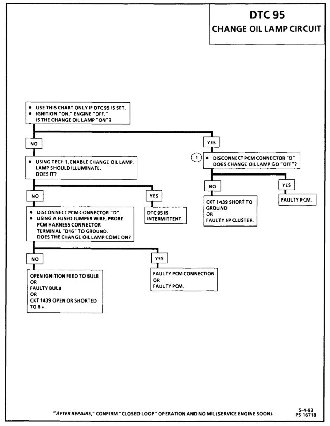
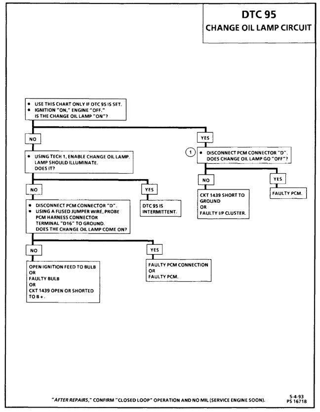
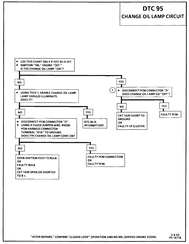
Monday, June 15th, 2020 AT 6:34 PM
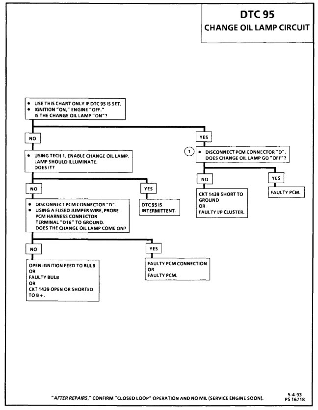
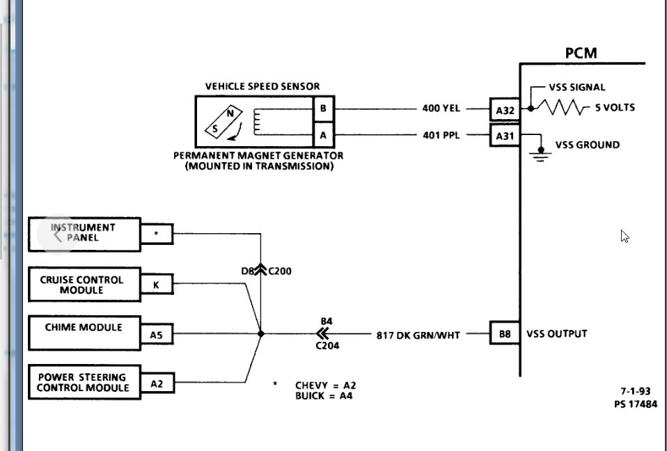
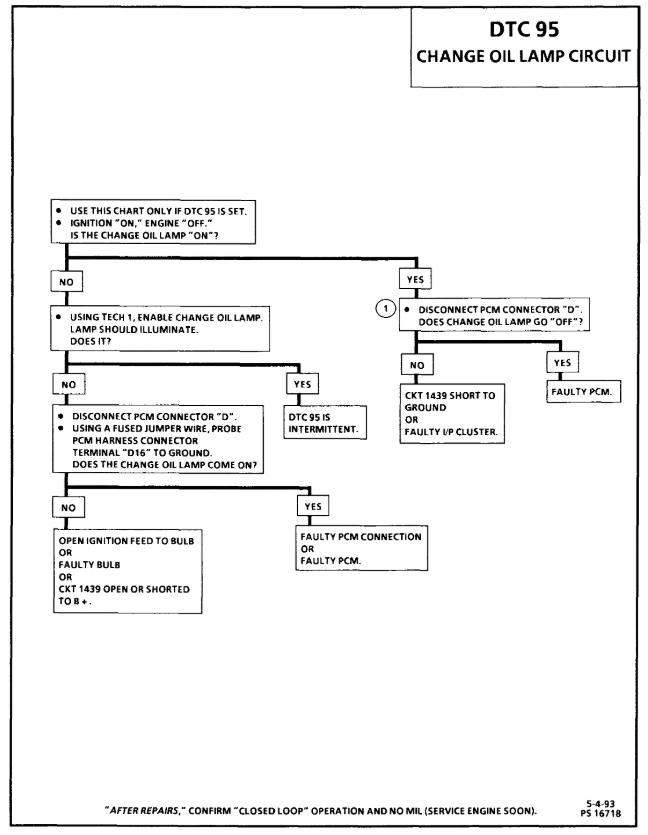
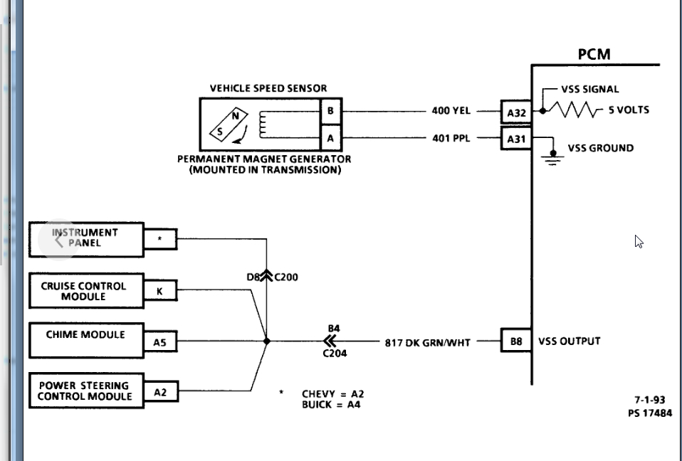
I have installed this engine and transmission into a 1951 Chevrolet. I am using the stock computer and am getting trouble codes 95 (oil life) and 97 (4K pulses). I can find no other information for either code or how to keep them from reappearing. Can you help?






