O2 sensor heater circuit malfunction and transmission issues

Tiny
RDUMIT
  • MEMBER
  • 2002 FORD TAURUS
  • 3.0L
  • 6 CYL
  • 2WD
  • AUTOMATIC
  • 130,000 MILES
OHV. Diagnostic: sensor heater circuit malfunction and transmission issues. Scanned and pulled the following Codes- (P0135, P0155, P0141 and P0161) - (P0743, P0750, P1747 and P1751).
Saturday, January 5th, 2019 AT 5:00 PM

3 Replies

Tiny
ASEMASTER6371
  • MECHANIC
  • 52,796 POSTS
Good morning,

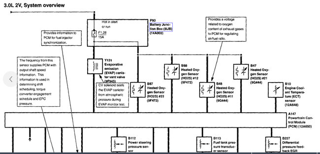
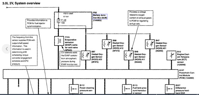
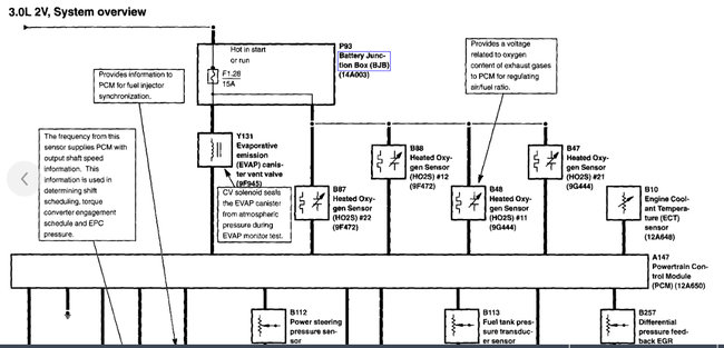
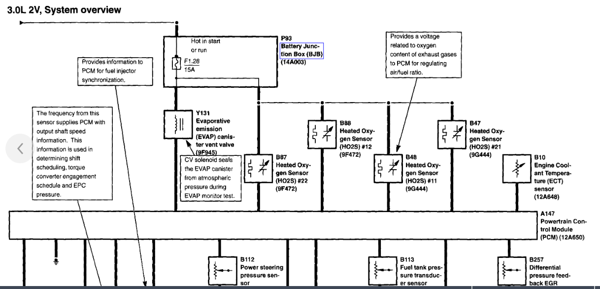
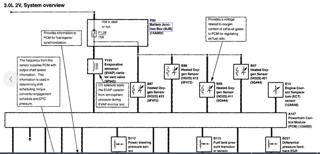
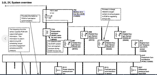
I attached a diagram of the O2 sensors. The heaters are fed by a fuse listed. Verify the power on both sides of the fuse and then verify power to each O2 sensor connector.

743 below

P0743
Descriptor
Probable Causes
Powertrain Control Module (PCM)
Torque Converter Clutch (TCC) Solenoid

750 and the rest

P0750
Descriptor
Probable Causes
Powertrain Control Module (PCM)
Torque Converter Clutch (TCC) Solenoid

This is possibly either a torque converter clutch solenoid failure, wiring harness issue or a failed PCM.

The wiring would have to be checked to verify before going anywhere else.

Roy
Was this
answer
helpful?
Yes
No
Wednesday, April 21st, 2021 AT 10:42 AM
Tiny
RDUMIT
  • MEMBER
  • 2 POSTS
Thanks so much! Roy. Will follow up on your suggestions and reach out if needed.
Was this
answer
helpful?
Yes
No
Wednesday, April 21st, 2021 AT 10:42 AM
Tiny
ASEMASTER6371
  • MECHANIC
  • 52,796 POSTS
You are welcome.

We are always glad to help.

Roy
Was this
answer
helpful?
Yes
No
Wednesday, April 21st, 2021 AT 10:42 AM

Please login or register to post a reply.