No fire

Tiny
GARRYGARRETT
  • MEMBER
  • 1988 CHEVROLET SILVERADO
  • 5.7L
  • V8
  • 4WD
  • MANUAL
  • 130,000 MILES
Changed module, pick up coil, distributor cap, rotor button, coil, ignition switch, computer.
Tuesday, November 20th, 2018 AT 3:03 PM

1 Reply

Tiny
JACOBANDNICKOLAS
  • MECHANIC
  • 110,194 POSTS
Hi and thanks for using 2CarPros.

Have you checked all ignition fuses? Have you checked for diagnostic trouble codes?

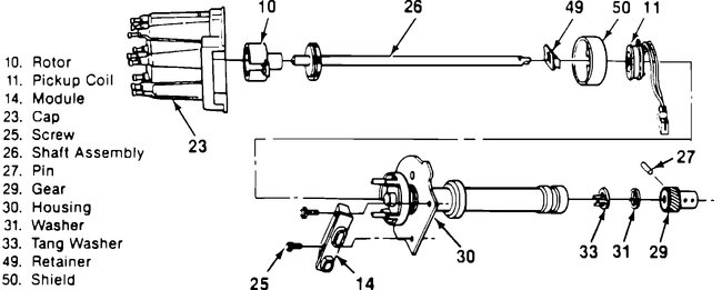
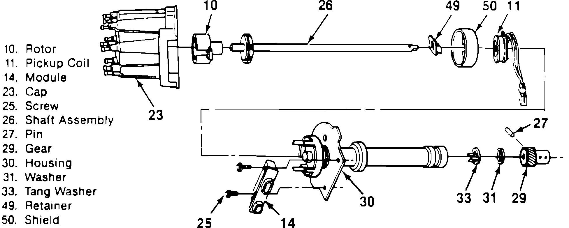
I have attached a schematic of the ignition system of your vehicle. On the schematic, it indicates fuses which correlate with the ignition system. Check them. Also, picture 3 shows the electronic spark control module. Is this the component you are referring to when you say module? I ask because there is also an ignition control module in the distributor. See picture 4.

One last thing, remove the distributor cap and make sure the rotor is turning when the engine is cranked.

Let me know if any of this helps.

Take care,
Joe
Was this
answer
helpful?
Yes
No
Tuesday, November 20th, 2018 AT 8:12 PM

Please login or register to post a reply.