Late for gear change

Tiny
PHAYTHALWIN
  • MEMBER
  • 2010 HONDA FIT
  • 1.3L
  • 4 CYL
  • 2WD
  • AUTOMATIC
  • 160,000 MILES
My car is late for gear change.
Monday, October 12th, 2020 AT 6:45 AM

1 Reply

Tiny
JACOBANDNICKOLAS
  • MECHANIC
  • 110,192 POSTS
Hi,

Have you checked the fluid level and condition? Here are the directions on checking the level. Do this first. It could be low on fluid. The attached pictures correlate with the directions.

________________________

2010 Honda Fit L4-1.5L
ATF Level Check
Vehicle Maintenance Fluids Fluid - A/T Service and Repair Removal and Replacement ATF Level Check
ATF LEVEL CHECK
ATF Level Check

NOTE: Keep all foreign particles out of the transmission.

1. Park the vehicle on level ground.

2. Warm up the engine to normal operating temperature (the radiator fan comes on), then turn the engine off. Do not allow the engine to warm up longer than the time it takes for the radiator fan to come on twice.

NOTE: Check the fluid level within 60-90 seconds after turning the engine off. Higher fluid level may be indicated if the radiator fan comes on twice or more.

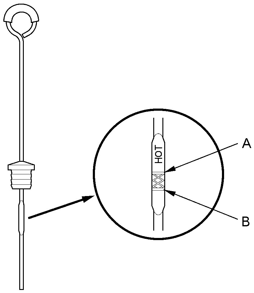
3. Remove the dipstick (yellow loop) (A), and wipe it with a clean cloth.

pic 1

4. Insert the dipstick into the transmission.

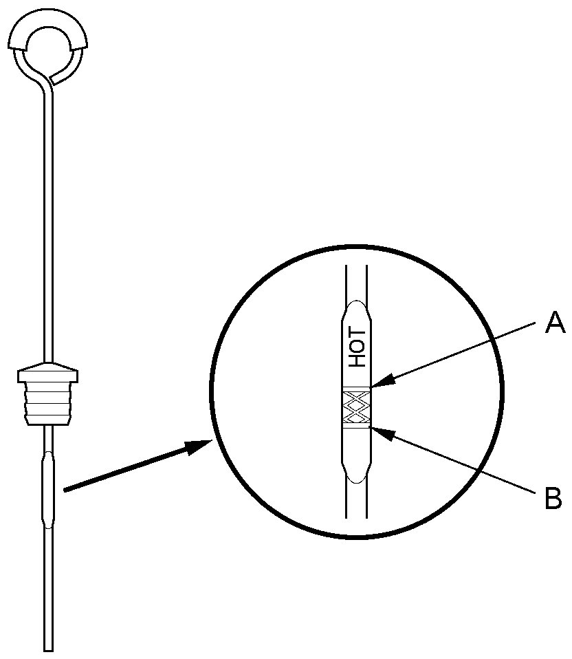
5. Remove the dipstick and check the fluid level. It should be between the upper mark (A) and lower mark (B).

pic 2

6. If the level is below the lower mark, check for fluid leaks at the transmission, and hose and line joints. If a problem is found, fix it before filling the transmission.

NOTE: If the vehicle is driven when the ATF level is below the lower mark, one or more of these symptoms may occur:

- Transmission damage.
- Vehicle does not move in any gear.
- Vehicle accelerates poorly, and flares when starting off in the forward and reverse positions.
- The engine vibrates at idle.

7. If the level is above the upper mark, drain the ATF to proper level See: Automatic Transmission/Transaxle > Removal and Replacement > ATF Replacement.

NOTE: If the vehicle is driven when the ATF level is above the upper mark, the vehicle may creep forward while in N, or have shifting problems.

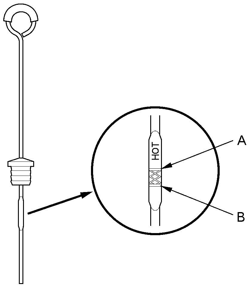
8. If necessary, fill the transmission with the ATF through the dipstick guide opening (A) to bring the fluid level midway between the upper mark and lower mark of the dipstick. Do not fill past the upper mark. Always use Honda ATF DW-1 (ATF-Z1 has been replaced with ATF DW-1, Honda Service News Nov 2010) Automatic Transmission Fluid (ATF). Using a non-Honda ATF can affect shift quality.

pic 3

9. Insert the dipstick back into the transmission.

The fluid should be a pinkish red color.

________________________________

There are other things such as a pressure control switch, clutch pressure control switches and so on. Does this happen in all gears and regardless of engine temp? See pic 4 for pressure switches.

This leads me to the next step. Because of the model year, the vehicles system should be scanned to determine if there are diagnostic trouble codes. The CAN bus system should be scanned to conform issues within any of the computers / modules. CAN stand for computer area network. They are tied together via a few wires. If one fails, this type of scan should pick up on the issue.

Here is a video showing how that is done.

https://youtu.be/InIlnsjOVFA

Let me know.

Joe

Was this
answer
helpful?
Yes
No
Monday, October 12th, 2020 AT 5:54 PM

Please login or register to post a reply.

Related General Content