Module can Bus D Car starts but will not accelerate?

Tiny
ANDRIN ATEM
  • MEMBER
  • 2010 SUZUKI SX4
  • 2.5L
  • 4WD
  • AUTOMATIC
  • 14,567 MILES
Hi Pros, please help me. Car starts but won’t accelerate no matter how long it stays idling. Below are the screen shots.

May I also ask if the Can bus Diagram for modules, to see how modules are meant to be on the area network.

Also, would like the signals from the fuse box to the throttle control body.
Monday, September 30th, 2024 AT 2:12 PM

4 Replies

Tiny
KEN L
  • MASTER CERTIFIED MECHANIC
  • 55,522 POSTS
This is because the car is in limp mode, probably because of a dirty throttle body or a bad accelerator pedal position sensor. This guide can tell you more:

https://www.2carpros.com/articles/reduced-power-limp-mode

I would clear the codes to see if it operates normally for a few seconds, and then when it goes back into limp mode run the codes again, these codes are not directly related to limp mode. Here is a generic guide to help you step by step with instructions in the diagrams below to show you how on your car.

https://www.2carpros.com/articles/throttle-actuator-service

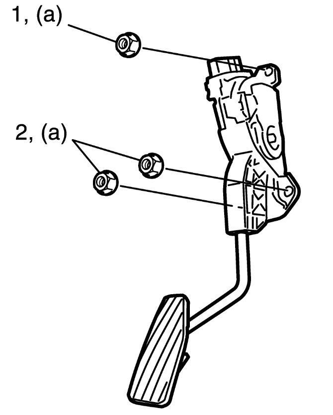
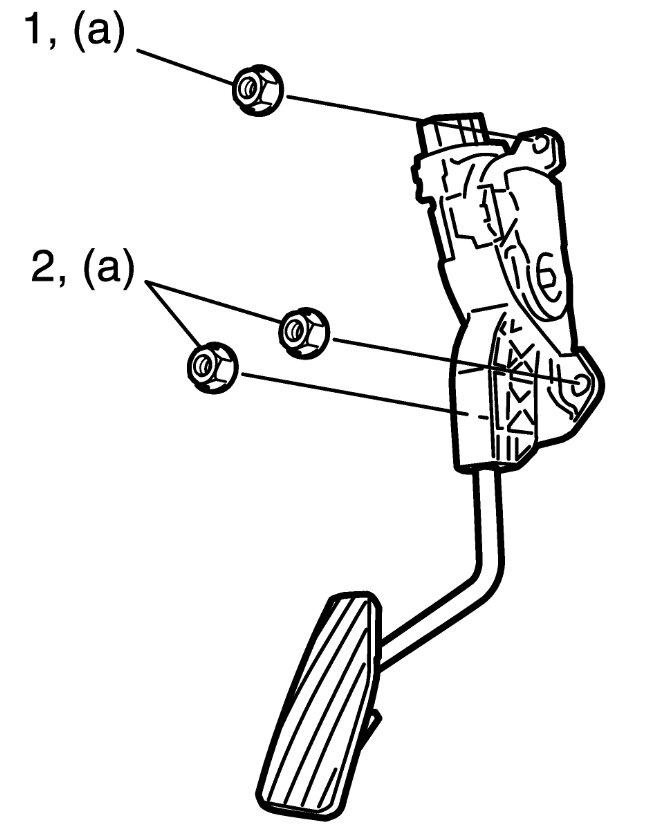
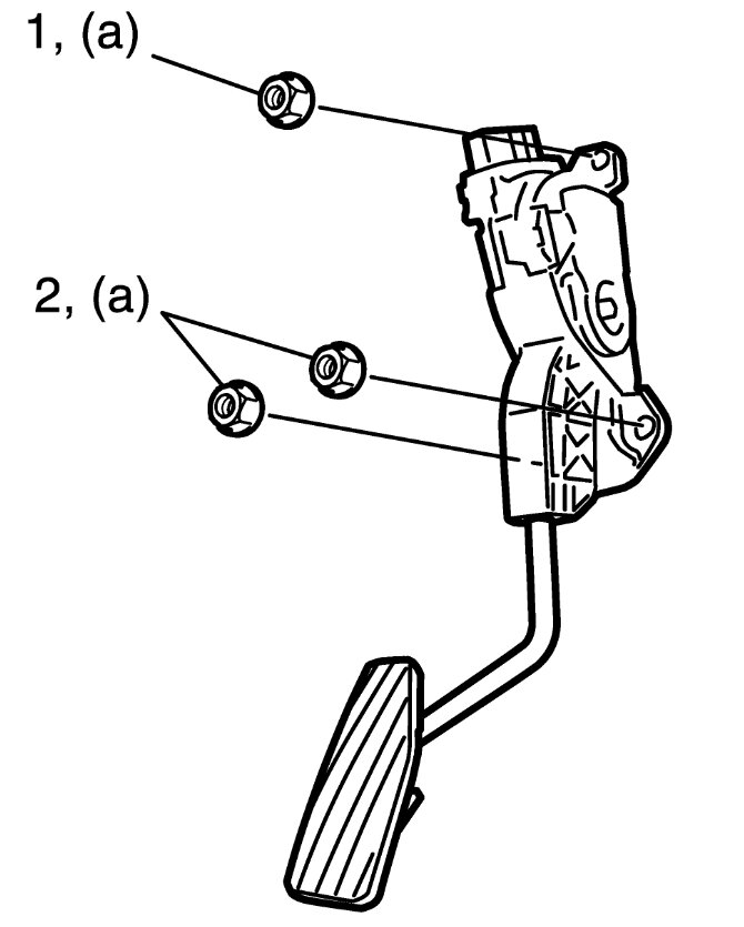
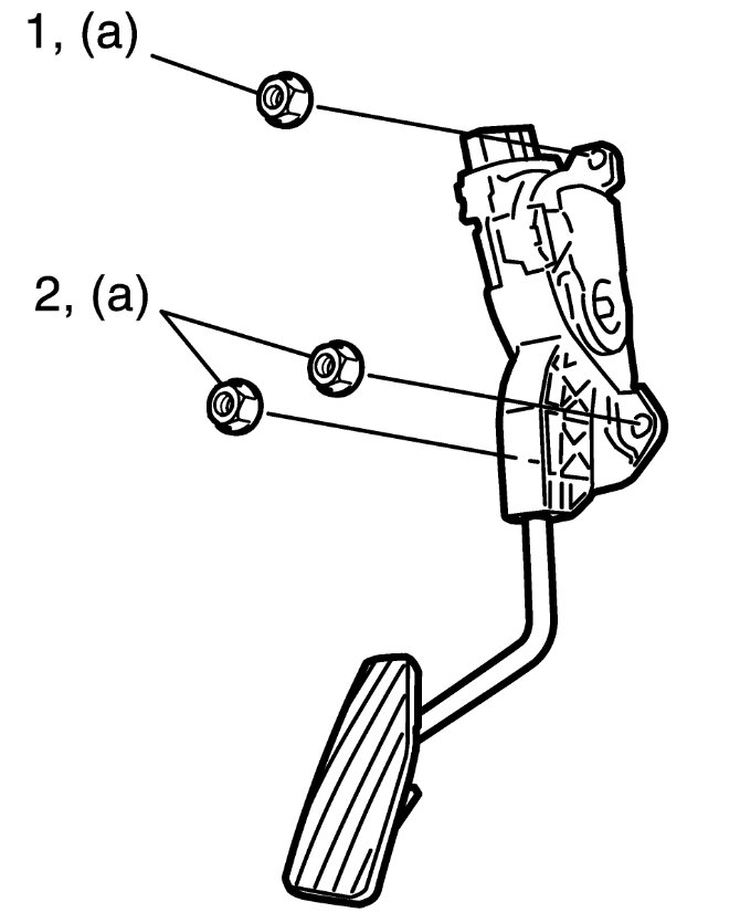
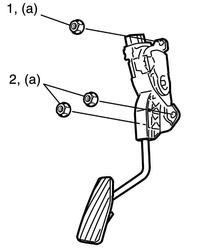
I have also included how to change out the accelerator pedal position sensor which should help with the limp mode, you may have a bad throttle body as well but let's try this first. Check out the images (below). Please let us know what happens.

Was this
answer
helpful?
Yes
No
Tuesday, October 1st, 2024 AT 11:20 AM
Tiny
ANDRIN ATEM
  • MEMBER
  • 422 POSTS
Okay, thank you, your guess might be true about a bad throttle body.
Was this
answer
helpful?
Yes
No
Tuesday, October 1st, 2024 AT 2:12 PM
Tiny
KEN L
  • MASTER CERTIFIED MECHANIC
  • 55,522 POSTS
It seems like it to me, but let me know how it goes, I am interested.
Was this
answer
helpful?
Yes
No
Wednesday, October 2nd, 2024 AT 9:11 AM
Tiny
ANDRIN ATEM
  • MEMBER
  • 422 POSTS
Ok, I will Ken.
Was this
answer
helpful?
Yes
No
Wednesday, October 2nd, 2024 AT 5:58 PM

Please login or register to post a reply.