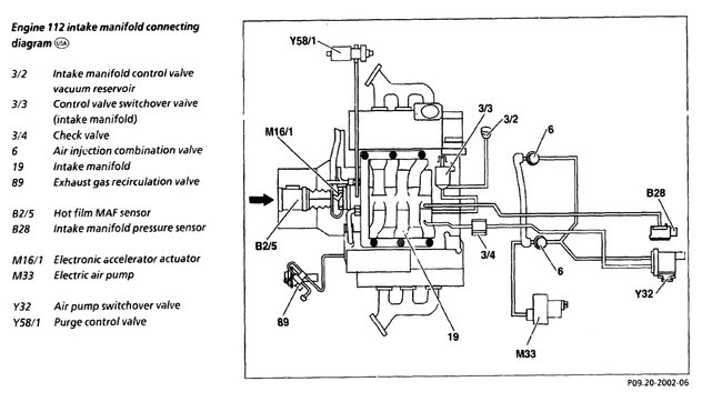
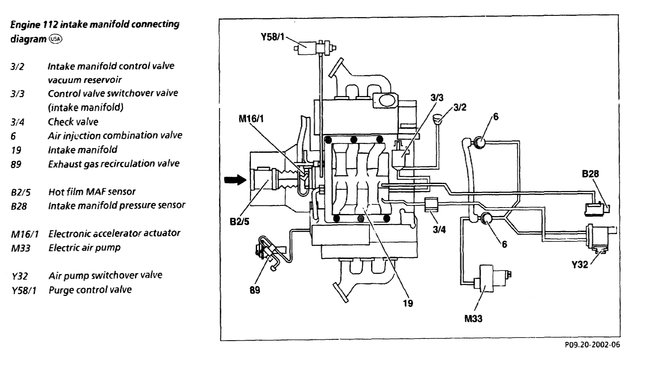
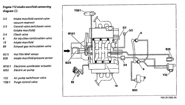
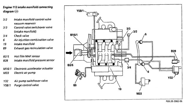
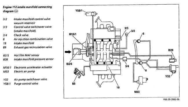
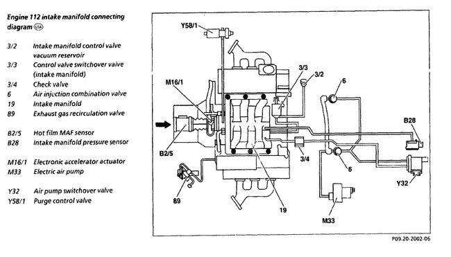
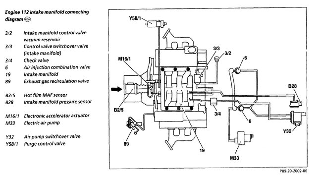
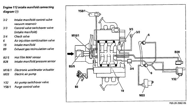
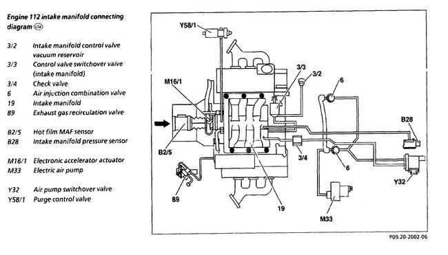
The fan belt broke on my 2000 ML320. After replceing it I found a small "L" shaped vacuum hose (about 1/4") but can't find where it goes. The check engine light came on about 50 miles after replacing the belt. Is there a vacuum hose diagram or can you tell me where to look or where it might belong?
Monday, June 22nd, 2009 AT 8:31 AM



