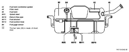
I drove away with the gas nozzle in still in my tank filler hose. Now my car leaks gas. I think I need to replace the filler tube.
I can't find a free manual or a manual at the library and I don't have the money to buy one at the moment.
I need guidance on what the problem could be and help determining if I could fix this myself or if I need to raise money for a mechanic to fix it. Manual pages would be ideal.
I'd donate more if I had more right now. Sorry!
I can't find a free manual or a manual at the library and I don't have the money to buy one at the moment.
I need guidance on what the problem could be and help determining if I could fix this myself or if I need to raise money for a mechanic to fix it. Manual pages would be ideal.
I'd donate more if I had more right now. Sorry!
Dec 20, 2009 at 11:15 AM





