Loud clicking noise from passenger side glove box

Tiny
RAULBURNINGMAN
  • MEMBER
  • 1995 GMC C1500
  • 250,000 MILES
Noise is constant regardless of fan being on or off or heater or air on.

it is loud (two tones) enough to make it to annoying to drive.
Wednesday, June 12th, 2019 AT 4:14 PM

5 Replies

Tiny
ASEMASTER6371
  • MECHANIC
  • 52,796 POSTS
Good evening,

Can you post a video of the noise so I can hear what you hear?

Roy
Was this
answer
helpful?
Yes
No
Wednesday, June 12th, 2019 AT 4:33 PM
Tiny
RAULBURNINGMAN
  • MEMBER
  • 3 POSTS
Does this help?
Was this
answer
helpful?
Yes
No
+3
Wednesday, June 12th, 2019 AT 4:57 PM
Tiny
ASEMASTER6371
  • MECHANIC
  • 52,796 POSTS
Okay, is that coming from behind the glove box?

Have you tried to feel under the dash to see what is making the noise?

Roy
Was this
answer
helpful?
Yes
No
-3
Wednesday, June 12th, 2019 AT 5:00 PM
Tiny
RAULBURNINGMAN
  • MEMBER
  • 3 POSTS
I understand there is a heater door actuator behind the glove box that fails.
But I believe there are two such actuators. One for the direction of heat and one for mixing hot and cold air. My truck changes air flow from defrost to floor to dash.
Was this
answer
helpful?
Yes
No
Wednesday, June 12th, 2019 AT 5:03 PM
Tiny
ASEMASTER6371
  • MECHANIC
  • 52,796 POSTS
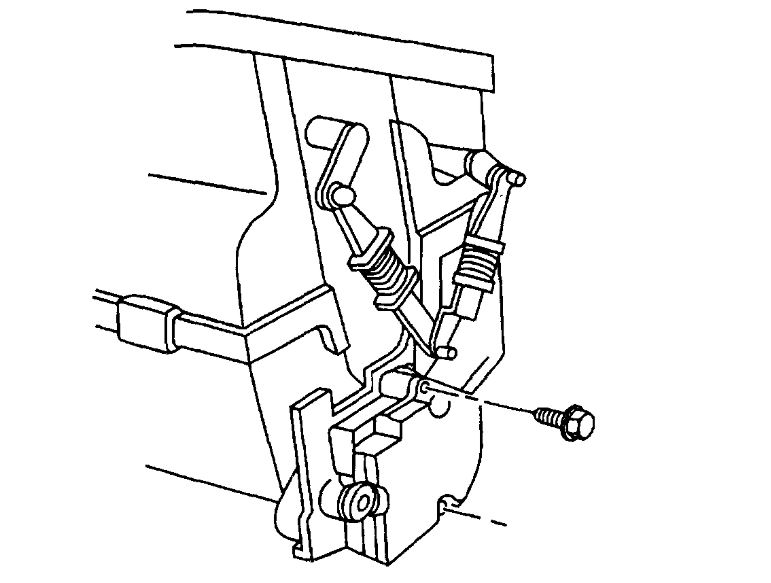
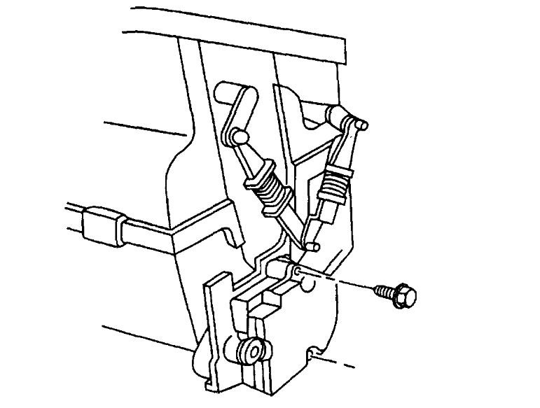
I was thinking that but that is very loud for the actuator.

I attached a picture of the actuator. Unplug the actuator and see if the noise stops.

Roy
Was this
answer
helpful?
Yes
No
Wednesday, June 12th, 2019 AT 5:10 PM

Please login or register to post a reply.