Thursday, June 24th, 2021 AT 3:30 PM
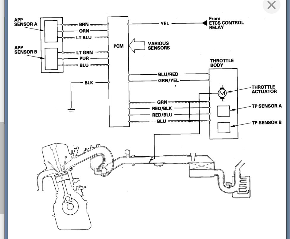
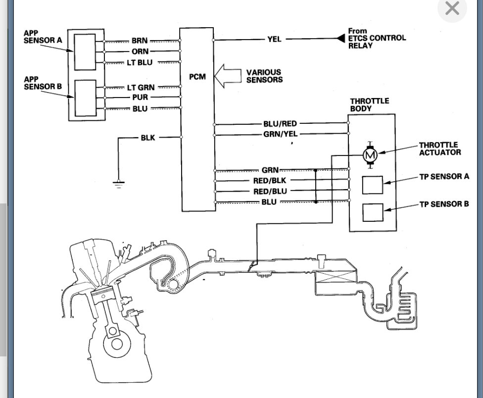
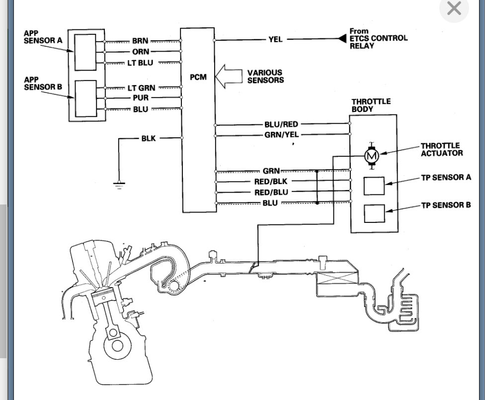
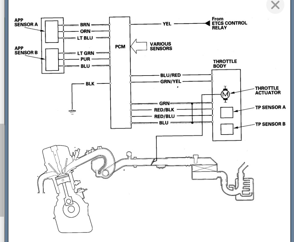
A couple weeks back I was driving my disel 2007 Honda CRV 6 gear manual and I was driving on the link road and I went to over take and I reached 70mph and the it's like my acceleration just stopped working I was pressing on the pedal to have nothing happen so I dropped down to about 50mph and the acceleration just kicked back in again and I have no idea what happen. I don't think it's anything wrong with the gears but I've been worried about going over 60mlh since.



