Locked ignition key and steering wheel

Tiny
LALAPHILLIPS
  • MEMBER
  • 2003 CHEVROLET CAVALIER
  • 4 CYL
  • 2WD
  • AUTOMATIC
  • 190,345 MILES
I locked wheel exiting vehicle wheels turned. Took cover off pushed button freed wheel, key still will not turn.
Saturday, August 11th, 2018 AT 9:28 AM

5 Replies

Tiny
KEN L
  • MASTER CERTIFIED MECHANIC
  • 55,281 POSTS
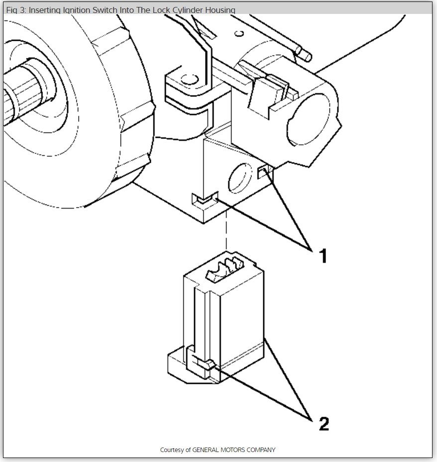
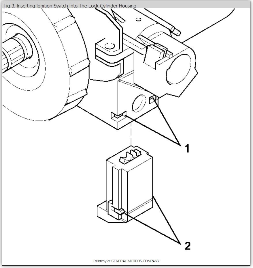
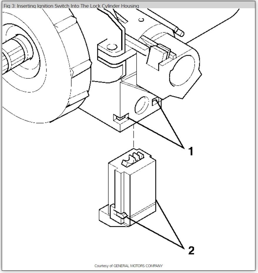
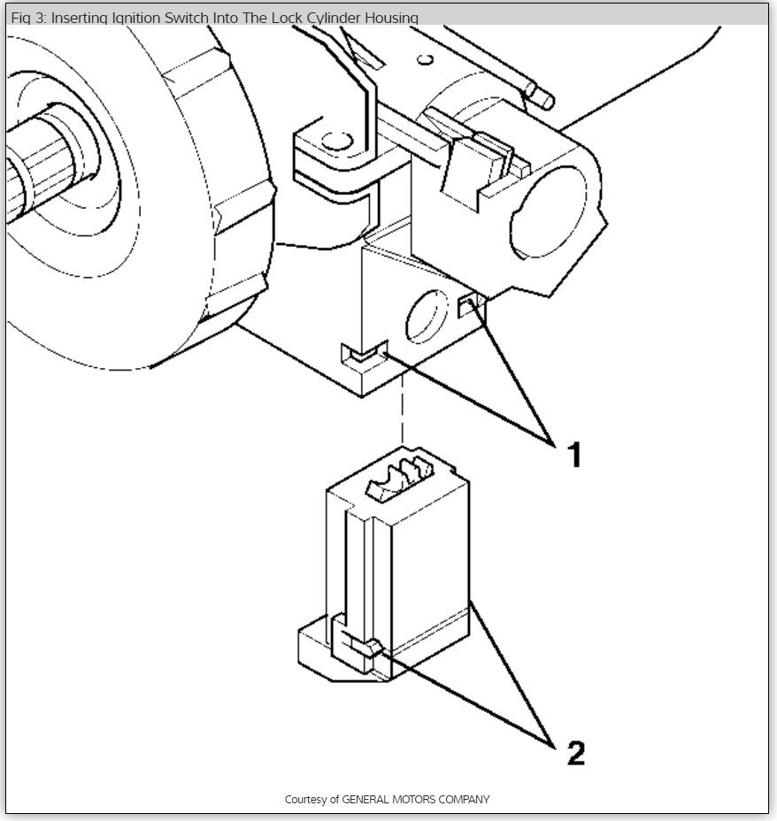
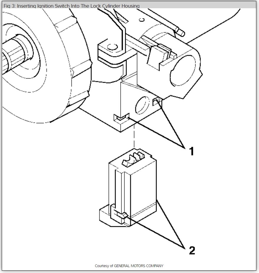
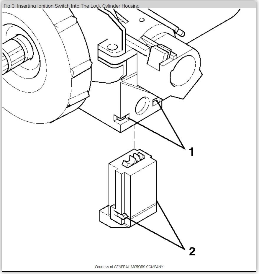
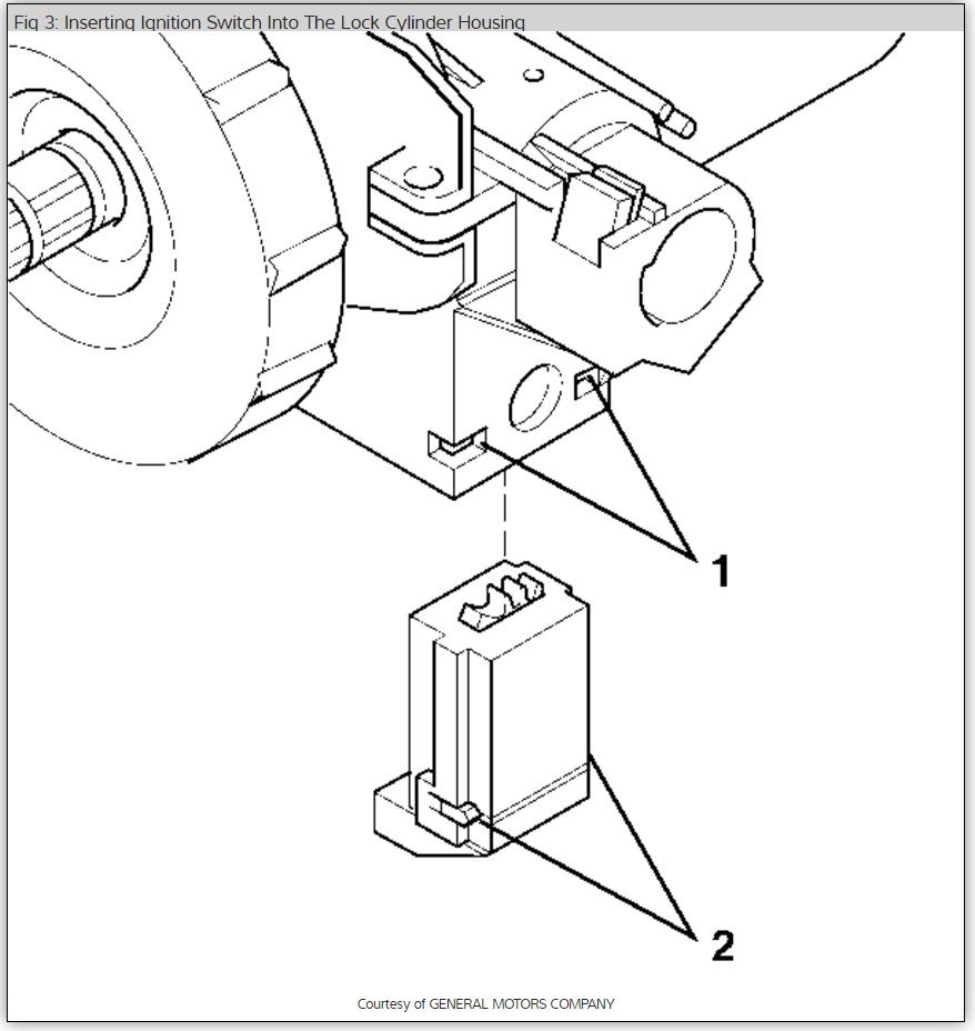
It sounds like the ignition key lock needs to be replaced. You will need to have the key programmed before installing it which the dealer can do. Here are diagrams to help you get he job done. (Below)

Check out the diagrams (below). Please let us know what happens.

Cheers, Ken
Was this
answer
helpful?
Yes
No
+1
Monday, March 22nd, 2021 AT 5:51 PM
Tiny
LALAPHILLIPS
  • MEMBER
  • 3 POSTS
So I have to get key programmed even though there just regular keys?
Was this
answer
helpful?
Yes
No
Monday, March 22nd, 2021 AT 5:51 PM
Tiny
KEN L
  • MASTER CERTIFIED MECHANIC
  • 55,281 POSTS
There is an RF chip in the plastic part of the key so even though you cant see it its in there. So yes you must have it programmed to the car so the security system will disable.
Was this
answer
helpful?
Yes
No
Monday, March 22nd, 2021 AT 5:51 PM
Tiny
LALAPHILLIPS
  • MEMBER
  • 3 POSTS
But my key is all metal I have never had a key with plastic. Did car originally come with one? Today I drilled out cylinder lock and awaiting new one from AutoZone will this even work? The car now has unlocked steering wheel and I was able to move gear shift. But when I tried to start with screwdriver it started and instantly shut off is that due to security system? Will new lock work?
Was this
answer
helpful?
Yes
No
Monday, March 22nd, 2021 AT 5:51 PM
Tiny
KEN L
  • MASTER CERTIFIED MECHANIC
  • 55,281 POSTS
Hmm. The old key was just metal? Is the RF chip taped or glued near the ignition switch? Something was making the security system turn off which usually is the chip. Can you upload images of the key and ignition switch?
Was this
answer
helpful?
Yes
No
Monday, March 22nd, 2021 AT 5:51 PM

Please login or register to post a reply.